破解gh-ost变更导致MySQL表膨胀之谜|得物技术

651 阅读24分钟

一、问题背景

业务同学在 OneDBA 平台进行一次正常 DDL 变更完成后(变更内容跟此次问题无关),发现一些 SQL 开始出现慢查,同时变更后的表比变更前的表存储空间膨胀了几乎 100%。经过分析和流程复现完整还原了整个事件,发现了 MySQL 在平衡 B+tree 页分裂方面遇到单行记录太大时的一些缺陷,整理分享。

为了能更好的说明问题背后的机制,会进行一些关键的“MySQL原理”和“当前DDL变更流程”方面的知识铺垫,熟悉的同学可以跳过。

本次 DDL 变更后带来了如下问题:

  • 变更后,表存储空间膨胀了几乎 100%;
  • 变更后,表统计信息出现了严重偏差;
  • 变更后,部分有排序的 SQL 出现了慢查。

现在来看,表空间膨胀跟统计信息出错是同一个问题导致,而统计信息出错间接导致了部分SQL出现了慢查,下面带着这些问题开始一步步分析找根因。

二、索引结构

B+tree

InnoDB 表是索引组织表,也就是所谓的索引即数据,数据即索引。索引分为聚集索引和二级索引,所有行数据都存储在聚集索引,二级索引存储的是字段值和主键,但不管哪种索引,其结构都是 B+tree 结构。

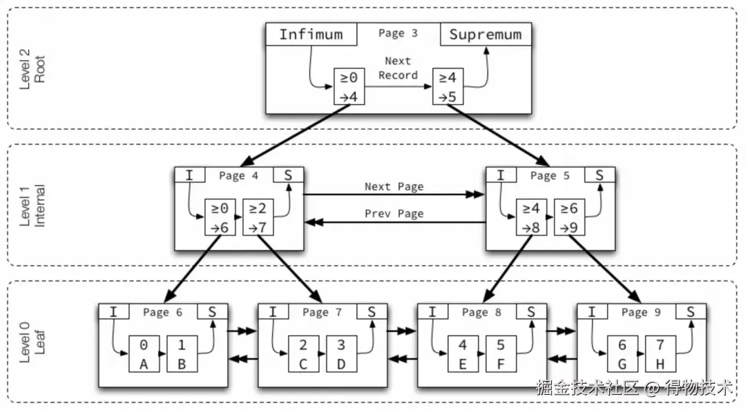
一棵 B+tree 分为根页、非叶子节点和叶子节点,一个简单的示意图(from Jeremy Cole)如下:

由于 InnoDB B+tree 结构高扇区特性,所以每个索引高度基本在 3-5 层之间,层级(Level)从叶子节点的 0 开始编号,沿树向上递增。每层的页面节点之间使用双向链表,前一个指针和后一个指针按key升序排列。

最小存储单位是页,每个页有一个编号,页内的记录使用单向链表,按 key 升序排列。每个数据页中有两个虚拟的行记录,用来限定记录的边界;其中最小值(Infimum)表示小于页面上任何 key 的值,并且始终是单向链表记录列表中的第一个记录;最大值(Supremum)表示大于页面上任何 key 的值,并且始终是单向链表记录列表中的最后一条记录。这两个值在页创建时被建立,并且在任何情况下不会被删除。

非叶子节点页包含子页的最小 key 和子页号,称为“节点指针”。

现在我们知道了我们插入的数据最终根据主键顺序存储在叶子节点(页)里面,可以满足点查和范围查询的需求。

页(page)

默认一个页 16K 大小,且 InnoDB 规定一个页最少能够存储两行数据,这里需要注意规定一个页最少能够存储两行数据是指在空间分配上,并不是说一个页必须要存两行,也可以存一行。

怎么实现一个页必须要能够存储两行记录呢? 当一条记录 <8k 时会存储在当前页内,反之 >8k 时必须溢出存储,当前页只存储溢出页面的地址,需 20 个字节(行格式:Dynamic),这样就能保证一个页肯定能最少存储的下两条记录。

溢出页

当一个记录 >8k 时会循环查找可以溢出存储的字段,text类字段会优先溢出,没有就开始挑选 varchar 类字段,总之这是 InnoDB 内部行为,目前无法干预。

建表时无论是使用 text 类型,还是 varchar 类型,当大小 <8k 时都是存储在当前页,也就是在 B+tree 结构中,只有 >8k 时才会进行溢出存储。

页面分裂

随着表数据的变化,对记录的新增、更新、删除;那么如何在 B+tree 中高效管理动态数据也是一项核心挑战。

MySQL InnoDB 引擎通过页面分裂和页面合并两大关键机制来动态调整存储结构,不仅能确保数据的逻辑完整性和逻辑顺序正确,还能保证数据库的整体性能。这些机制发生于 InnoDB 的 B+tree 索引结构内部,其具体操作是:

  • 页面分裂:当已满的索引页无法容纳新记录时,创建新页并重新分配记录。
  • 页面合并:当页内记录因删除/更新低于阈值时,与相邻页合并以优化空间。

深入理解上述机制至关重要,因为页面的分裂与合并将直接影响存储效率、I/O模式、加锁行为及整体性能。其中页面的分裂一般分为两种:

  • 中间点(mid point)分裂:将原始页面中50%数据移动到新申请页面,这是最普通的分裂方法。
  • 插入点(insert point)分裂:判断本次插入是否递增 or 递减,如果判定为顺序插入,就在当前插入点进行分裂,这里情况细分较多,大部分情况是直接插入到新申请页面,也可能会涉及到已存在记录移动到新页面,有有些特殊情况下还会直接插入老的页面(老页面的记录被移动到新页面)。

表空间管理

InnoDB的B+tree是通过多层结构映射在磁盘上的,从它的逻辑存储结构来看,所有数据都被有逻辑地存放在一个空间中,这个空间就叫做表空间(tablespace)。表空间由段(segment)、区(extent)、页(page)组成,搞这么多手段的唯一目的就是为了降低IO的随机性,保证存储物理上尽可能是顺序的。

三、当前DDL变更机制

在整个数据库平台(OneDBA)构建过程中,MySQL 结构变更模块是核心基础能力,也是研发同学在日常业务迭代过程中使用频率较高的功能之一。

主要围绕对表加字段、加索引、改属性等操作,为了减少这些操作对线上数据库或业务的影响,早期便为 MySQL 结构变更开发了一套基于容器运行的无锁变更程序,核心采用的是全量数据复制+增量 binlog 回放来进行变更,也是业界通用做法(内部代号:dw-osc,基于 GitHub 开源的 ghost 工具二次开发),主要解决的核心问题:

  • 实现无锁化的结构变更,变更过程中不会阻挡业务对表的读写操作。
  • 实现变更不会导致较大主从数据延迟,避免业务从库读取不到数据导致业务故障。
  • 实现同时支持大规模任务变更,使用容器实现使用完即销毁,无变更任务时不占用资源。

变更工具工作原理简单描述 (重要)

重点:

简单理解工具进行 DDL 变更过程中为了保证数据一致性,对于全量数据的复制与 binlog 回放是并行交叉处理,这种机制它有一个特点就是【第三步】会导致新插入的记录可能会先写入到表中(主键 ID 大的记录先写入到了表),然后【第二步】中复制数据后写入到表中(主键 ID 小的记录后写入表)。

这里顺便说一下当前得物结构变更整体架构:由于变更工具的工作原理需消费大量 binlog 日志保证数据一致性,会导致在变更过程中会有大量的带宽占用问题,为了消除带宽占用问题,开发了 Proxy 代理程序,在此基础之上支持了多云商、多区域本地化变更。

目前整体架构图如下:

四、变更后,表为什么膨胀?

原因说明

上面几个关键点铺垫完了,回到第一个问题,这里先直接说明根本原因,后面会阐述一下排查过程(有同学感兴趣所以分享一下,整个过程还是耗费不少时间)。

在『结构变更机制』介绍中,我们发现这种变更机制它有一个特点,就是【第三步】会导致新插入的记录可能会先写入到表中(主键 ID 大的记录先写入到了表),然后【第二步】中复制数据后写入到表中(主键 ID 小的记录)。这种写入特性叠加单行记录过大的时候(业务表单行记录大小 5k 左右),会碰到 MySQL 页分裂的一个瑕疵(暂且称之为瑕疵,或许是一个 Bug),导致了一个页只存储了 1 条记录(16k 的页只存储了 5k,浪费 2/3 空间),放大了存储问题。

流程复现

下面直接复现一下这种现象下导致异常页分裂的过程:

CREATE TABLE `sbtest` (
  `id` int(11) NOT NULL AUTO_INCREMENT,
  `pad` varchar(12000),
  PRIMARY KEY (`id`)
) ENGINE=InnoDB;

然后插入两行 5k 大小的大主键记录(模拟变更时 binlog 回放先插入数据):

insert into sbtest values (10000, repeat('a',5120));
insert into sbtest values (10001, repeat('a',5120));

这里写了一个小工具打印记录对应的 page 号和 heap 号。

# ./peng
[pk:10000] page: 3 -> heap: 2
[pk:10001] page: 3 -> heap: 3

可以看到两条记录都存在 3 号页,此时表只有这一个页。

继续开始顺序插入数据(模拟变更时 copy 全量数据过程),插入 rec-1:

insert into sbtest values (1, repeat('a',5120));
# ./peng
[pk:1] page: 3 -> heap: 4
[pk:10000] page: 3 -> heap: 2
[pk:10001] page: 3 -> heap: 3

插入 rec-2:

insert into sbtest values (2, repeat('a',5120));
# ./peng
[pk:1] page: 4 -> heap: 2
[pk:2] page: 4 -> heap: 3
[pk:10000] page: 5 -> heap: 2
[pk:10001] page: 5 -> heap: 3

可以看到开始分裂了,page 3 被提升为根节点了,同时分裂出两个叶子节点,各自存了两条数据。此时已经形成了一棵 2 层高的树,还是用图表示吧,比较直观,如下:

插入 rec-3:

insert into sbtest values (3, repeat('a',5120));
# ./peng
[pk:1] page: 4 -> heap: 2
[pk:2] page: 4 -> heap: 3
[pk:3] page: 5 -> heap: 4
[pk:10000] page: 5 -> heap: 2
[pk:10001] page: 5 -> heap: 3

示意图如下:

插入 rec-4:

insert into sbtest values (4, repeat('a',5120));
# ./peng
[pk:1] page: 4 -> heap: 2
[pk:2] page: 4 -> heap: 3
[pk:3] page: 5 -> heap: 4
[pk:4] page: 5 -> heap: 3
[pk:10000] page: 5 -> heap: 2
[pk:10001] page: 6 -> heap: 2

这里开始分裂一个新页 page 6,开始出现比较复杂的情况,同时也为后面分裂导致一个页只有 1 条数据埋下伏笔:

这里可以看到把 10001 这条记录从 page 5 上面迁移到了新建的 page 6 上面(老的 page 5 中会删除 10001 这条记录,并放入到删除链表中),而把当前插入的 rec-4 插入到了原来的 page 5 上面,这个处理逻辑在代码中是一个特殊处理,向右分裂时,当插入点页面前面有大于等于两条记录时,会设置分裂记录为 10001,所以把它迁移到了 page 6,同时会把当前插入记录插入到原 page 5。具体可以看 btr_page_get_split_rec_to_right 函数。

/* 这里返回true表示将行记录向右分裂:即分配的新page的hint_page_no为原page+1 */
ibool btr_page_get_split_rec_to_right(
/*============================*/
        btr_cur_t*        cursor,
        rec_t**           split_rec)
{
  page_t*        page;
  rec_t*        insert_point;
  
  // 获取当前游标页和insert_point
  page = btr_cur_get_page(cursor);
  insert_point = btr_cur_get_rec(cursor);
  
  /* 使用启发式方法:如果新的插入操作紧跟在同一页面上的前一个插入操作之后,
     我们假设这里存在一个顺序插入的模式。 */
  
  // PAGE_LAST_INSERT代表上次插入位置,insert_point代表小于等于待插入目标记录的最大记录位置
  // 如果PAGE_LAST_INSERT=insert_point意味着本次待插入的记录是紧接着上次已插入的记录,
  // 这是一种顺序插入模式,一旦判定是顺序插入,必然反回true,向右分裂
  if (page_header_get_ptr(page, PAGE_LAST_INSERT) == insert_point) {
    // 1. 获取当前insert_point的page内的下一条记录,并判断是否是supremum记录
    // 2. 如果不是,继续判断当前insert_point的下下条记录是否是supremum记录
    // 也就是说,会向后看两条记录,这两条记录有一条为supremum记录,
    // split_rec都会被设置为NULL,向右分裂
    rec_t*        next_rec;
    next_rec = page_rec_get_next(insert_point);
    
    if (page_rec_is_supremum(next_rec)) {
    split_at_new:
      /* split_rec为NULL表示从新插入的记录开始分裂,插入到新页 */
      *split_rec = nullptr;
    } else {
      rec_t* next_next_rec = page_rec_get_next(next_rec);
      if (page_rec_is_supremum(next_next_rec)) {
        goto split_at_new;
      }
      
      /* 如果不是supremum记录,则设置拆分记录为下下条记录 */


      /* 这样做的目的是,如果从插入点开始向上有 >= 2 条用户记录,
         我们在该页上保留 1 条记录,因为这样后面的顺序插入就可以使用
         自适应哈希索引,因为它们只需查看此页面上的记录即可对正确的
         搜索位置进行必要的检查 */
      
      *split_rec = next_next_rec;
    }
    
    return true;
  }
  
  return false;
}

插入 rec-5:

insert into sbtest values (5, repeat('a',5120));
# ./peng
[pk:1] page: 4 -> heap: 2
[pk:2] page: 4 -> heap: 3
[pk:3] page: 5 -> heap: 4
[pk:4] page: 5 -> heap: 3
[pk:5] page: 7 -> heap: 3
[pk:10000] page: 7 -> heap: 2
[pk:10001] page: 6 -> heap: 2

开始分裂一个新页 page 7,新的组织结构方式如下图:

此时是一个正常的插入点右分裂机制,把老的 page 5 中的记录 10000 都移动到了 page 7,并且新插入的 rec-5 也写入到了 page 7 中。到此时看上去一切正常,接下来再插入记录在当前这种结构下就会产生异常。

插入 rec-6:

insert into sbtest values (5, repeat('a',5120));
# ./peng
[pk:1] page: 4 -> heap: 2
[pk:2] page: 4 -> heap: 3
[pk:3] page: 5 -> heap: 4
[pk:4] page: 5 -> heap: 3
[pk:5] page: 7 -> heap: 3
[pk:6] page: 8 -> heap: 3
[pk:10000] page: 8 -> heap: 2
[pk:10001] page: 6 -> heap: 2

此时也是一个正常的插入点右分裂机制,把老的 page 7 中的记录 10000 都移动到了 page 8,并且新插入的 rec-6 也写入到了 page 8 中,但是我们可以发现 page 7 中只有一条孤零零的 rec-5 了,一个页只存储了一条记录。

按照代码中正常的插入点右分裂机制,继续插入 rec-7 会导致 rec-6 成为一个单页、插入 rec-8 又会导致 rec-7 成为一个单页,一直这样循环下去。

目前来看就是在插入 rec-4,触发了一个内部优化策略(具体优化没太去研究),进行了一些特殊的记录迁移和插入动作,当然跟记录过大也有很大关系。

排查过程

有同学对这个问题排查过程比较感兴趣,所以这里也整理分享一下,简化了一些无用信息,仅供参考。

表总行数在 400 百万,正常情况下的大小在 33G 左右,变更之后的大小在 67G 左右。

  • 首先根据备份恢复了一个数据库现场出来。
  • 统计了业务表行大小,发现行基本偏大,在 4-7k 之间(一个页只存了2行,浪费1/3空间)。
  • 分析了变更前后的表数据页,以及每个页存储多少行数据。
    • 发现变更之前数据页大概 200 百万,变更之后 400 百万,解释了存储翻倍。
    • 发现变更之前存储 1 行的页基本没有,变更之后存储 1 行的页接近 400 百万。

基于现在这些信息我们知道了存储翻倍的根本原因,就是之前一个页存储 2 条记录,现在一个页只存储了 1 条记录,新的问题来了,为什么变更后会存储 1 条记录,继续寻找答案。

  • 我们首先在备份恢复的实例上面进行了一次静态变更,就是变更期间没有新的 DML 操作,没有复现。但说明了一个问题,异常跟增量有关,此时大概知道跟变更过程中的 binlog 回放特性有关【上面说的回放会导致主键 ID 大的记录先写入表中】。
  • 写了个工具把 400 百万数据每条记录分布在哪个页里面,以及页里面的记录对应的 heap 是什么都记录到数据库表中分析,慢长等待跑数据。

  • 数据分析完后通过分析发现存储一条数据的页对应的记录的 heap 值基本都是 3,正常应该是 2,意味着这些页并不是一开始就存一条数据,而是产生了页分裂导致的。
  • 开始继续再看页分裂相关的资料和代码,列出页分裂的各种情况,结合上面的信息构建了一个复现环境。插入数据页分裂核心函数。
    • btr_cur_optimistic_insert:乐观插入数据,当前页直接存储
    • btr_cur_pessimistic_insert:悲观插入数据,开始分裂页
    • btr_root_raise_and_insert:单独处理根节点的分裂
    • btr_page_split_and_insert:分裂普通页,所有流程都在这个函数
    • btr_page_get_split_rec_to_right:判断是否是向右分裂
    • btr_page_get_split_rec_to_left:判断是否是向左分裂

heap

heap 是页里面的一个概念,用来标记记录在页里面的相对位置,页里面的第一条用户记录一般是 2,而 0 和 1 默认分配给了最大最小虚拟记录,在页面创建的时候就初始化好了,最大最小记录上面有简单介绍。

解析 ibd 文件

更快的方式还是应该分析物理 ibd 文件,能够解析出页的具体数据,以及被分裂删除的数据,分裂就是把一个页里面的部分记录移动到新的页,然后删除老的记录,但不会真正删除,而是移动到页里面的一个删除链表,后面可以复用。

五、变更后,统计信息为什么差异巨大?

表统计信息主要涉及索引基数统计(也就是唯一值的数量),主键索引的基数统计也就是表行数,在优化器进行成本估算时有些 SQL 条件会使用索引基数进行抉择索引选择(大部分情况是 index dive 方式估算扫描行数)。

InnoDB 统计信息收集算法简单理解就是采样叶子节点 N 个页(默认 20 个页),扫描统计每个页的唯一值数量,N 个页的唯一值数量累加,然后除以N得到单个页平均唯一值数量,再乘以表的总页面数量就估算出了索引总的唯一值数量。

但是当一个页只有 1 条数据的时候统计信息会产生严重偏差(上面已经分析出了表膨胀的原因就是一个页只存储了 1 条记录),主要是代码里面有个优化逻辑,对单个页的唯一值进行了减 1 操作,具体描述如下注释。本来一个页面就只有 1 条记录,再进行减 1 操作就变成 0 了,根据上面的公式得到的索引总唯一值就偏差非常大了。

static bool dict_stats_analyze_index_for_n_prefix(
    ...
    // 记录页唯一key数量
    uint64_t n_diff_on_leaf_page;
    
    // 开始进行dive,获取n_diff_on_leaf_page的值
    dict_stats_analyze_index_below_cur(pcur.get_btr_cur(), n_prefix,
                                       &n_diff_on_leaf_page, &n_external_pages);
    
    /* 为了避免相邻两次dive统计到连续的相同的两个数据,因此减1进行修正。
    一次是某个页面的最后一个值,一次是另一个页面的第一个值。请考虑以下示例:
    Leaf level:
    page: (2,2,2,2,3,3)
    ... 许多页面类似于 (3,3,3,3,3,3)...
    page: (3,3,3,3,5,5)
    ... 许多页面类似于 (5,5,5,5,5,5)...
    page: (5,5,5,5,8,8)
    page: (8,8,8,8,9,9)
    我们的算法会(正确地)估计平均每页有 2 条不同的记录。
    由于有 4 页 non-boring 记录,它会(错误地)将不同记录的数量估计为 8 条
    */ 
    if (n_diff_on_leaf_page > 0) {
      n_diff_on_leaf_page--;
    }
    
    // 更新数据,在所有分析的页面上发现的不同键值数量的累计总和
    n_diff_data->n_diff_all_analyzed_pages += n_diff_on_leaf_page;
)

可以看到PRIMARY主键异常情况下统计数据只有 20 万,表有 400 百万数据。正常情况下主键统计数据有 200 百万,也与表实际行数差异较大,同样是因为单个页面行数太少(正常情况大部分也只有2条数据),再进行减1操作后,导致统计也不准确。

MySQL> select table_name,index_name,stat_value,sample_size from mysql.innodb_index_stats where database_name like 'sbtest' and TABLE_NAME like 'table_1' and stat_name='n_diff_pfx01';
+-------------------+--------------------------------------------+------------+-------------+
| table_name        | index_name                                 | stat_value | sample_size |
+-------------------+--------------------------------------------+------------+-------------+
| table_1           | PRIMARY                                    |     206508 |          20 |
+-------------------+--------------------------------------------+------------+-------------+
11 rows in set (0.00 sec)

优化

为了避免相邻两次dive统计到连续的相同的两个数据,因此减1进行修正。

这里应该是可以优化的,对于主键来说是不是可以判断只有一个字段时不需要进行减1操作,会导致表行数统计非常不准确,毕竟相邻页不会数据重叠。

最低限度也需要判断单个页只有一条数据时不需要减1操作。

六、统计信息与慢SQL之间的关联关系?

当前 MySQL 对大部分 SQL 在评估扫描行数时都不再依赖统计信息数据,而是通过一种 index dive 采样算法实时获取大概需要扫描的数据,这种方式的缺点就是成本略高,所以也提供有参数来控制某些 SQL 是走 index dive 还是直接使用统计数据。

另外在SQL带有 order by field limit 时会触发MySQL内部的一个关于 prefer_ordering_index 的 ORDER BY 优化,在该优化中,会比较使用有序索引和无序索引的代价,谁低用谁。

当时业务有问题的慢 SQL 就是被这个优化干扰了。

# where条件
user_id = ? and biz = ? and is_del = ? and status in (?) ORDER BY modify_time limit 5


# 表索引
idx_modify_time(`modify_time`)
idx_user_biz_del(`user_id`,`biz`, `is_del`)

正常走 idx_user_biz_del 索引为过滤性最好,但需要对 modify_time 字段进行排序。

这个优化机制就是想尝试走 idx_modify_time 索引,走有序索引想避免排序,然后套了一个公式来预估如果走 idx_modify_time 有序索引大概需要扫描多少行?公式非常简单直接:表总行数 / 最优索引的扫描行数 * limit。

  • 表总行数:也就是统计信息里面主键的 n_rows
  • 最优索引的扫描行数:也就是走 idx_user_biz_del 索引需要扫描的行数
  • limit:也就是 SQL 语句里面的 limit 值

使用有序索引预估的行数对比最优索引的扫描行数来决定使用谁,在这种改变索引的策略下,如果表的总行数估计较低(就是上面主键的统计值),会导致更倾向于选择有序索引。

但一个最重要的因素被 MySQL 忽略了,就是实际业务数据分布并不是按它给的这种公式来,往往需要扫描很多数据才能满足 limit 值,造成慢 SQL。

七、如何临时解决该问题?

发现问题后,可控的情况下选择在低峰期对表执行原生 alter table xxx engine=innodb 语句, MySQL 内部重新整理了表空间数据,相关问题恢复正常。但这个原生 DDL 语句,虽然变更不会产生锁表,但该语句无法限速,同时也会导致主从数据较大延迟。

为什么原生 DDL 语句可以解决该问题?看两者在流程上的对比区别。

alter table xxx engine=innodb变更流程当前工具结构变更流程
1. 建临时表:在目标数据库中创建与原表结构相同的临时表用于数据拷贝。
  1. 拷贝全量数据:将目标表中的全量数据同步至临时表。
  2. 增量DML临时存储在一个缓冲区内。
  3. 全量数据复制完成后,开始应用增量DML日志。
  4. 切换新旧表:重命名原表作为备份,再用临时表替换原表。
  5. 变更完成 | 1. 创建临时表:在目标数据库中创建与原表结构相同的临时表用于数据拷贝。
  6. 拷贝全量数据:将目标表中的全量数据同步至临时表。
  7. 解析Binlog并同步增量数据: 将目标表中的增量数据同步至临时表。
  8. 切换新旧表:重命名原表作为备份,再用临时表替换原表。
  9. 变更完成 |

可以看出结构变更唯一不同的就是增量 DML 语句是等全量数据复制完成后才开始应用,所以能修复表空间,没有导致表膨胀。

八、如何长期解决该问题?

关于业务侧的改造这里不做过多说明,我们看看从变更流程上面是否可以避免这个问题。

既然在变更过程中复制全量数据和 binlog 增量数据回放存在交叉并行执行的可能,那么如果我们先执行全量数据复制,然后再进行增量 binlog 回放是不是就可以绕过这个页分裂问题(就变成了跟 MySQL 原生 DDL 一样的流程)。

变更工具实际改动如下图:

这样就不存在最大记录先插入到表中的问题,丢弃的记录后续全量复制也同样会把记录复制到临时表中。并且这个优化还能解决需要大量回放 binlog 问题,细节可以看看 gh-ost 的 PR-1378。

九、总结

本文先介绍了一些关于 InnoDB 索引机制和页溢出、页分裂方面的知识;介绍了业界通用的 DDL 变更工具流程原理。

随后详细分析了变更后表空间膨胀问题根因,主要是当前变更流程机制叠加单行记录过大的时候(业务表单行记录大小 5k 左右),会碰到 MySQL 页分裂的一个瑕疵,导致了一个页只存储了 1 条记录(16k 的页只存储了 5k,浪费 2/3 空间),导致存储空间膨胀问题。

最后分析了统计信息出错的原因和统计信息出错与慢 SQL 之间的关联关系,以及解决方案。

全文完,感谢阅读。

往期回顾

  1. MySQL单表为何别超2000万行?揭秘B+树与16KB页的生死博弈|得物技术

  2. 0基础带你精通Java对象序列化--以Hessian为例|得物技术

  3. 前端日志回捞系统的性能优化实践|得物技术

  4. 得物灵犀搜索推荐词分发平台演进3.0

  5. R8疑难杂症分析实战:外联优化设计缺陷引起的崩溃|得物技术

文 / 东青

关注得物技术,每周更新技术干货

要是觉得文章对你有帮助的话,欢迎评论转发点赞~

未经得物技术许可严禁转载,否则依法追究法律责任。