应急响应:某网站被挂非法链接

90 阅读7分钟

事件概况

最近应急,遇到一起官网非法链接事件。如下图所示,使用百度搜索引擎语法site:www.网站域名 搜索某关键字,会出现一堆结果。并且只有百度搜索引擎可以搜索出来,其他的都没有记录。

挨个点开,都是404,最近的一条是8.15的。

到现场后,先建议工作人员分批进行用户反馈,期望百度能够尽快删除搜索结果,将负面影响降低到最小,之后着手应急。

既然是挂链接,又是404,说明在百度爬虫收录之后,链接原文已经被删除。作案者相当谨慎,估计是下次接到活儿还想如法炮制。现场资产情况是:

  • Windows Server 2016

  • IIS 10

  • Microsoft Sql Server 2008

  • WAF

排查角度有两个,一是服务器被入侵了,这是最糟糕的结果,二是网站本身存在漏洞,作案者直接操作网站后台发的文。

上机排查

登录服务器,看到桌面还算整洁,与运维人员核实,安装的软件也都正常。查看服务器上仅有的安全防护措施——卡巴斯基,未发现活动威胁,情况还算可以。

翻看卡巴斯基防护日志,并没有异常行为告警,只有一条漏洞利用防御的记录,还是告警的D盾。

将D盾拿上服务器,逐一翻看一遍,并没有发现异常,IIS模块都是正常运行。

排查到这里基本可以排除服务器被入侵的可能了。然后,有效的安全设备仅有一台WAF,登录上去看看与该网站相关的日志。

看到很多发文异常的告警,但仅仅是告警,没有阻断,估计是不允许影响业务。

从这条告警来猜测,网站有可能存在编辑器漏洞,kindeditor。但也就这些告警,没有参考价值,因为响应结果记录为空。

既然没有入侵服务器,没有植入马儿,那就还是通过网站操作来发布的文章。所以下面的排查思路是跟踪文章的发布和删除时间,以及发布者账号、登录IP等等。

联系软件开发公司的人,询问文章删除逻辑:

顿时感觉这套系统开发的好随意,文章说删就删了,真的删了,没有给追踪溯源留下一丝余地。接下来怎么办?看看web日志吧。

web日志

web日志分为两种,一种以ex开头,记录的是爬虫行为,文件普遍偏小,另一种以nc开头,记录的是网站的访问日志,文件普遍偏大。

根据“Baiduspider”关键字搜索百度爬虫的时间。

302太多,只需要200的,并且加上大概的时间范围:

记录还是太多。询问开发人员有没有url白名单,不出所料,回复依然是“不知道”。如此一来,从百度收录时间入手排查的思路就断了。然后怎么办?看看访问日志吧,根据访问数量筛选一下。

果然,有一个IP的访问数量特别多,针对这个IP筛选一下。

访问时间大多在凌晨一两点,且url多数和kindeditor有关,着实可疑。然后根据这个IP查一下登录账号:

只有寥寥几条,应该是只供页面展示用,而且不支持下一页查询。既然开发不给力,那就只有自己登录数据库查询了。

Database

登录之后翻看表空间,首先看到一张User表,本能地打开。看到loginPwd列,自然是存储的密码,不过,再仔细瞧瞧这些记录,16位的MD5啊!

继续翻看发现,怎么有几个相同的MD5值?难不成是初始密码还没改。

把这几个相同的MD5拿出来解密一下:

解出来了,又是一个MD5,再次解密:

出来了,弱口令,111。用户密码的加密规则是两次MD5处理。以这个密码为查询条件筛选一下用户,好家伙,总共6个人都是用的这个密码。

在其中随便找个账号查询其近两个月的登录记录:

果然,8.11登录过,而且是外省地址。回看百度爬虫收录时间是8.15,从发文到被爬取用了4天时间,符合爬虫效率。

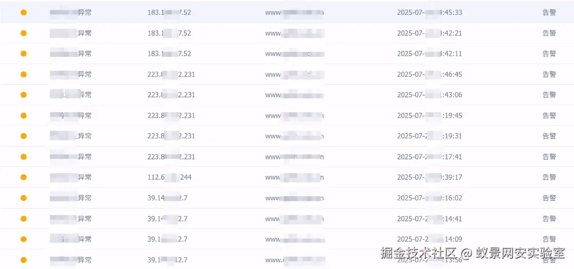
之后再去除源地址转换、出口IP地址、IPv6地址,筛选所有弱口令账号近三月的登录日志,共53条。

经分析发现其中一个账号存在多地点多IP登录的情况,且登录IP中有多个为恶意IP,下图是其一。

用其账号登录网站后台管理系统,瞬间一目了然:

账号权限包括发布文章、修改文章、删除文章......一应俱全。

总结两点

  • 说一千道一万的是弱口令,屡禁不止的是弱口令,明知故犯的还是弱口令。

  • 应急是个综合性很强的活儿,有时候不需要多么高超的技术,像这次,我就当了一把系统运维和数据库运维。