征程 6X OTA升级端介绍

176 阅读4分钟

征程 6X 对外提供 libupdate.so,其中包含升级所需 API, API 定义请参考对外文档。

01 ota_tool 使用

ota_tool 是使用 libupdate.so API 实现的一个工具,用于板端手动发起 OTA 升级。ota_tool 可作为 OTA Service 开发时的 Sample 参考,代码位于 hbre/otaupdate/src/ota_tool。

ota_tool Usage:

-v, --version get this library’s version,

system version,

antirollback version

-b, --boot check ota update status when boot.

-s, --setpartition [partition] set A/B slot partition, 0–A; 1–B.

-g, --getpartition get A/B slot partition, 0–A; 1–B.

-p, --package [package_path] specify the path of package, the package paths can be relative or absolute, it’s length must be smaller than 64 bytes.

-n, --noreboot request ota without reboot.

-c, --checksign signature check.

-i, --signature signature information file.

-h, --help Display this help screen.

使用 ota_tool 进行升级前,需要将 OTA 升级包上传至板端。

参数介绍:

  • -h 用于获取帮助信息

  • -v 用于获取 libupdate.so 版本、当前系统软件版本、antirollback 版本

  • -b 用于启动升级结果检查(系统启动后会自动启动,用户无需关心)

  • -s 设置下次启动 A/B slot

  • -g 获取当前 A/B slot

  • -p 指定升级包

  • -n 升级成功后不自动重启

  • -c 使能签名检查

  • -i 指定签名文件(必须跟在-p 后面)

举例:

ota_tool -p all_in_one_full.zip

02 ota_tool 实现

ota_tool 使用 C 语言实现,源码仅 otainterface.c 一个文件。实现了获取系统软件版本、升级结果检查、设置/获取 ab slot、OTA 升级、强制升级、OTA 包签名校验等功能。

若-c 参数传入,则使用传入的签名文件对升级包进行签名校验。

最后,调用 ota_update_all_img 启动升级。

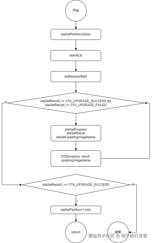
03 ota_update_all_img

static int32_t ota_update_all_img(const char *zip_path)
{
int32_t progress = 0;
uint8_t slot = 0;
uint8_t next_slot = 0;
int32_t ret = 0;
ota_update_result_e result = 0;
char part_name[ARRAY_32] = { 0 };
ret = otaGetPartition(&slot);
if (ret < 0) {
return ret;
}
if (slot == 2) {
next_slot = 0;
printf(“The slot [%d] to be burned\n”, next_slot);
} else {
next_slot = 1 - slot;
printf(“The slot [%d] to be burned\n”, next_slot);
}
ret = otaInitLib();
if (ret < 0) {
printf(“error:init failed!\n”);
return ret;
}
ret = otaRequestStart(zip_path, OTA_TOOL);
if (ret < 0) {
printf(“error: start ota update failed!\n”);
ret = -1;
goto err;
}
while (otaGetResult() != OTA_UPGRADE_SUCCESS && otaGetResult() != OTA_UPGRADE_FAILED) {
progress = otaGetProgress();
result = otaGetResult();
otaGetUpdatingImageName(part_name, sizeof(part_name));
if (result == UPGRADE_FAILED) {
printf(“error: ota update failed!\n”);
ret = -1;
break;
}
OTA_show_Process_Bar(part_name, progress,
“OTA is upgrading …”);
usleep(100 * 1000);
}

err:
if (otaGetResult() == OTA_UPGRADE_SUCCESS) {
ret = otaSetPartition(next_slot);
if (ret < 0) {
printf(“error: set partition failed!\n”);
return ret;
}
if (g_is_reboot == true) {
printf(“reboot system!\n”);
ota_system_exe(“reboot”);
} else {
printf(“ota update success and waiting for reboot!\n”);
}
}
otaDeinitLib();
return ret;
}
  1. 调用 otaGetPartition 获取当前所在 ab slot

  2. 调用 otaInitLib 初始化 libupdate.so

  3. 调用 otaRequestStart 并传入升级包和 owner(OTA_TOOL),开始升级

  4. 等待 otaGetResult 的结果为 OTA_UPGRADE_SUCCESSOTA_UPGRADE_FAILED 。等待过程中,调用 otaGetProgressotaGetResultotaGetUpdatingImageName 获取升级进度、升级结果、正在升级的镜像,并调用 OTA_show_Process_Bar 打印到控制台

  5. 若升级结果 otaGetResultOTA_UPGRADE_SUCCESS ,则认为升级成功,调用 otaSetPartition 设置 ab slot 到对向 slot ,然后重启 SoC

    Description

升级流程结束重启后,应启动 ota_tool -b 对升级结果进行检查校验,并进行后续操作。

04 ota_boot_check

征程 6 启动后,会启动一个 hobot-otatool.service 服务,该服务调用了 ota_tool -b ,该选项会检查 /ota/ota_tool_force_upgrade 文件是否存在,若存在,则进入升级流程(该进程会重新调用升级命令)。若该文件不存在,则进入升级校验流程 ota_boot_check。

int32_t ota_boot_check(void)
{
int32_t ret = 0;
enum ota_update_owner owner = 0;
if ((ret = otaInitLib()) != 0) {
printf(“error: init failed!\n”);
goto exit;
}
if ((ret = otaGetOwnerFlag(&owner)) != 0) {
printf(“error: Get owner flag failed!\n”);
goto exit;
}
if (owner == NORMAL_BOOT) {
printf(“Normal boot\n”);
if ((ret = otaMarkOTASuccessful()) != 0) {
printf(“error: mark boot success failed\n”);
}
return ret;
}
if (owner != OTA_TOOL) {
printf(“ota_tool is not owner, owner is [%d]\n”, owner);
return 0;
}
if ((ret = otaCheckUpdate()) != 0) {
printf(“error: boot check failed\n”);
goto exit;
}
if ((ret = otaMarkOTASuccessful()) != 0) {
printf(“error: mark boot success failed\n”);
goto exit;
}
if ((ret = otaPartitionSync()) != 0) {
printf(“error: partition sync failed\n”);
goto exit;
}
ret = otaDeinitLib();

exit:
otaClearFlags();
return ret;
}
  1. 调用 otaInitLib
  2. 调用 otaGetOwnerFlag 获取升级 owner
  3. 若 owner 为 NORMAL_BOOT ,则调用 otaMarkOTASuccessful 标记启动成功,然后退出。
  4. 若 owner 不为 OTA_TOOL ,则正常退出。
  5. 调用 otaCheckUpdate 获取升级结果。若升级结果异常,则调用 otaClearFlags 清除 OTA 标记,终止 OTA 流程。
  6. 调用 otaMarkOTASuccessful 标记启动成功。
  7. 调用 otaPartitionSync 进行 AB 分区、 BAK 分区同步。

图片