Magnus: 哔哩哔哩Iceberg智能数据管理和优化

555 阅读14分钟

01 背景

B站湖仓一体平台数据规模约60PB,主要服务于BI报表、指标服务、A/B Test、人群圈选、日志等场景,日查询量超过400万,查询P99响应时间约为3s。平台架构如图所示:

湖仓一体平台架构图

平台使用Iceberg作为数据表的格式。Iceberg有独立开放的元数据管理体系,在Spark、Flink、Trino等主流计算引擎有完备的社区支持,且与Hive表相比具有以下优势:

  • 支持更灵活、更安全的表结构变更

  • 支持事务和数据多版本

  • 记录文级别的metrics,查询时具备更高效的文件过滤能力

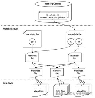
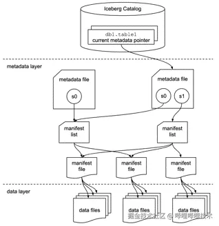
Iceberg表结构示意图

在Iceberg的基础上我们拓展和支持了多项查询加速能力,以满足用户多样化的分析需求:

  • 分布(Distribution):支持Z-order和Hilbert Curve等多维分布

  • 索引(Index):文件级别跳数索引,包括BloomFilter、Bitmap、BloomRangeFilter等通用索引,以及TokenBloomFilter、TokenBitmap、NgramBloomFilter、NgramBitmap等日志场景特化索引

  • 预计算(Aggregation Index):文件级别预聚合,类似于Apache Kylin的Cube

这些查询优化手段能够应用到Iceberg表,实现百万级别查询的秒级响应,离不开Magnus服务。Magnus是我们自研的Iceberg表智能数据优化服务,其主要功能有:

  • 元数据查询和展示

  • 表管理

  • 数据优化

  • 智能推荐

本文将介绍Magnus的表管理、数据优化和智能推荐等功能的设计思路与实践成果。

02 表管理

表管理是Magnus服务的基本功能,负责调度Iceberg表的维护(Maintenance)操作,减轻存储压力,提升元数据的查询性能。Magnus调度的维护操作包括ExpireSnapshots、DeleteOrphanFiles以及RewriteManifests三种:

  • ExpireSnapshots:Iceberg表每次数据变更都会产生一个snapshot,大部分的snapshot都不具备长时间保留的价值,它们引用的元数据或数据文件可能不再需要被读取,因此需要定期清理。由于我们内部没有使用time travel的场景,仅需保留一定的容错回滚能力,ExpireSnapshots的调度周期一般是小时级别的。

  • DeleteOrphanFiles:Iceberg表的孤儿文件指的是表路径下没有被元数据引用的元数据或数据文件,可能由失败的ETL任务或过期快照等等操作产生。孤儿文件产生的概率较低,因此清理的频率较低,调度周期是天级别的。

  • RewriteManifests:Iceberg表的manifest保存着一组数据文件的元数据信息,读取manifest是planFiles的主要开销,以下三种情况会导致planFiles性能变差:

  1. 单次commit写入过多文件,产生一个较大的manifest,成为planFiles瓶颈

  2. 频繁写入产生大量小manifest,小文件读取性能差

  3. 同分区数据文件没有聚集到同一个manifest中,分区条件无法直接过滤掉整个manifest

RewriteManifests可以把manifest重写到预期大小,并让相同分区的数据文件尽量聚集到少量manifest中,提升planFiles性能,调度周期是天级别的。

03 数据优化

数据优化是Magnus服务的核心功能,我们基于Iceberg实现的多项查询加速技术,需要通过异步数据优化才能生效,是保障Iceberg表查询性能的关键。Magnus每天提交超过5万个优化任务,成功率超过99.9%,实时表优化延迟为15-30分钟,为平台百万级别查询的秒级响应提供了保证。

数据优化的流程如下图所示,主要包括优化任务的生成以及提交两个阶段。

数据优化流程示意图

3.1 优化任务生成

当ETL任务提交数据写入时,会生成一个commit event并通过HTTP请求发送到Magnus。Commit event里面有写入的表名、snapshot id以及类型等信息。结合表的元数据信息,Magnus就能知道写入修改的分区,每个分区新增或者删除的文件名以及数据量。任务生成器中的调度策略根据这些信息生成多个优化任务。

调度策略是优化任务生成的核心,接下来介绍调度策略的设计思路。

我们支持的Iceberg表优化项共有五个:小文件合并、排序、分布、创建索引文件、创建预计算文件。其中分布优化是应用场景最广、查询加速效果最明显的优化手段,因此保证分布优化的效果是调度策略设计的一个关键点。在部分实时场景中,用户有查询小时内写入数据的需求,此时优化延迟会显著影响用户的查询体验,这是调度策略设计的另一个关键点。

平衡实时表的优化延迟和分布优化效果是调度策略的难点。分布优化的原理是提高数据在特定字段上的聚集性,利用Iceberg表文件级别的最大值和最小值统计信息来过滤文件,提升查询性能。如果对整个分区的数据执行分布优化,优化效果是最好的,但是需要等到分区数据全部写入,优化延迟高,小时内写入数据的查询性能会比较差。如果对每批写入的数据单独执行分布优化,优化延迟低,但优化后数据在指定字段的聚集性就会比较差。

为了解决这个难题,我们采取分级优化的策略(见下图),用少量计算资源换取更好的即时查询性能,同时也保证分区的整体优化效果。优化共分三个等级:

  • Level 0:仅执行小文件合并,小文件数量超过阈值即触发,优化代价低且能显著降低查询读取数据的开销

  • Level 1:执行排序、分布等高代价的优化,数据量超过2GB才触发,保证分布优化的效果下限

  • Level 2:执行排序、分布等高代价的优化,每10次Level 1的优化才会触发1次Level 2的优化,避免局部优化批次过多降低整体优化效果

分级优化策略

优化任务调度的最小单位是snapshot,即分区内同一个snapshot写入的数据文件会被同时优化。Iceberg表的snapshot对应一次commit,而且仅通过snapshot id就可以关联到当次commit写入的所有数据文件。相比于调度数据文件粒度的优化,调度snapshot粒度的优化会更自然、更简单。

分级优化策略将Iceberg表的优化任务拆分成多个批次,如果每个批次都需要使用独立的Spark Application提交的话,会有很大的调度开销,甚至超过了计算本身的开销。因此我们会将同一张表多个批次的优化合并到同一个任务中,提交到同一个Spark Application执行。

3.2 优化任务提交

生成后的优化任务通过任务提交器提交到Spark执行优化。任务提交器内部维护一个优先队列,它对任务提交作以下这些管控:

  • 服务级别任务提交并发控制:Spark任务提交需要创建spark-submit进程,同时创建上百个进程会占用大量cpu和内存资源,导致服务不稳定,因此需要做服务级别的提交并发控制。我们通过配置参数使得spark-submit进程在提交完成后即退出,这样不会限制优化任务的运行并发。

  • 表级别任务并发控制:控制每个表优化任务提交数,避免单表优化任务占用过多计算资源。

  • 优化资源管控:控制所有优化任务使用的总资源量,避免影响写入的ETL任务。

  • 优先级调度:优先提交实时数据的优化任务,避免历史数据回刷产生的优化任务占用过多资源导致实时数据的优化延迟增加。

3.3 优化结果展示

数据优化对Iceberg表查询性能影响重大,数据优化比例是处理生产慢查询时重点关注的指标。我们对Iceberg表优化详情做了分区级别的展示,包括文件数、文件大小、优化比例和最后写入时间等指标。

Iceberg表分区级别优化详情展示

04 智能推荐

智能推荐是Magnus服务的重要功能。我们在生产实践中发现,虽然开发支持的优化手段能够为查询带来数倍到数十倍的性能提升,但对用户的使用门槛较高。用户需要对业务的查询模式有清晰的认知,并了解相关的基础知识才能进行合理配置,达到最佳的优化效果。智能推荐的目标就是根据用户的查询历史,自动为Iceberg表配置合理的优化手段,透明地实现查询加速,降低Iceberg表的用户使用门槛,其主要流程图如下所示:

智能推荐流程示意图

4.1 查询采集

查询采集服务实时从Trino获取查询信息,并通过实时链路写入查询明细的Iceberg表。采集的查询信息分为四类:

  • 基本信息,包括时间、状态、查询SQL、以及用户身份等

  • 查询耗时、扫描数据量等反映查询性能的关键指标

  • 查询模式,比如过滤条件、order by条件、聚合模型等,是分析推荐的关键指标来源

  • 数据过滤指标,反映排序、索引等优化手段在实际查询中的效果,帮助跟踪和分析Iceberg表的优化效果

值得注意的是,查询模式的提取是在Trino查询的planning阶段实现的,而不是通过一个独立的服务或模块解析原始sql实现的,这是出于开发和计算成本的考量。以过滤条件的提取为例,不能下推到Iceberg表的过滤条件是无法在存储层做优化的,而下推的逻辑是在优化器中实现的,独立的模块需要执行完整的analysis和planning操作才能把这部分过滤条件正确剔除掉,成本比较高。

4.2 分析推荐

Magnus将一定周期内所有查询的统计信息按照表维度进行聚合,再结合Iceberg表分区级别的统计信息,通过一系列规则给出一组推荐的优化配置。对于不同的优化手段,我们根据其优化原理和生产实践的经验,推导出需要分析的查询模式以及推荐依据(如下表),生成推荐规则。由规则构成的推荐策略在实现上比较简单,对于不是特别复杂的查询模式也会有较好的推荐效果。分析推荐任务每周对每张Iceberg表执行一次,当用户的查询场景发生变化时,推荐配置也会相应调整,以达到最佳的优化效果。

优化手段

优化原理

分析的查询模式

推荐数据

分布
Distribution

提高数据在特定字段上的聚集性,利用文件级别MinMax统计信息过滤数据

SELECT*
FROM*
WHERE a =2

  • 字段出现在过滤条件的查询占比

  • 字段基数

索引
Index

文件级别数据过滤,原理取决于索引类型

  • 字段出现在等值、范围等不同类型过滤条件的查询占比

  • 字段基数

排序
SortOrder

文件内部排序,节省局部排序的计算成本

SELECT*
FROM t
ORDER BY a ASC,b DESC
LIMIT 10

  • Order by 条件占比

预计算
Aggregation
Index

文件级别预聚合,减少读取数据量

SELECT a,b,
count(x)
max(y)
FROM t
GROUP BY a,
b

  • 聚合模型查询占比

  • 聚合效果

分析推荐任务完成后,服务会把推荐结果配置到Iceberg表中,同时也会将推荐结果持久化,并展示到前端。前端展示的内容如下图,包括推荐配置与当前配置的对比,以及推荐使用的统计信息,方便我们进行跟踪分析,优化推荐策略。

推荐结果展示

4.3 成果

我们目前针对一些没有进行任何优化配置的Iceberg表,开放了智能推荐功能。截至目前为止,已经对30多张表进行了优化。在这30多张表经过优化后的30天总体扫描数据量减少了28%。其中有超过60%的表扫描量减少了30%以上。目前项目的推荐策略还相对比较保守。在实际的生产环境中,有许多表已经由用户配置了一些优化手段,但由于配置不够合理,所以无法达到良好的加速效果。对这部分表开启智能优化功能,查询加速的收益会更高。

05 未来展望

5.1 提高数据优化调度的承载能力和稳定性

虽然Magnus现阶段能够稳定、低延迟地完成Iceberg表的数据优化任务,但数据优化任务的链路上依然存在一些风险点。另外随着入仓链路从Hive表到Iceberg表的切换,未来Iceberg表的数量和数据量会有比较快的增长,Magnus也需要调整架构来处理海量的优化任务,保障优化任务的稳定运行。我们将从以下几个方面着手:

  • 优化commit event上报机制,降低异常情况下commit event丢失风险,比如网络、服务异常

  • 支持任务提交器横向扩展,以应对日渐增长的优化任务量

  • 支持跨表优化任务的合并,进一步降低调度开销

  • 支持将优化任务的运行状态推送到用户,提升风险预警能力

5.2 迭代优化智能推荐策略

目前智能推荐功能已经具备对简单查询场景的推荐能力,但推荐准确率有待提高,尤其是针对有复杂查询模式的Iceberg表的推荐,因此在实践中的应用受到限制。比如分布和索引的推荐中,影响推荐准确率的关键因素之一是过滤效果的判断,因此我们会考虑使用更详细的统计信息,如实际数据分布,来辅助推荐决策。随着参考统计信息的增加,决策模型的参数将变得更加复杂,我们也将考虑利用机器学习或人工智能算法来进一步提高推荐准确性。

-End-

作者丨MirageYang