内容生产全链路业务观测体系建设

538 阅读22分钟

01 为什么要做业务观测

先简单介绍下内容创作业务概要。

UP主创作的视频内容最终会以"稿件"为载体进行打包投稿。

一个稿件从创作到最终用户能观看到,需要经过非常多的环节。

从UP主的创作灵感构思,到视频剪辑,到创作完成之后进行投稿,投稿之后再经过一系列内部的加工,最终C端用户能浏览观看。

这些创作工作,都可以通过B站的集成创作工具来闭环完成。

这些流程专业的细化下来,主要包括。

创作(bilibili粉版、B剪等) → 视频上传(原片上传) → 投稿(封面+标题+简介等) → 转码(分辨率等) → 内容安全审核(黄暴恐+版权等) → 稿件开放(完成生产)→ 稿件分发(CDN分发)

在整个流程中,UP主一旦投稿,后续所有流程的输入输出都是围绕【稿件(archive)】业务实体(bussiness entity)展开。

将这样的内容创作的平台能力,类比到制造业的生产过程,非常类似制造业的MES系统(Manufacturing Execution System)。

  • 制造执行系统 (MES) 是一种基于软件的解决方案,用于在制造过程中监控和控制车间的生产流程。

  • MES 系统的主要目的是实时跟踪和记录原材料到成品的转变。它从各种来源(包括机器、传感器和操作人员)捕获数据,以提供有关生产活动状态的准确和最新信息。

为什么要类比MES系统,很重要的一点就是生产过程的【实时跟踪-调度】是一个非常科学的生产决策单元,可以复用到任何形式的生产系统中。

在目前这个降本增效大环境下,提高生产效率显得非常重要。要想达到这个目标,平台一定需要有很强且经济的资源观测和调度能力(类似制造业的MES)。

在一些特殊的时期或者时间段,会有非常多的黑灰产用户、稿件在消耗平台有限资源。

这些黑灰产用户的稿件量也是非常大,如果我们没有相应的手段干预,会严重挤兑正常用户的稿件生产。

对于这类有问题的用户或稿件,平台安全体系是有办法识别出来的,但是识别出来之后,作为内容生产平台需要有对应的功能机制可以做对接,来联动资源干预。(降权、控制速率等)

目前平台内部各个流程分工其实已经很精细化了。

因为分工很精细化,一个稿件的生产加工需要经过非常多的子系统子模块,也让这个过程变得很黑盒。

完整的流程要比这个复杂的多得多。一个稿件从无到有,需要经历大概几十个子流程,跨越多个业务领域,多个子系统。

我们经常被一些问题困扰:

1.平台每天生产的稿件中,优质、大V、党央媒、商单稿件的生产效率如何?有没有被block?

2.下游转码、审核、开放等抖动,对大盘影响多少?绝对值多少?又有多少重点稿件受到影响?

3.某个大V的稿件迟迟没开放,知道卡在哪个环节了吗?如何主动发现?

4.所有开放的稿件,是否全部进行过安全审核?有没有漏审?

5....

上述这些问题正是缺乏有效的业务观测能力导致,我们需要实现一种可以zoom-out+zoom-in的业务观测能力。

zoom-out 可以看到生产效率的分位统计,各种原因被block的稿件,耗时大于xxx的稿件或流程。

zoom-in 可以快速拉取某一个稿件的全部生产事件,并且能看到每一个事件的当时相关信息。(全链路event sourcing审计能力)

如果我们能够观测到问题,对于优化和快速恢复,现有的能力和工具箱已经完全具备了。

02 顶层设计

【何为业务观测】

我们的重点是“业务“观测,但是对于业务观测业内并没有一个统一的定义,每个人对业务观测的认知也不同。

往往一提到观测,大家很惯性的会通过各种技术指标(qps、rt等)来衡量业务系统的健康状况。

通过简单的企业分层架构来展开系统调用,基本上就这几个环节。

公司的基础设施(caster平台、cloud平台、go-common框架、Bxx脚手架等)已经覆盖了【1】、【2】、【4】环节。

这些观测的目标都是基于【服务质量】技术属性来设计的,【请求成功率】、【请求响应时间】、【请求的吞吐量】等。

那么【1】、【2】、【4】都符合预期时,【3】是否符合预期?答案是不一定(逻辑bug、配置错误、外部因素等)。

如果把我们的系统比喻成制造业的【生产传送带】,【1】、【2】、【4】是传送带本身,【3】是传送带上的货物。

通过对【1】、【2】、【4】观测是无法判断【货物运送是否成功】、【运送效率】等生产情况。(可能有些货物一直没领取,也或者传送带上没有货物,一直在空转)

业务观测的重点是观测【3】的链路,专业讲就是聚焦企业经营层面,观测的主体是“业务实体”、“业务事件”。

【找到观测对象】

内容生产的核心业务实体是“稿件(Archve)”,业务观测的目的就是跟踪稿件实体生命周期。

这是一个精简后的稿件对象结构。稿件基本信息加上一组视频组成稿件核心聚合。(真实的业务要复杂的多,但是不影响我们理解业务观测)。

从业务建模角度讲,通常需要有四部分元素构成一个基本**【聚合对象】**。

人-事-物(Party\Place\Thing)、角色(Role)、描述(Description)、时刻时段(MomentInterval)

建模大师 Peter Coad 的**《Java Modeling In Color With UML》** 书中,介绍的“四色建模”法,通过四种颜色代表这四种原形(archetype)对象

【人-事-物(Party,Place, or Thing)】

表示的是一种客观存在的事物,一般也是重要的实体Entity。(人、产品、物体等,不仅包含名词,还有动词都是可以作为实体建模)

【角色(Role)】

用来赋予实体Entity的角色。不同的角色具备不同的能力和行为。(只有角色赋予对象行为能力)

【描述(Description)】

用来描述Entity的分类、属性等。一般都是这类Entity共有的属性信息(类型、颜色等)。

【时刻时段or关键时刻(Moment-Interval)】

以上三种原形都是静态的,将这些原形联动起来就是时刻时段。(某个人-uid,用什么身份-up主,在xxx某个时刻,创作了一个稿件)

在业务建模时,构成实体的静态对象一般比较容易捕捉,而发生时的【时刻时段】很容易忽视,恰恰它才是系统的灵魂。(下图粉色部分)

时刻时段模型,在业务场景不复杂的情况下,一般会通过简单的log方式来处理。(从业务建模角度讲,它是客观存在的,落地时可以选择提炼强度)

我们将整个稿件的生命周期展开,这些领域都有自己核心的聚合Entity,这些领域特定的核心Entity与稿件Entity发生联系,产生不同视角下的【时刻时段】。

在转码侧,会有转码相关【时刻时段】。在审核侧,会有审核相关【时刻时段】。在开放侧,会有开放相关【时刻时段】。

将这些不同领域中的核心Entity的时刻时段,整体关联起来就是一个稿件Entity的完整的生命周期。(也就是稿件的完整时刻时段)

一个稿件的生命周期,会经过很多系统。无数个与之关联的Entity(逻辑上),每个Entity又有N多个处理事件,每个事件产生对应的【时刻时段】。

所以,将这些全局分散的【稿件-时刻时段】收集起来,就可以还原稿件的生命周期。

【如何端到端】

我们要做的是全链路业务观测,要想将全局收集的所有事件串联起来,就需要某种trace机制。

“业务trace”,无法直接复用某个trace技术框架(如opentrace)来完成。

因为业务流程都是异步长事务的,没有办法直接关联一次系统调用。一定是需要某种全局业务ID才行(如,订单OrderID)。在我们场景中,稿件AID就是这种全局ID。

在整个链路中,投稿前用户基本都是在端上进行创作。获取素材,编辑剪辑等,然后导出视频原件并且上传。

创作过程并没有稿件,稿件是创作完成之后才有。那么创作过程的事件信息就需要一种载体进行收集,最后才能与稿件载体的事件信息关联上,这个可以通过抽象某种trace实体来完成。

如何将客户端的事件和服务端时间关联起来。

用户在端上的所有事件通过某个TraceID单独上报,最后提交稿件时将这个端上的TraceID透传给服务端与之关联。

要想端到端完整还原一个trace,需要将提交稿件时的那一刻的服务端traceid和客户端traceid做mapping,因为这一刻稿件实体并没有创建出来,客户端的所有事件信息在客户端的traceid下上报的。

串联整个trace过程需要分为两步,clientTraceID → serverTraceID,serverTraceID → AID。一旦有了AID之后,而AID就是一个天然的TraceID。

03 架构设计

【收集事件流】

全局上所有的事件在不同的领域里发生着,不断的产生事件流(event-streaming),虽然逻辑上是分不同的流程,但是物理上是并行离散的。

要想还原整个稿件的事件trace,需要收集和沉淀这些事件流,最终形成基于事件流的底座平台。(理论上,通过对所有事件回溯【event-sourcing】可以看到稿件不同阶段的【snapshot】)

有了这套松散的,detail级别的事件流数据,可以基于这套事件流观测到step1 → step2 → step3...的处理过程。

所有创作单元分别独立上报产生的event-streaming,后端就可以通过AID进行全局关联。

客户端在投稿前(还未产生AID)会调用很多后端接口,这些接口中会统一安装【traceid绑定的midware】(自动将client_trace_id和server_trace_id做映射)。

在客户端视角看来,这个过程非常类似OpenTrace协议中的 tracer.StartSpan("sub_method_1", opentracing.ChildOf(parentSpan.Context())) 调用。

服务端的调用入口处需要将后端的opentraceID与客户端带过来的traceID做好mapping,并且完成上报。

沉淀到【内容生产实时事件流平台】的事件具备全局关联性,而不是互相独立的孤立数据point。

有了可以链接起来的事件,就可以很容易的推断出每一个step的耗时和缺失。

可以还原某一个稿件的所有event-trace,并且可以通过在event-trace time-line 上行走观察不同生命周期下的稿件实体的snapshot。

整个事件序列是可以逐步细化和增加的,但是每一个事件最好是关键状态变更事件。

这是投稿领域的事件list,通过这些事件流的收集,就可以还原投稿在投稿上的event-trace(事件中可以携带当前上下文)。

【客户端时间问题】

后端的事件流上报时间是机器时间,由于服务端全局时间是NTP(Network Time Protocol)来同步保证的。虽然有概率延迟,但是绝大部分能满足我们的需求。

客户端的绝对时间不准确,可能由于各种原因导致。采用最原始的每个方法独立上报,事件顺序将会发生错误,事件之间的duration也不准确。

解决这个问题,需要通过相对顺序来设计客户端span(和Opentrace协议很类似)。在事件序列排序时,客户端部份通过相对顺序排序,服务端通过绝对时间排序。

这种实现方式对上报时机有了一定要求,对存量代码会有一定的侵入性,需要部份代码重构和模块化。

【实时数据收集与存储】

事件流上报之后,需要实时性的聚合存储,目前每天产生大概几个亿的事件流,平均QPS达到几k,峰值已经上万。

事件流的核心价值就是近实时性,我们使用Kafka+Flink+CK方案。

整个事件上报走的是公司基础平台,链路比较长且复杂。平台能力作为PAAS开放,所以还是需要有非常多的对接和开发工作(比如,Flink-SQL数据格式转换、Hive存储、Kafka-proxy丢失率、任务SLA提升等)。

但是对于应用层来说,通过统一的设计,屏蔽底层实现,对外提供一个简单标准的sdk和上报数据协议。

整个接入前端会通过专门的sdk来完成收集,相关业务方可以自由的上报自己希望全局trace起来的事件。

对于接入用户方来说,一两行代码就可以完成上报,至于背后的数据怎么传输和存储无需太多关注。

接入到实时事件流平台之后,会自动享受到很多好处。事件之间的间隔计算,自动巡检出事件丢失,自动事件trace编排等能力,这些都不用去重复实现。

除了事件本身的各种应用之外,还会享受到基于事件流平台的配套服务(排障问诊台和异动感知)。

​【异动感知与快速问诊】

观测跟踪的主体都是稿件,不同的事件集合都属于某个领域,某个领域属于某个业务部门和组织。不同的事件段由不同的部门来保障。

有了这一套实时的全链路观测能力之后,可以针对不同的业务方向开发很多通用能力(【关键事件丢失】、【安全对账】等)。

会发现很多比较隐蔽的问题,特别是全局一致性问题。(如,投稿完成发现视频没传上来等)

这些问题需要有一种机制来触达和让事件负责人感知到。

【内容生产实时事件流平台-Core】会定时计算出事件波动绝对值,然后【内容生产实时事件流平台-异动感知】会上报到时序数据库(prometheus)中。

这样在时间轴上就会形成数据的同环比,再将这些数值对接到【告警平台】就可以打通数据波动异常感知。

比如,我们的【安全对账】能力,从统一监控到统一告警触达。

监控面板是被动式的,需要人主动去看。

当触发一定的监控阈值之后,需要通过【告警平台】统一收口到一个群里。这样可以形成有效的跟踪和响应。

作为平台能力,一旦用户收到异动告警,就需要通过一些工具快速定位到具体的稿件。

平台提供一站式【问诊台】来快速定位监控发现的异常数据。

但是异动的类型不同,对告警的相关阈值和频率也不同。不同的事件类型,紧迫程度是不同的,所以不可能是一个固定的规则。

根据我们的经验,总结出告警持续优化的一个迭代模型,异动感知的相关阈值设计,规则设置、频率设置等都是一个不断打磨的过程。

04基于实时事件流搭积木

整个内容生产实时事件流平台的架构核心思想,是通过收集沉淀稿件全生命周期的事件,并且打通事件数据让具备全链路trace能力。

有了这样的基础底座之后我们可以基于这些事件数据提供一整套的【全链路业务观测、感知、快速定位能力】。

有了这套东西,我们试着回答前面的问题。

1、平台每天生产的稿件中,优质、大V、党央媒、商单稿件的生产效率如何?有没有被block?

基于【耗时分位统计】能力,稿件各个事件耗时被计算出来,就可以看到生产效率问题。(优质、大V、党央媒、商单=aids\up_type)

基于【事件丢失统计】能力,可以看到关键事件是否缺失,如果缺失说明流程出现中断,需要快速干预。(优质、大V、党央媒、商单=aids\up_type)

2、下游转码、审核、开放等抖动,对大盘影响多少?绝对值多少?又有多少重点稿件受到影响?

基于【耗时分位统计】能力,可以看到P80\P90\P999等延迟占比,大概可以计算出影响多少稿件。

基于【分位耗时AIDs】能力,可以在后台快速拉出具体的稿件aids,用来手动恢复。

3、某个大V的稿件迟迟没开放,知道卡在哪个环节了吗?如何主动发现?

基于【全链路trace】能力,可以根据aid\uid快速定位事件的卡点位置。

基于【事件丢失统计】能力,当出现关键事件(可以定义需要关心的事件)缺失可以主动感知到。

4、所有开放的稿件,是否全部进行过安全审核?有没有漏审?

基于【事件段对账】能力,可以精确匹配某个稿件是否缺少某个处理事件(如,安全审核等)。

【全链路业务trace】

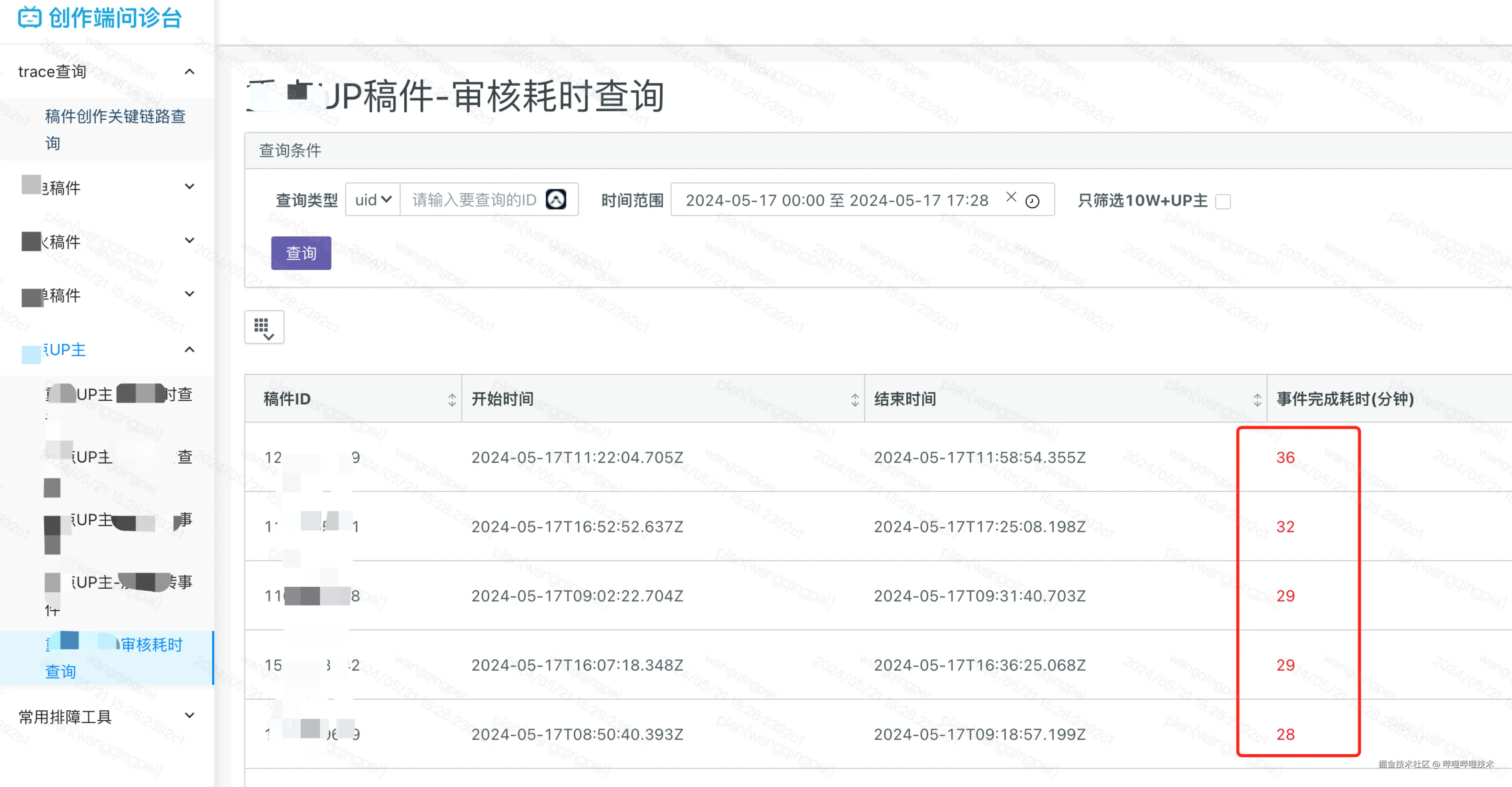
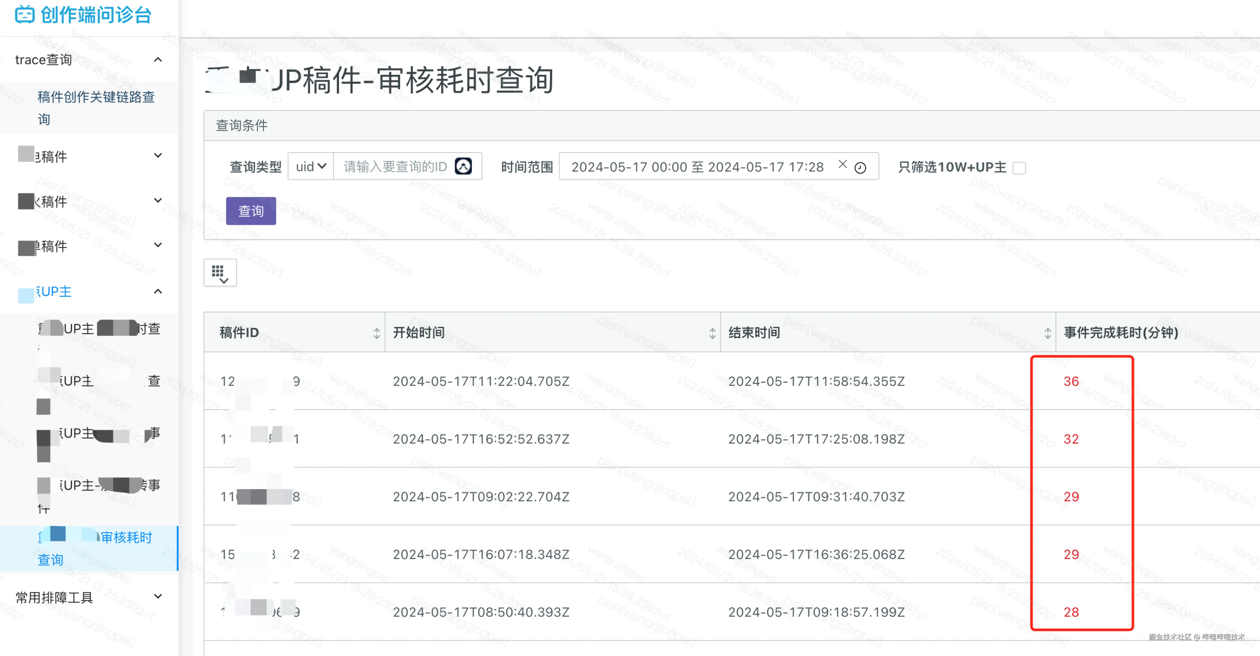
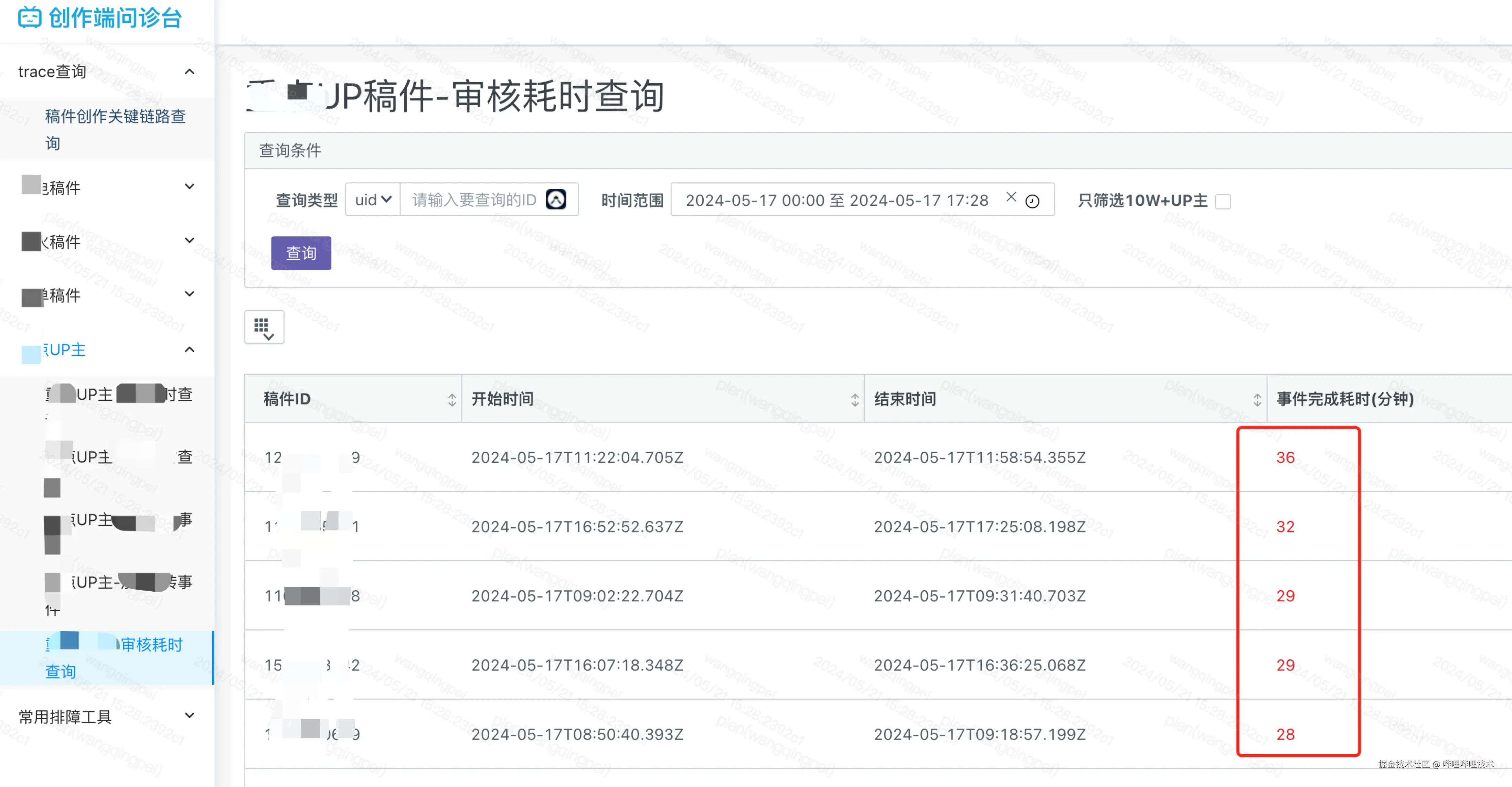
非常高频的排障工具就是全链路业务trace能力,基本所有的卡点通过查看trace基本就知道卡在哪里,并且可以看到各个事件携带的关键数据。

前面讲过,要想将客户端和服务端的事件完全链接起来,需要经过两个查询步骤。通常我们查询的入参是AID,所以查询是反着找就行了。

先通过AID找到当初【投稿】时候的server_trace_id,然后再通过这个server_trace_id去查找当初【客户端】投稿时传进来的client_trace_id。

trace会展示每个事件之间的duration。

我们也可以查看每个节点的携带数据,并且也可以下钻当前事件的具体rpc调用trace(opentrace链路)。

【内容生产耗时统计】

有了前后关联的事件数据,我们就可以很方便基于事件之间的duration,计算出耗时分位。

基于分位占比,可以动态计算出各个分位区间的稿件绝对值。

由于不同类型的稿件,视频内容和大小是不一样的,所以会按照特定的稿件类型来查看耗时。

现在基本可以做到将整个耗时和稿件量形成动态表格dashboard。

在计算事件之间的耗时有一个小技巧分享下,因为我们的事件数据是行形式的,但是计算要换成列形式的。

这里可以借用开窗函数,用aid进行分区,然后按照时间+事件排序,直接读取再通过lagInFrame()拿到每个分区的末尾行数据。

【内容安全实时对账】

所有生产的稿件内容,开放出去是一定要经过层层安全审核才能观看。如果出现高危风险的内容露出,那么危险程度非常之大,下架关站都是有可能。

简单理解,需要对稿件的常规信息或介质(标题、封面、简介、视频)进行过审,系统设计原则就是没有审核过的稿件是不能开放的。

由于各种原因可能会导致未经审核的稿件介质漏审开放,需要有一种保底安全检查机制,发现那些漏审的稿件介质。

按照稿件的处理流程,我们只需要以【稿件开放】为锚点,回查【审核通过】事件,并且相关的媒介信息要完全能对上。

也就是开放的稿件是一定能找到之前的审核通过事件。

但是我们业务上有一种场景【延迟开放】稿件,就是稿件是在将来的某个时间在开放(特定节日、有意义的时刻等)。

这种类型的稿件,所有流程和普通的稿件没有太大差异,只是开放的时候有一个异步JOB去扫描何时开放。

这种稿件的对账有个比较难处理的就是,由于我们的事件clickhouse存储是有时间限制的(可以设置很大,但是有上限),就会导致开放的稿件找不到审核的记录。

Aid:101010的稿件由于数据较久,已经被删除。回查的时候将找不到,导致对账误报。

有两种处理办法,一种是放宽全表的存储时间。二种是单独将关键事件(需要回溯较久历史的)放入hive中,在对账任务中合并这两种数据源。

05 总结

通过全局事件收集,让业务对象具备event-sourcing能力,让我们有了精确洞察“生产效率“的工具。

虽然不同的行业和领域,对于”内容生产“的物料有所不同,但是站在数字化角度来看,一切都是需要和可以监控和跟踪的,且是科学和经济的最有效方法。

有了这一套“内容生产实时事件流平台”之后,我们将逐步渗透到不同的层面和位置,观测和跟踪内容生产不同阶段的问题和改进点。

业务观测体系化建设,重点是聚焦”企业经营“层面的业务对象,一般比较容易被忽视。

研发倾向证明技术系统有没有故障,服务质量(SLA/SLO)是否达标,但是忽视了信息系统本质是企业数字化生产系统,无论是面向toC还是面向toB,业务健康度也是需要指标来衡量的。

我们在业务观测上潜行实践还是有不少收获,后续有机会再分享,也欢迎一起交流学习。

-End-

作者丨plen