智动化测试-有效代码覆盖率结合自动化实践

3,707 阅读16分钟

作者简介:

  • 张玲玲,来自货拉拉/技术中心/质量保障部,测试专家,负责出行领域的质量保障和效能建设工作。
  • 江颖警,来自货拉拉/技术中心/质量保障部,资深测试工程师,负责出行业务服务端测试与自动化测试建设。

1. 背景与挑战

随着市场的变化和业务的发展,货拉拉已经从货运业务扩展到出行、国际化等新领域。为了适应业务的迅速扩张,新领域的服务通常会基于现有的系统架构进行开发。这种方法能够加快新领域服务的孵化速度,但同时也对质量保障工作提出了更高的标准和挑战:

冗余代码: 废弃的业务逻辑 或者基于旧业务线系统修改的新业务线系统,都有大量冗余代码的产生,我们往往难以抽出足够的人力去清理这些冗余代码,这对基于代码覆盖率的测试监控带来了困扰;

回归成本高: 业务高速发展带来了频繁发布,我们迫切需要高覆盖率的自动化测试,以替代大部分或全部的人工回归,将更多人力放在增量代码测试上;

自动化无度量手段: 当前接口自动化的覆盖程度,是否能够代替全量回归等等这些都没有一个度量的手段,完全根据各业务线测试的经验来判断,这就会导致各业务线执行标准上的不一致,从而带来一些质量上的风险。

2. 整体解决方案

针对以上问题,我们希望打造一个智动化接口测试体系,只分析有效代码,能对各服务各接口进行代码链路分析,对接口自动化用例覆盖给出智能补充推荐,并且标准化、半自动化地完成测试脚本的编写。对自动化覆盖进度智能监控实现自动化的链路闭环。同时集成覆盖率变化统计、缺陷管理等监控能力。

  • 自动化建设指导

自动化建设是一项庞大、长期的工程,合理区分先做哪些,后做哪些,能带来更高的收益。

结合一些服务存在较多冗余代码的背景,需要有排除冗余代码统计有效覆盖率的能力。排除冗余后再根据自动化建设推荐算法指导建设。

  • 用例编写赋能

为了降低接口自动化编写成本,并且实现自动化用例的标准化,我们在原有框架的基础上做了很多辅助编写功能的封装,比如:

  编写阶段: 我们借助封装的JsonUtils类快速生成请求体代码、通过PICT类实现参数的成对自动生成、通过MockUtils类自动链路mock参数构建等等

  断言阶段: 各种断言校验类型均封装有工具使用,快速并且标准化的生成断言代码。不遗漏每一个中间件,不遗漏逻辑处理中每一个字段、每一个中间态

  • 建设进展可视化

早期没有有效覆盖率监控时,曾有一个存在大量冗余代码的服务,全量覆盖率报告为30%+,但QA主观认为该服务自动化测试已经完善,也无法通过全量代码报告查漏补缺。

监控是一个关键的过程,它可以为我们提供有价值的数据,以便我们做出更好的决策。

其中一些核心监控项:

监控项描述
服务接入汇总检查各等级服务是否有自动化。核心服务是必须要做自动化测试的
周度有效覆盖率进展监控服务自动化测试有效覆盖率是多少,是否有提升。核心服务目标达到80%-90%
用例稳定性帮助了解用例的质量,如果用例稳定性较低,可能会影响到测试的准确性
自动化缺陷帮助了解软件的质量情况,如果发现大量的自动化缺陷,可能意味着我们需要对软件进行更深入的测试。且经常发现缺陷的自动化项目,与总不能发现缺陷的自动化项目,可以review判断在用例断言的差别
自动化建设里程碑我们在每一段时间,划分出一批高优补充自动化的服务,并给自动化测试覆盖率定下里程碑。通过监控是否达标可以了解工作进展和评估工作是否需要调整

3. 能力建设

下面我们详细说下核心功能的实现思路

3.1 冗余代码覆盖率解决方案

我们是否能通过剔除冗余代码的方式来统计有效的代码覆盖率?

  • 使用Jacoco exclude排包: 虽然我们可以通过配置方式排除无用代码,但这需要人工识别,这不仅会产生大量的工作量,而且人工处理的精度可能会有所欠缺,同时,维护排包列表也是一项艰巨的任务。

  • 方法级别的排包: 在一个类文件中,可能存在部分正在使用的有效方法,同时也存在部分已废弃的冗余方法,然而,Jacoco的官方排包机制并不支持方法级别的排包。

统计无效的代码工作量很大,那换个角度统计有效的代码是否可行?

a1.png

我们在判断一个服务功能是否已经被废弃时,保险起见会查看该接口在最近几个月内是否有请求记录。反之,我们可以通过线上监控,认为一个时间段内有流量的业务是有效业务。再结合服务的代码链路关系,过滤出总的有效代码合集,基于这些有效代码生成覆盖率报告,从而解决手动排除冗余代码工作量过大的问题。

此外,再结合手动配置添加或排除指定链路代码,可以适配如无流量有效接口或无需统计接口等极端场景,增加判断的灵活性。

根据以上有效代码覆盖率检测方案,想要解决我们痛点需要具备以下几大块能力:

  • 线上应用监控: 需要知道哪些接口、任务等信息是有流量的,仍在使用中,需要进行业务测试覆盖

  • 代码链路解析: 需要被调用接口、任务在应用代码内与入口方法的关联关系,及入口方法的调用链关系

  • 指定代码生成覆盖率报告: 需要用计算出的“有效代码合集”替换应用全量代码生成覆盖率报告

  • 智能覆盖推荐: 根据合理的算法逻辑,推荐用例补充思路。用例的环境、请求、断言等代码半自动快速构建

3.1.1 有效业务监控

业务监控在各大公司已有成熟实践,如SkyWalking可以收集Java应用的HTTP接口和SOA接口的调用信息,可以收集Kafka消费的详细信息,包括消费的主题、分区、偏移量、消费时间等。

在货拉拉我们已经有智能监控平台Monitor,应用监控覆盖HTTP、SOA、Kafka等。并且可通过开放监控数据Open API获取有效业务信息。基于现有的Monitor,我们只需要调用Open API获取各服务一个时间段内有流量的接口、有运行记录的job、有消费记录的topic,便可以收拢服务的有效业务。

详见货拉拉技术文章《核心应用覆盖率100%,货拉拉智能监控落地实践》

图:货拉拉Monitor能力

3.1.2 代码链路解析

代码链路解析一般实现方案为使用Byte Code Engineering Library(BCEL)来分析Java字节码并生成方法调用链路。

使用BCEL来读取字节码文件,获取其中的类、方法和指令信息。然后分析这些信息,识别出方法调用指令,并根据这些指令生成调用图,当遇到一个方法调用指令时,使用BCEL获取这个指令的目标方法,然后在调用图中添加一个从当前方法到目标方法的边。通过这种方式,可以生成一个完整的调用图,显示了程序中所有方法的调用关系。

总的来说,BCEL是实现代码链路功能的关键组件。通过使用BCEL,可以准确地分析Java字节码,生成详细和准确的调用图,帮助开发者理解和分析Java程序的结构和行为。

a5.png

在货拉拉,精准测试平台已经实现代码链路解析能力,基于代码链路解析工具二开实现支持不同类型的调用关系,生成调用图。精准测试当前货拉拉也在深入实践中,后续在精准测试实践再详细介绍。

3.1.3 有效代码覆盖率报告

Jacoco官方版本并不具备根据特定代码生成报告的能力,可以通过二开Jacoco实现。

核心改动:

  1. report传入有效代码合集构建CoverageBuilder对象:
@Option(name = "--effecCode", usage = "effective code for report", metaVar = "<file>")
String effecCode;
private IBundleCoverage effecAnalyze(final ExecutionDataStore data,
                        final PrintWriter out) throws IOException {
   CoverageBuilder builder;
   builder = new CoverageBuilder(this.effecCode);
   final Analyzer analyzer = new Analyzer(data, builder);
   for (final File f : classfiles) {
      analyzer.analyzeAll(f);
   }
   printNoMatchWarning(builder.getNoMatchClasses(), out);
   return builder.getBundle(name);
}
  1. 修改ClassProbesAdapter类的visitMethod方法,判断代码是否在有效代码中:
@Override
public final MethodVisitor visitMethod(final int access, final String name,
      final String desc, final String signature,
      final String[] exceptions) {

   final MethodProbesVisitor methodProbes;
   final MethodProbesVisitor mv = cv.visitMethod(access, name, desc,
         signature, exceptions);
   // 有效代码覆盖率
   if (mv != null
         && isContainsMethod(name, desc, CoverageBuilder.classInfos)) {
      methodProbes = mv;
   } else {
      methodProbes = EMPTY_METHOD_PROBES_VISITOR;
   }
   return new MethodSanitizer(null, access, name, desc, signature,
         exceptions) {
         
      @Override
      public void visitEnd() {
         super.visitEnd();
         LabelFlowAnalyzer.markLabels(this);
         final MethodProbesAdapter probesAdapter = new MethodProbesAdapter(
               methodProbes, ClassProbesAdapter.this);
         if (trackFrames) {
            final AnalyzerAdapter analyzer = new AnalyzerAdapter(
                  ClassProbesAdapter.this.name, access, name, desc,
                  probesAdapter);
            probesAdapter.setAnalyzer(analyzer);
            methodProbes.accept(this, analyzer);
         } else {
            methodProbes.accept(this, probesAdapter);
         }
      }
   };
}

通过上述两步,判断代码是否是有效代码,是则生成报告,从而获得有效代码覆盖率报告。

a2.png

同理,单接口纬度的覆盖率报告,只需通过单个接口名称,获取接口涉及的代码合集report时传入即可。

3.2 智能用例补充推荐

3.2.1 代码未覆盖行排序

在上述需求中提到,我们期望覆盖率报告能够为自动化测试用例的补充提供指导。假设当前服务存在两个未覆盖的方法,其中方法A包含50行代码,而方法B只有5行代码。那么,编写一个针对方法A的自动化测试用例a将能覆盖更多的代码行,因此我们可以认为在抛开服务接口等其他优先级因素下,自动化测试用例a的优先级高于自动化测试用例b。

当然,在实际应用中,我们仍需要结合服务的重要性、接口的重要性等其他因素,以确定哪些未覆盖的代码需要优先补充自动化测试用例

但是在一份jacoco覆盖率报告中,人肉方式难以筛选出哪个逻辑分支涉及的代码量多。

我们可以通过解析Jacoco report.xml格式的报告来获取未覆盖的方法行数信息。然后,按照未覆盖行数从多到少进行排序,通过程序筛选和排序,推送未覆盖行数更多的方法给到QA进行优先补充自动化case。

xml中方法行覆盖信息:

    "method":{
                    "counter":[
                        {
                            "@type":"INSTRUCTION",
                            "@missed":"129",
                            "@covered":"244"
                        },
                        {
                            "@type":"BRANCH",
                            "@missed":"15",
                            "@covered":"15"
                        },
                        { 
                            "@type"  :  "LINE"  , 
                            "@missed"  :  "33"  , 
                            "@covered"  :  "62" 
                        },
                        {
                            "@type":"COMPLEXITY",
                            "@missed":"11",
                            "@covered":"5"
                        },
                        {
                            "@type":"METHOD",
                            "@missed":"0",
                            "@covered":"1"
                        }
                    ],
                    "@name":"getMemberNewList";
                    ......
    }   

3.2.2 补充推荐算法

a3.png

编写全面、有效的自动化测试用例是一项挑战。为了解决这个问题,我们提出了一种基于多因素的智能用例补充推荐算法。

这种算法考虑了服务等级、接口等级、接口流量,以及每个用例可覆盖的代码行数量等多方面因素。服务等级和接口等级反映了服务和接口的重要性,接口流量反映了接口的使用频率,而代码行覆盖数量则反映了测试用例的覆盖范围。后面我们还考虑其他因素,如代码复杂度、历史缺陷数据、代码更改频率等,以进一步提高推荐的准确性和有效性。

算法基于以上因素对每段未覆盖代码段进行评分,然后根据评分对测试用例进行排序,最后推荐评分最高的测试用例。这样,QA团队可以优先考虑这些推荐的测试用例,从而更有效地补充和优化测试用例集。

通过使用我们的智能用例补充推荐算法,QA团队可以更加精确地定位到需要补充的测试用例,提高测试的全面性和有效性,从而提高软件的质量和可靠性。同时,这也可以节省QA团队的时间和资源,提高测试的效率。

a4.png

3.3 用例编写辅助工具

将接口自动化测试用例的编写分为5个阶段:

初始化测试环境 -> 构建接口请求参数 -> 发送接口请求 -> 校验程序运行结果 -> 清理测试数据

我们的辅助工具则在5个用例构建环节都提供了提效帮助,举 解封司机接口unban测试用例 的例子:

@Test(description = "封禁司机解封demo")
public void testUnban01() throws Exception {
    //使用工具为 初始化测试环境 提效
    //接口运行前提是有一个封禁中的司机,通过3行代码,完成(创建随机正常司机 -> 将司机状态置为封禁)
    RandomDriverConstants RandomDriverConstants = new RandomDriverConstants();
    randomDriverService.initData(randomDriverConstants);
    driverAdapter.updateDriverStatus(randomDriverConstants.driverId, "封禁状态的枚举");

    //使用工具为 构建接口请求参数 提效
    //不再编写大量req类,对象,以日志中的接口请求参数为模版,只修改要改的字段
    String req = jsonUtils.fileToStr("UnbanReq.json");
    req = jsonUtils.reqChangeKeyOfValue("driverId", randomDriverConstants.driverId, req);

    //使用工具为 发送接口请求 提效
    //切换环境、调用方式、参数编码等能力配置化
    Result result = requestUtil.transportPost("unban", req, Result.class);

    //使用工具为 校验程序运行结果 提效
    //快捷构建(校验程序运行后接口返回值DB、缓存、消息、日志是否正常)的代码
    assertion.verifyEquals(result.getRet(), "0");
    databaseQueryService.check("司机状态库表字段", "解封状态的枚举");
    redisQueryService.check("司机的缓存", "解封的缓存数据");
    kafkaReceiver.check("司机状态变更topic", "司机状态变更消息");
    loggerQueryService.check("解封接口运行打印的日志", "解封日志")
    
    //使用工具为 清理测试数据 提效
    //一步清除自动化产生的所有数据
    randomDriverService.clear(randomDriverConstants);
}

此外,还有许多其他用例编写提效工具,如:

CreatePICT:参数成对组合结合数据驱动(PICT:微软开源的成对组合测试工具)

//通过getPictOnQamp获取account_type和packet_type的全量组合
@DataProvider
public static Object[][] get_coupon_packet_list_packet_type() {
    String content ="account_type:4,3\n" +
            "packet_type:1,2,3,4,6,8\n" +
            "IF [account_type] = 3 THEN [packet_type] = 3 ;";
    Object[][] ob = IdUtil.getPictOnQamp(content, "2");
    return ob;
}

//PICT结果数据驱动
@Test(dataProvider = "get_coupon_packet_list_packet_type", dataProviderClass = XLCouponStoneDataProvider.class, description = "获取券包列表", priority = 1)
public void test001(String account_type, String packet_type) {
    xxx...
    context.getInput().put("account_type", account_type);
    context.getInput().put("packet_type", packet_type);
    xxx...
}

MockUtils:通过mock手段实现异常场景如try catch测试

货拉拉已有基于JVM-SandBox的Mock平台,实现对Mock配置的增删改查MockUtils,结合到测试用例中完成异常场景测试。

//挂载会员Mock应用
mockUtil.onlineMemberMock();
//添加会员Mock配置
Integer id = mockUtil.addMock(appId, mockClass, mockMethod, returnObj, ruleConfig);
//更新会员Mock状态
mockUtil.updateMock(id, appId, mockClass, mockMethod, returnObj, ruleConfig)

//发送请求,得到Mock异常返回
SOAResult soaResult = requestUtil.memberCenterSOAPost(path, method, req, SOAResult.class);

3.4 监控图表建设

基于上述能力与质量管理数据,获得服务接入、覆盖率进展、缺陷等关键数据,转化为前端图表,不再赘述。

4. 实践成果

4.1 自动化流程改进

BeforeNow
系统智能推荐用例QA团队基于业务熟悉度手动选择重要的服务、接口和场景进行自动化测试系统通过智能算法自动推荐待补充用例给QA,依据有效覆盖率和其他标准,大大提高了用例选择的准确性和效率
继承框架辅助能力用例的环境搭建、参数构造、结果断言、数据清理等步骤代码编写冗长,效率低下利用继承框架辅助能力,快速编写简洁的测试用例,显著提升编写效率和用例的可维护性
自动化覆盖率监控QA自行汇报服务的自动化程度,缺乏系统性的进度监控和质量保障平台定时统计自动化覆盖率和覆盖提升百分比,以此为依据监管自动化建设进度和人员工作分配,确保自动化测试的质量和进度

4.2 自动化收益提升

目前智动化测试方案已经在出行领域全面推广使用并且有较为显著的效果

  • 自动化有效覆盖率提升: 自动化建设批次40+服务在一个月内平均提升20%+ 有效覆盖率
  • 自动化缺陷率: 为单个服务 自动化发现的缺陷/所有缺陷 的比值。目前达到17% 左右(含增量需求自动化缺陷)
  • 自动化节省人力: 已有自动化测试的服务中,平均每个服务单次迭代可节省60% 的全量回归人力

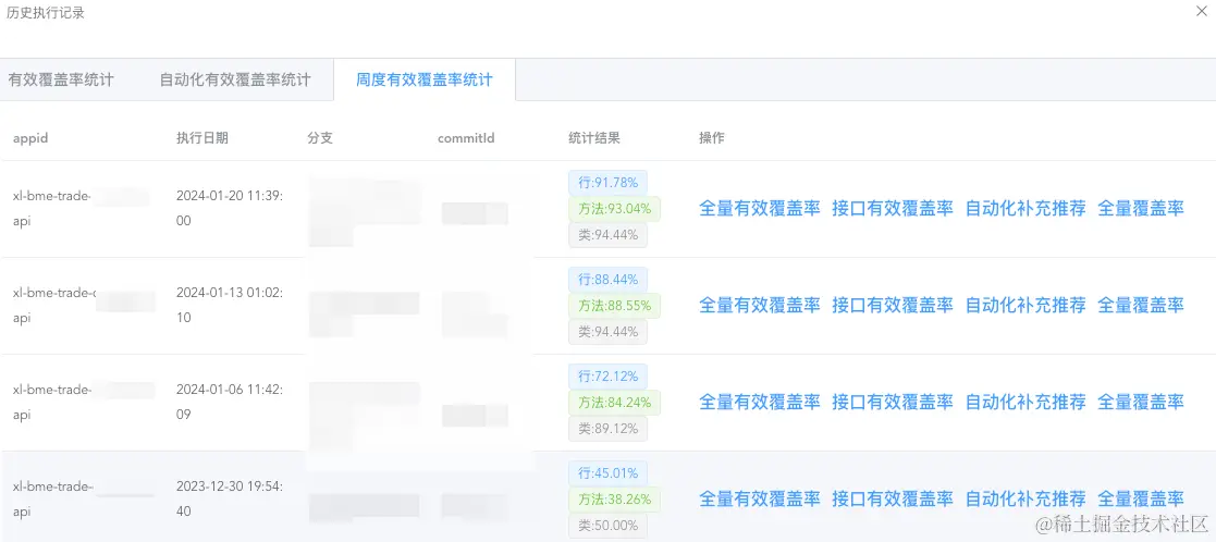
其中一个典型交易系统服务,一个月内通过持续补充平台推荐用例,有效代码覆盖率从45%提升至91%,剩余未覆盖代码行均为异常处理代码。此服务可认为达到自动化代替全量回归程度。

图:交易某服务一个月自动化覆盖率提升

5. 未来展望

目前展望,智动化测试仍有许多可探索的方向:

  • 有效覆盖率统计应用

    •   有效覆盖率统计能力相对独立,抛开自动化测试,仍可探索与手工测试、流量回放、精准测试或更多的质效项目结合应用。
  • 覆盖率流量智能隔离

    •   通过流量打标之类的手段,区分手工测试,自动化测试,流量回放等其余专项产生的代码覆盖率,各种测试行为共同进行互不干扰。
  • 智能用例生成

    •   结合大模型AI,探索基于模型的、基于数据的、基于自然语言处理的、基于强化学习的、基于代码分析的等测试用例生成策略,进一步为智动化测试提效。