k8s-整体概述和架构

217 阅读11分钟

image

原文:www.cnblogs.com/wwchihiro/p…

1、Kubernetes是什么

Kubernetes是一个轻便的和可扩展的开源平台,用于管理容器化应用和服务。通过Kubernetes能够进行应用的自动化部署和扩缩容。在Kubernetes中,会将组成应用的容器组合成一个逻辑单元以更易管理和发现。Kubernetes积累了作为Google生产环境运行工作负载15年的经验,并吸收了来自于社区的最佳想法和实践。Kubernetes经过这几年的快速发展,形成了一个大的生态环境,Google在2014年将Kubernetes作为开源项目。Kubernetes的关键特性包括:

  • 自动化装箱:在不牺牲可用性的条件下,基于容器对资源的要求和约束自动部署容器。同时,为了提高利用率和节省更多资源,将关键和最佳工作量结合在一起。
  • 自愈能力:当容器失败时,会对容器进行重启;当所部署的Node节点有问题时,会对容器进行重新部署和重新调度;当容器未通过监控检查时,会关闭此容器;直到容器正常运行时,才会对外提供服务。
  • 水平扩容:通过简单的命令、用户界面或基于CPU的使用情况,能够对应用进行扩容和缩容。
  • 服务发现和负载均衡:开发者不需要使用额外的服务发现机制,就能够基于Kubernetes进行服务发现和负载均衡。
  • 自动发布和回滚:Kubernetes能够程序化的发布应用和相关的配置。如果发布有问题,Kubernetes将能够回归发生的变更。
  • 保密和配置管理:在不需要重新构建镜像的情况下,可以部署和更新保密和应用配置。
  • 存储编排:自动挂接存储系统,这些存储系统可以来自于本地、公共云提供商(例如:GCP和AWS)、网络存储(例如:NFS、iSCSI、Gluster、Ceph、Cinder和Floker等)。

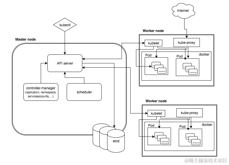
Kubernetes的整体架构

 

Kubernetes属于主从分布式架构,主要由Master Node和Worker Node组成,以及包括客户端命令行工具kubectl和其它附加项。

  • Master Node:作为控制节点,对集群进行调度管理;Master Node由API Server、Scheduler、Cluster State Store和Controller-Manger Server所组成;
  • Worker Node:作为真正的工作节点,运行业务应用的容器;Worker Node包含kubelet、kube proxy和Container Runtime;
  • kubectl:用于通过命令行与API Server进行交互,而对Kubernetes进行操作,实现在集群中进行各种资源的增删改查等操作;
  • Add-on:是对Kubernetes核心功能的扩展,例如增加网络和网络策略等能力。
  • repliceation 用于伸缩副本数量
  • endpoint 用于管理网络请求
  • scheduler 调度器

1、准备好一个包含应用程序的Deployment的yml文件,然后通过kubectl客户端工具发送给ApiServer。

2、ApiServer接收到客户端的请求并将资源内容存储到数据库(etcd)中。

3、Controller组件(包括scheduler、replication、endpoint)监控资源变化并作出反应。

4、ReplicaSet检查数据库变化,创建期望数量的pod实例。

5、Scheduler再次检查数据库变化,发现尚未被分配到具体执行节点(node)的Pod,然后根据一组相关规则将pod分配到可以运行它们的节点上,并更新数据库,记录pod分配情况。

6、Kubelete监控数据库变化,管理后续pod的生命周期,发现被分配到它所在的节点上运行的那些pod。如果找到新pod,则会在该节点上运行这个新pod。

7、kuberproxy运行在集群各个主机上,管理网络通信,如服务发现、负载均衡。例如当有数据发送到主机时,将其路由到正确的pod或容器。对于从主机上发出的数据,它可以基于请求地址发现远程服务器,并将数据正确路由,在某些情况下会使用轮训调度算法(Round-robin)将请求发送到集群中的多个实例。

Kubernetes及容器生态系统

 

 

典型的流程

创建Pod的整个流程,时序图如下:

1. 用户提交创建Pod的请求,可以通过API Server的REST API ,也可用Kubectl命令行工具,支持Json和Yaml两种格式;

2. API Server 处理用户请求,存储Pod数据到Etcd;

3. Schedule通过和 API Server的watch机制,查看到新的pod,尝试为Pod绑定Node;

4. 过滤主机:调度器用一组规则过滤掉不符合要求的主机,比如Pod指定了所需要的资源,那么就要过滤掉资源不够的主机;

5. 主机打分:对第一步筛选出的符合要求的主机进行打分,在主机打分阶段,调度器会考虑一些整体优化策略,比如把一个Replication Controller的副本分布到不同的主机上,使用最低负载的主机等;

6. 选择主机:选择打分最高的主机,进行binding操作,结果存储到Etcd中;

7. kubelet根据调度结果执行Pod创建操作: 绑定成功后,会启动container, docker run, scheduler会调用API Server的API在etcd中创建一个bound pod对象,描述在一个工作节点上绑定运行的所有pod信息。运行在每个工作节点上的kubelet也会定期与etcd同步bound pod信息,一旦发现应该在该工作节点上运行的bound pod对象没有更新,则调用Docker API创建并启动pod内的容器。

2 Master Node(主节点)

2.1 API Server(API服务器)

API Server主要用来处理REST的操作,确保它们生效,并执行相关业务逻辑,以及更新etcd(或者其他存储)中的相关对象。API Server是所有REST命令的入口,它的相关结果状态将被保存在etcd(或其他存储)中。API Server的基本功能包括:

  • REST语义,监控,持久化和一致性保证,API 版本控制,放弃和生效
  • 内置准入控制语义,同步准入控制钩子,以及异步资源初始化
  • API注册和发现

另外,API Server也作为集群的网关。默认情况,客户端通过API Server对集群进行访问,客户端需要通过认证,并使用API Server作为访问Node和Pod(以及service)的堡垒和代理/通道。

2.2 Cluster state store(集群状态存储)

Kubernetes默认使用etcd作为集群整体存储,当然也可以使用其它的技术。etcd是一个简单的、分布式的、一致的key-value存储,主要被用来共享配置和服务发现。etcd提供了一个CRUD操作的REST API,以及提供了作为注册的接口,以监控指定的Node。集群的所有状态都存储在etcd实例中,并具有监控的能力,因此当etcd中的信息发生变化时,就能够快速的通知集群中相关的组件。

2.3 Controller-Manager Server(控制管理服务器)

Controller-Manager Serve用于执行大部分的集群层次的功能,它既执行生命周期功能(例如:命名空间创建和生命周期、事件垃圾收集、已终止垃圾收集、级联删除垃圾收集、node垃圾收集),也执行API业务逻辑(例如:pod的弹性扩容)。控制管理提供自愈能力、扩容、应用生命周期管理、服务发现、路由、服务绑定和提供。Kubernetes默认提供Replication Controller、Node Controller、Namespace Controller、Service Controller、Endpoints Controller、Persistent Controller、DaemonSet Controller等控制器。

2.4 Scheduler(调度器)

scheduler组件为容器自动选择运行的主机。依据请求资源的可用性,服务请求的质量等约束条件,scheduler监控未绑定的pod,并将其绑定至特定的node节点。Kubernetes也支持用户自己提供的调度器,Scheduler负责根据调度策略自动将Pod部署到合适Node中,调度策略分为预选策略和优选策略,Pod的整个调度过程分为两步:

1)预选Node:遍历集群中所有的Node,按照具体的预选策略筛选出符合要求的Node列表。如没有Node符合预选策略规则,该Pod就会被挂起,直到集群中出现符合要求的Node。

2)优选Node:预选Node列表的基础上,按照优选策略为待选的Node进行打分和排序,从中获取最优Node。

3、Worker Node(从节点)

3.1 Kubelet

Kubelet是Kubernetes中最主要的控制器,它是Pod和Node API的主要实现者,Kubelet负责驱动容器执行层。在Kubernetes中,应用容器彼此是隔离的,并且与运行其的主机也是隔离的,这是对应用进行独立解耦管理的关键点。

在Kubernets中,Pod作为基本的执行单元,它可以拥有多个容器和存储数据卷,能够方便在每个容器中打包一个单一的应用,从而解耦了应用构建时和部署时的所关心的事项,已经能够方便在物理机/虚拟机之间进行迁移。API准入控制可以拒绝或者Pod,或者为Pod添加额外的调度约束,但是Kubelet才是Pod是否能够运行在特定Node上的最终裁决者,而不是scheduler或者DaemonSet。kubelet默认情况使用cAdvisor进行资源监控。负责管理Pod、容器、镜像、数据卷等,实现集群对节点的管理,并将容器的运行状态汇报给Kubernetes API Server。

3.2 Container Runtime(容器运行时)

每一个Node都会运行一个Container Runtime,其负责下载镜像和运行容器。Kubernetes本身并不停容器运行时环境,但提供了接口,可以插入所选择的容器运行时环境。kubelet使用Unix socket之上的gRPC框架与容器运行时进行通信,kubelet作为客户端,而CRI shim作为服务器。

protocol buffers API提供两个gRPC服务,ImageService和RuntimeService。ImageService提供拉取、查看、和移除镜像的RPC。RuntimeSerivce则提供管理Pods和容器生命周期管理的RPC,以及与容器进行交互(exec/attach/port-forward)。容器运行时能够同时管理镜像和容器(例如:Docker和Rkt),并且可以通过同一个套接字提供这两种服务。在Kubelet中,这个套接字通过*–container-runtime-endpoint–image-service-endpoint*字段进行设置。Kubernetes CRI支持的容器运行时包括docker、rkt、cri-o、frankti、kata-containers和clear-containers等。

3.3 kube proxy

基于一种公共访问策略(例如:负载均衡),服务提供了一种访问一群pod的途径。此方式通过创建一个虚拟的IP来实现,客户端能够访问此IP,并能够将服务透明的代理至Pod。每一个Node都会运行一个kube-proxy,kube proxy通过iptables规则引导访问至服务IP,并将重定向至正确的后端应用,通过这种方式kube-proxy提供了一个高可用的负载均衡解决方案。服务发现主要通过DNS实现。

在Kubernetes中,kube proxy负责为Pod创建代理服务;引到访问至服务;并实现服务到Pod的路由和转发,以及通过应用的负载均衡。

3.4 kubectl

kubectl是Kubernetes集群的命令行接口。运行kubectl命令的语法如下所示:

$ kubectl [command] [TYPE] [NAME] [flags]

这里的command,TYPE、NAME和flags为:

  • comand:指定要对资源执行的操作,例如create、get、describe和delete
  • TYPE:指定资源类型,资源类型是大小学敏感的,开发者能够以单数、复数和缩略的形式。例如:
$ kubectl get pod pod1 
$ kubectl get pods pod1 
$ kubectl get po pod1
  • NAME:指定资源的名称,名称也大小写敏感的。如果省略名称,则会显示所有的资源,例如:
 $kubectl get pods
  • flags:指定可选的参数。例如,可以使用-s或者–server参数指定Kubernetes API server的地址和端口。

另外,可以通过运行kubectl help命令获取更多的信息。

4 附加项和其他依赖

在Kunbernetes中可以以附加项的方式扩展Kubernetes的功能,目前主要有网络、服务发现和可视化这三大类的附加项,下面是可用的一些附加项:

4.1 网络和网络策略

  • ACI 通过与Cisco ACI集成的容器网络和网络安全。
  • Calico 是一个安全的3层网络和网络策略提供者。
  • Canal 联合Fannel和Calico,通过网络和网络侧。
  • Cilium 是一个3层网络和网络侧插件,它能够透明的加强HTTP/API/L7 策略。其即支持路由,也支持overlay/encapsultion模式。
  • Flannel 是一个overlay的网络提供者。

4.2 服务发现

  • CoreDNS 是一个灵活的,可扩展的DNS服务器,它能够作为Pod集群内的DNS进行安装。
  • Ingress 提供基于Http协议的路由转发机制。

4.3 可视化&控制

  • Dashboard 是Kubernetes的web用户界面。