如何提升 ETF 期权隐含波动率和希腊值的计算速度?

177 阅读10分钟

期权的隐含波动率可以反应市场对未来的预期,通常使用牛顿法和二分法来计算。这两种方法都需要频繁迭代,且迭代次数不能确定,核心代码无法向量化,因此只能通过循环来逼近求解。这就导致在期权相关计算中,隐含波动率往往容易成为性能的瓶颈。

DolphinDB 的计算逻辑使用脚本语言编写,但底层调用的是 C++ 代码,存在脚本解释的过程。为了提高脚本的执行效率,DolphinDB 从 1.01 版本开始支持即时编译(JIT)功能,特别适合于无法使用向量化运算但又对运行速度有极高要求的场景。

本教程将基于客户的实际需求,以二分法计算 ETF 期权的隐含波动率及希腊值为例,为大家示范如何使用 DolphinDB 的 JIT 功能给计算过程加速,并与 C++ 原生代码进行了计算性能对比测试,结果表明 DolphinDB 脚本计算耗时为 C++ 原生代码的 1.5 倍。

1. 数据表结构

1.1 期权日频数据表

字符串字段使用 SYMBOL 类型和 STRING 类型存储的差异,参考: 数据类型 — DolphinDB 2.0 文档的字符串部分内容。

期权日频数据表在 DolphinDB 中存储时,建议在时间维度按年分区即可,创建库表的代码如下:

login("admin", "123456")
dbName = "dfs://optionPrice"
tbName = "optionPrice"
if(existsDatabase(dbName)){
	dropDatabase(dbName)
}
db = database(dbName, RANGE, date(datetimeAdd(2000.01M,0..50*12,'M')))
colNames = `tradedate`sym`codes`closeprice`etf`etfprice
colTypes = [DATE, SYMBOL, SYMBOL, DOUBLE, SYMBOL, DOUBLE]
schemaTable = table(1:0, colNames, colTypes)
db.createPartitionedTable(table=schemaTable, tableName=tbName, partitionColumns=`tradedate)

读取 50 ETF 日频数据,代码如下:

data = select * from loadTable("dfs://optionPrice", "optionPrice") where sym =`510050

data 是表变量,具体数据内容如下图所示:

通过 panel 函数对 data 进行透视操作,将窄表数据展成矩阵,生成期权日收盘价矩阵,代码如下:

closPriceWideMatrix = panel(data.codes, data.tradeDate, data.closePrice)

closPriceWideMatrix 是矩阵变量,具体数据内容如下图所示:

通过 panel 函数对 data 进行透视操作,将窄表数据展成矩阵,生成期权合成价格矩阵,代码如下:

etfPriceWideMatrix = panel(data.codes, data.tradeDate, data.etfprice)

etfPriceWideMatrix 是矩阵变量,具体数据内容如下图所示:

1.2 期权信息

期权信息数据在 DolphinDB 中存储时,建议在证券代码维度按值分区即可,创建库表的代码如下:

login("admin", "123456")
dbName = "dfs://optionInfo"
tbName = "optionInfo"
if(existsDatabase(dbName)){
	dropDatabase(dbName)
}
db = database(dbName, VALUE, `510050`510300)
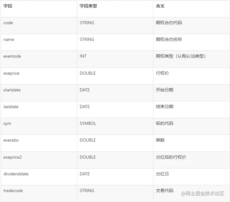
colNames = `code`name`exemode`exeprice`startdate`lastdate`sym`exeratio`exeprice2`dividenddate`tradecode
colTypes = [STRING, STRING, INT, DOUBLE, DATE, DATE, SYMBOL, DOUBLE, DOUBLE, DATE, STRING]
schemaTable = table(1:0, colNames, colTypes)
db.createPartitionedTable(table=schemaTable, tableName=tbName, partitionColumns=`sym)

读取数据:

contractInfo = select * from loadTable("dfs://optionInfo", "optionInfo") where sym =`510050

contractInfo 是表变量,具体数据内容如下图所示:

1.3 交易日历

交易日历存放在单列 csv 文件中,可以使用 DolphinDB 的 loadText 函数接口直接读取:

//交易日历csv文件路径
tradingDatesAbsoluteFilename = "/hdd/hdd9/tutorials/jitAccelerated/tradedate.csv"
startDate = 2015.02.01
endDate = 2022.03.01
//读取csv文件
allTradingDates = loadText(tradingDatesAbsoluteFilename)
//生成交易日向量
tradingDates = exec tradedate from allTradingDates where tradedate<endDate and tradedate >startDate

allTradingDates 是表变量,可以使用 exec 函数将表中的某一列转成向量变量,tradingDates 是向量变量。

2. 计算函数代码开发

2.1 隐含波动率

DolphinDB 脚本语言需要先解释再执行,计算密集的代码如果不能向量化,在脚本层面使用 while 和 for 循环以及条件分支,就会比较耗时。期权隐含波动率计算的步骤,由于使用了上下限值循环逼近的二分法,正是需要 JIT 加速的计算类型。以下就是二分法逼近隐含波动率的代码:

@jit
def calculateD1JIT(etfTodayPrice, KPrice, r, dayRatio, HLMean){
	skRatio = etfTodayPrice / KPrice
	denominator = HLMean * sqrt(dayRatio)
	result = (log(skRatio) + (r + 0.5 * pow(HLMean, 2)) * dayRatio) / denominator
	return result
}

@jit
def calculatePriceJIT(etfTodayPrice, KPrice , r , dayRatio , HLMean , CPMode){
	testResult = 0.0
	if (HLMean <= 0){
		testResult = CPMode * (etfTodayPrice - KPrice)
		if(testResult<0){
			return 0.0
		}
		return testResult
	}
	d1 = calculateD1JIT(etfTodayPrice, KPrice, r, dayRatio, HLMean)
	d2 = d1 - HLMean * sqrt(dayRatio)
	price = CPMode * (etfTodayPrice * cdfNormal(0, 1, CPMode * d1) - KPrice * cdfNormal(0, 1, CPMode * d2) * exp(-r * dayRatio))
	return price
}

@jit
def calculateImpvJIT(optionTodayClose, etfTodayPrice, KPrice, r, dayRatio, CPMode){
	v = 0.0	
	high = 2.0
	low = 0.0
	do{
		if ((high - low) <= 0.00001){
			break
		}
		HLMean = (high + low) / 2.0
		if (calculatePriceJIT(etfTodayPrice, KPrice, r, dayRatio, HLMean, CPMode) > optionTodayClose){
			high = HLMean
		}
		else{
			low = HLMean
		}
	}
	while(true)
	v = (high + low) / 2.0
	return v
}

def calculateImpv(optionTodayClose, etfTodayPrice, KPrice, r, dayRatio, CPMode){
	originalShape = optionTodayClose.shape()
	optionTodayClose_vec = optionTodayClose.reshape()
	etfTodayPrice_vec = etfTodayPrice.reshape()
	KPrice_vec = KPrice.reshape()
	dayRatio_vec = dayRatio.reshape()
	CPMode_vec = CPMode.reshape()
	impvTmp = each(calculateImpvJIT, optionTodayClose_vec, etfTodayPrice_vec, KPrice_vec, r, dayRatio_vec, CPMode_vec)	
	impv = impvTmp.reshape(originalShape)	
	return impv
}

calculateImpvJIT 是计算隐含波动的核心代码,其入参 optionTodayClose, etfTodayPrice, KPrice, r, dayRatio, CPMode 都是标量对象,其调用的 calculatePriceJIT 函数和 calculateD1JIT 函数都通过 @jit 装饰器的方式封装成 JIT 函数,以达到加速计算的目的。

calculateImpv 是计算隐含波动的最终调用函数,其入参 optionTodayClose, etfTodayPrice, KPrice, dayRatio, CPMode 都是矩阵对象,其主要作用是把输入和输出进行矩阵和向量的转换,以适不同函数的入参和输出。在后面 delta, gamma, vega, theta 计算时,也会用到这些矩阵入参,这里以 2015 年 2 月 16 日的 50ETF 为例进行展示。

  • optionTodayClose

  • etfTodayPrice

  • KPrice

  • dayRatio

  • CPMode

2.2 delta

delta 表示期权价格对标的资产价格的变动率,即标的资产价格每变动一个单位,期权价格产生的变化。

delta 的计算可以方便地实现向量化计算,所以不需要调用 JIT 功能,其代码如下:

def calculateD1(etfTodayPrice, KPrice, r, dayRatio, HLMean){
	skRatio = etfTodayPrice / KPrice
	denominator = HLMean * sqrt(dayRatio)
	result = (log(skRatio) + (r + 0.5 * pow(HLMean, 2)) * dayRatio) / denominator
	return result
}

def cdfNormalMatrix(mean, stdev, X){
	originalShape = X.shape()
	X_vec = X.reshape()
	result = cdfNormal(mean, stdev, X_vec)
	return result.reshape(originalShape)
}

def calculateDelta(etfTodayPrice, KPrice, r, dayRatio, impvMatrix, CPMode){
	delta = iif(
			impvMatrix <= 0,
			0,
			0.01*etfTodayPrice*CPMode*cdfNormalMatrix(0, 1, CPMode * calculateD1(etfTodayPrice, KPrice, r, dayRatio, impvMatrix))
		)
	return delta
}

calculateDelta 是计算 delta 的最终调用函数,其入参 etfTodayPrice, KPrice, dayRatio, impvMatrix, CPMode 都是矩阵对象。

2.3 gamma

gamma 表示 delta 对于标的资产价格的变动率,即标的资产价格每变动一个单位,delta 值产生的变化。

gamma 的计算可以方便地实现向量化计算,所以不需要调用 JIT 功能,其代码如下:

def normpdf(x){
	return exp(-pow(x, 2)/2.0)/sqrt(2*pi)
}

def calculateD1(etfTodayPrice, KPrice, r, dayRatio, HLMean){
	skRatio = etfTodayPrice / KPrice
	denominator = HLMean * sqrt(dayRatio)
	result = (log(skRatio) + (r + 0.5 * pow(HLMean, 2)) * dayRatio) / denominator
	return result
}

def calculateGamma(etfTodayPrice, KPrice, r, dayRatio, impvMatrix){
	gamma = iif(
			impvMatrix <= 0,
			0,
			(normpdf(calculateD1(etfTodayPrice,  KPrice, r, dayRatio, impvMatrix)) \ (etfTodayPrice * impvMatrix * sqrt(dayRatio))) * pow(etfTodayPrice, 2) * 0.0001
		)	
	return gamma
}

calculateGamma 是计算 gamma 的最终调用函数,其入参 etfTodayPrice, KPrice, dayRatio, impvMatrix 都是矩阵对象。

2.4 vega

vega 表示波动率单位变动对期权价格产生的变化。

vega 的计算可以方便地实现向量化计算,所以不需要调用 JIT 功能,其代码如下:

def normpdf(x){
	return exp(-pow(x, 2)/2.0)/sqrt(2*pi)
}

def calculateD1(etfTodayPrice, KPrice, r, dayRatio, HLMean){
	skRatio = etfTodayPrice / KPrice
	denominator = HLMean * sqrt(dayRatio)
	result = (log(skRatio) + (r + 0.5 * pow(HLMean, 2)) * dayRatio) / denominator
	return result
}

def calculateVega(etfTodayPrice, KPrice, r, dayRatio, impvMatrix){
	vega = iif(
			impvMatrix <= 0,
			0,
			etfTodayPrice * normpdf(calculateD1(etfTodayPrice, KPrice, r, dayRatio, impvMatrix)) * sqrt(dayRatio)
		)
	return vega \ 100.0
}

calculateVega 是计算 vega 的最终调用函数,其入参 etfTodayPrice, KPrice, dayRatio, impvMatrix 都是矩阵对象。

2.5 theta

theta 表示时间流逝对期权价格产生的变化,即每减少一天,期权价格的变化值。

theta 的计算可以方便地实现向量化计算,所以不需要调用 JIT 功能,其代码如下:

def calculateD1(etfTodayPrice, KPrice, r, dayRatio, HLMean){
	skRatio = etfTodayPrice / KPrice
	denominator = HLMean * sqrt(dayRatio)
	result = (log(skRatio) + (r + 0.5 * pow(HLMean, 2)) * dayRatio) / denominator
	return result
}

def normpdf(x){
	return exp(-pow(x, 2)/2.0)/sqrt(2*pi)
}

def cdfNormalMatrix(mean, stdev, X){
	originalShape = X.shape()
	X_vec = X.reshape()
	result = cdfNormal(mean, stdev, X_vec)
	return result.reshape(originalShape)
}


def calculateTheta(etfTodayPrice, KPrice, r, dayRatio, impvMatrix, CPMode){
	annualDays = 365
	d1 = calculateD1(etfTodayPrice, KPrice, r, dayRatio, impvMatrix)
	d2 = d1 - impvMatrix * sqrt(dayRatio)
	theta = (-etfTodayPrice * normpdf(d1) * impvMatrix \ (2 * sqrt(dayRatio)) - CPMode * r * KPrice * exp(-r * dayRatio) *cdfNormalMatrix(0, 1, CPMode * d2)) \ annualDays
	result = iif(impvMatrix<= 0, 0, theta)	
	return result
}

calculateTheta 是计算 theta 的最终调用函数,其入参 etfTodayPrice, KPrice, dayRatio, impvMatrix, CPMode 都是矩阵对象。

2.6 单日计算函数

开发完最核心的计算函数后,可以自定义一个单日计算函数,计算指定日期的隐含波动率和希腊值,其代码如下:

def calculateOneDayGreek(closPriceWideMatrix, etfPriceWideMatrix, contractInfo, targetDate){
	targetDate_vec = [targetDate]
	r = 0
	optionTodayClose = getTargetDayOptionClose(closPriceWideMatrix, targetDate_vec)
	validContractsToday = optionTodayClose.columnNames()
	etfTodayPrice = getTargetDayEtfPrice(etfPriceWideMatrix, targetDate_vec)
	KPrice, dayRatio, CPMode = getTargetDayContractInfo(contractInfo, validContractsToday, targetDate_vec)
	impvMatrix = calculateImpv(optionTodayClose, etfTodayPrice, KPrice, r, dayRatio, CPMode)
	deltaMatrix = calculateDelta(etfTodayPrice, KPrice, r, dayRatio, impvMatrix, CPMode)\(etfTodayPrice*0.01)
	gammaMatrix = calculateGamma(etfTodayPrice, KPrice, r, dayRatio, impvMatrix)\(pow(etfTodayPrice, 2) * 0.0001)
	vegaMatrix = calculateVega(etfTodayPrice, KPrice, r, dayRatio, impvMatrix)
	thetaMatrix = calculateTheta(etfTodayPrice, KPrice, r, dayRatio, impvMatrix, CPMode)
	todayTable = table(validContractsToday as optionID, impvMatrix.reshape() as impv, deltaMatrix.reshape() as delta, gammaMatrix.reshape() as gamma, vegaMatrix.reshape() as vega, thetaMatrix.reshape() as theta)
	todayTable["tradingDate"] = targetDate
	todayTable.reorderColumns!(["optionID", "tradingDate"])
	return todayTable
}

calculateOneDayGreek 的入参 closPriceWideMatrix, etfPriceWideMatrix 是矩阵对象(参考第 1 章节的读取数据),contractInfo 是表对象(参考第 1 章节的读取数据),targetDate 是标量对象。

calculateOneDayGreek 函数还调用了 getTargetDayOptionClose 函数, getTargetDayEtfPrice 函数和 getTargetDayContractInfo 函数,调用的目的是从全量数据中获取计算当日的有效信息,代码如下:

/*
 * 按合约和交易日在期权日频收盘价矩阵中寻找对应价格
 */
def getTargetDayOptionClose(closPriceWideMatrix, targetDate){
	colNum = closPriceWideMatrix.colNames().find(targetDate)
	return closPriceWideMatrix[colNum].transpose().dropna(byRow = false)
}

/*
 * 按合约和交易日在期权合成期货价格矩阵中寻找对应价格
 */
def getTargetDayEtfPrice(etfPriceWideMatrix, targetDate){
	colNum = etfPriceWideMatrix.colNames().find(targetDate)
	return etfPriceWideMatrix[colNum].transpose().dropna(byRow = false)
}

/*
 * 根据合约和交易日在期权信息表中寻找 KPrice, dayRatio, CPMode
 */
def getTargetDayContractInfo(contractInfo, validContractsToday, targetDate){
	targetContractInfo = select code, exemode, exeprice, lastdate, exeprice2, dividenddate, targetDate[0] as tradingDate from contractInfo where Code in validContractsToday
	KPrice = exec iif(tradingDate<dividenddate, exeprice2, exeprice) from targetContractInfo pivot by tradingDate, code
	dayRatio = exec (lastdate-tradingDate)\365.0 from targetContractInfo pivot by tradingDate, Code
	CPMode = exec exemode from targetContractInfo pivot by tradingDate, Code
	return KPrice, dayRatio, CPMode
}

calculateOneDayGreek 函数的具体使用方法会在下一章说明。

2.7 多日并行计算函数

自定义单日计算函数后,可以再自定义一个多日并行计算函数,其代码如下:

def calculateAll(closPriceWideMatrix, etfPriceWideMatrix, contractInfo, tradingDates, mutable result){
	calculator = partial(calculateOneDayGreek, closPriceWideMatrix, etfPriceWideMatrix, contractInfo)
	timer{
		allResult = ploop(calculator, tradingDates)
	}
	for(oneDayResult in allResult){
		append!(result, oneDayResult)
	}	
}

calculateAll 是自定义的多日并行计算函数,主要用到了 DolphinDB 内置的 partial 部分应用函数ploop 并行计算函数,直接传入要并行的函数和入参,不必像其他语言一样先定义线程池 / 进程池。calculateAll 函数的具体使用方法会在下一章说明。

3. 计算性能测试

测试的交易日范围从 2015 年 2 月到 2022 年 3 月,实际交易日 1729 天。测试的期权品种是 50 ETF,证券代码为 510050,涉及期权合约共 3124 个。

3.1 测试环境

  • CPU 类型:Intel (R) Xeon (R) Silver 4216 CPU @ 2.10GHz

  • 逻辑 CPU 总数:8

  • 内存:64GB

  • OS:64 位 CentOS Linux 7 (Core)

  • DolphinDB server 版本:2.00.8 JIT

3.2 单日计算性能测试

单线程单日计算性能测试代码如下:

//定义单日性能测试函数
def testOneDayPerformance(closPriceWideMatrix, etfPriceWideMatrix, contractInfo, targetDate){
	targetDate_vec = [targetDate]
	r = 0
	optionTodayClose = getTargetDayOptionClose(closPriceWideMatrix, targetDate_vec)
	validContractsToday = optionTodayClose.columnNames()
	etfTodayPrice = getTargetDayEtfPrice(etfPriceWideMatrix, targetDate_vec)
	KPrice, dayRatio, CPMode = getTargetDayContractInfo(contractInfo, validContractsToday, targetDate_vec)
	timer{
		impvMatrix = calculateImpv(optionTodayClose, etfTodayPrice, KPrice, r, dayRatio, CPMode)
		deltaMatrix = calculateDelta(etfTodayPrice, KPrice, r, dayRatio, impvMatrix, CPMode)\(etfTodayPrice*0.01)
		gammaMatrix = calculateGamma(etfTodayPrice, KPrice, r, dayRatio, impvMatrix)\(pow(etfTodayPrice, 2) * 0.0001)
		vegaMatrix = calculateVega(etfTodayPrice, KPrice, r, dayRatio, impvMatrix)
		thetaMatrix = calculateTheta(etfTodayPrice, KPrice, r, dayRatio, impvMatrix, CPMode)
	}
	todayTable = table(validContractsToday as optionID, impvMatrix.reshape() as impv, deltaMatrix.reshape() as delta, gammaMatrix.reshape() as gamma, vegaMatrix.reshape() as vega, thetaMatrix.reshape() as theta)
	todayTable["tradingDate"] = targetDate
	todayTable.reorderColumns!(["optionID", "tradingDate"])
	return todayTable
}
//执行单日性能测试函数
oneDay = testOneDayPerformance(closPriceWideMatrix, etfPriceWideMatrix, contractInfo, 2022.02.28)

测试结果如下:

  • 计算日期为 2022 年 2 月 28 日

  • 测试的期权品种是 50 ETF,涉及期权合约共 136 个

  • DolphinDB 脚本计算总耗时为 2.1 ms

  • C++ 原生代码计算总耗时为 1.02 ms

3.3 多日并行计算性能测试

多日并行计算性能测试代码如下:

//创建存储计算结果的表变量
result = table(
		array(SYMBOL, 0) as optionID,
		array(DATE, 0) as tradingDate,
		array(DOUBLE, 0) as impv,
		array(DOUBLE, 0) as delta,
		array(DOUBLE, 0) as gamma,
		array(DOUBLE, 0) as vega,
		array(DOUBLE, 0) as theta
	)
//执行多日并行计算函数
calculateAll(closPriceWideMatrix, etfPriceWideMatrix, contractInfo, tradingDates, result)

测试结果如下:

  • 计算日期为 2015 年 2 月到 2022 年 3 月

  • 测试的期权品种是 50 ETF,涉及期权合约共 3124 个

  • 计算的并行度为 8,测试环境的 8 个 CPU 满负荷运行

  • DolphinDB 脚本计算总耗时为 300 ms

  • C++ 原生代码计算总耗时为 200 ms

计算过程中的 CPU 使用率:

4. 总结

本教程中期权隐含波动率的计算使用了 JIT 功能提速,其余希腊值的计算使用了向量化计算。我们测试了 2015 年 2 月到 2022 年 3 月 50 ETF 所有期权合约的隐含波动率和希腊值的计算性能,在 8 个 CPU 满负荷运行下,DolphinDB 脚本计算总耗时为 300 ms,C++ 原生代码计算总耗时为 200 ms,耗时相差 50% 左右。

关于 DolphinDB JIT 的更多详细特性,可以参考 DolphinDB JIT 教程

通过 DolphinDB 下载连接下载 DolphinDB server 进行测试的时候,必须选择包含 JIT 功能的安装包,如下图所示:

附录

调用计算函数的计算脚本.txt

期权隐含波动率和希腊值计算函数.txt