【2020 电设G题 图像题解】

212 阅读12分钟

点击获取博主联系方式\

目录

1、题目要求

在这里插入图片描述
在这里插入图片描述

2、解题

本设计采用STM32F103ZET单片机作为主处理器,设计了非接触物体尺寸形态测量系统,包括核心板模块、主板降压及管脚设计模块、键盘输入模块、图像处理模块、激光测距模块、LCD彩屏模块、蜂鸣器模块、led灯模块、以及机械模型构成。系统采用OpenMV4 H7 Cam摄像头、STM32单片机、舵机构成闭环反馈电路,根据激光测距反馈回的信息,以及图像处理后反馈,控制舵机对方向及角度进行处理使摄像头和激光对准识别物,利用图像的处理来判断识别物的形状和尺寸,再利用激光测距模块测量出测量头中心点与被测目标之间的距离。该系统具有良好的性能,且具有很好的稳定性。

一、系统方案

1.1 技术路线

本系统采用Open mv、云台构成闭环回路系统。其中Open mv获得的位置信息反馈到单片机,单片机根据位置信息控制云台转向。达到目标之后,通过单片机控制激光测距模块进行距离的测量和通过 Open mv进行图像的处理来判断识别物的形状及尺寸。

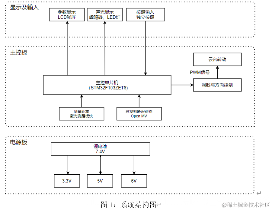
1.2 系统结构

在这里插入图片描述
总体结构分为3个部分:输入输出的显示板、主控板、电源。其他模块通过接口与主控板相连。各个模块协调,共同非接触物体尺寸形态测量的任务。

1.3 方案论证比较

1.3.1 机械结构的选择
本系统设计中,由于摄像头要寻找目标,所以位置会受到多方面因素影响,因此机械结构对此次设计也起着重要作用。
方案一:采用步进电机+舵机的云台设计
步进电机的优点是步数可以精确控制,但是启动频率过高或负载过大易出现失步或堵转的现象,造成工作不够稳定,并且在慢速转动时速度不够平缓,不利于激光模块以及摄像头的稳定性
方案二:采用舵机+舵机的云台设计
此次使用的为数字舵机,打角范围约在300°,通过调控占空比改变舵机角度,更为精准,同时相比步进电机而言,更为稳定,对整体的结构稳定性更为有保障,能够满足转向与平衡要求。
基于上述分析,本设计选择方案二。
1.3.2测距模块模块的选择
题目要求测量出测量头中心点与被测目标之间的距离。所有测距模块的选取决定了测量数据的准确性。
方案一:红外测距模块
红外测距模块是用红外线为介质的测量系统,测量范围广,响应时间短。价格便宜,接线简单,体积小便于安装和使用。但市面上常见的红外测距模块大多都在1.5米距离内比较准确。但题目的最远要求是3米。
方案二:激光测距模块
激光测距模块精度高,测速快,分辨率高,测量距离远(本设计采用的可达到40米),足以满足题目3米的要求。是一款稳定、精准、偏室内应用的模块。价格偏贵。
基于上述分析,本设计选择方案二。
1.3.3 舵机供电的选择
方案一:线性电源驱动。线性电源由于没有采用开关器件,理论上不会产生任何开关噪声,输出电源非常干净,但线性电源的效率极低,大电流时发热严重,严重影响电源稳定性,线性电源普遍带负载能力较弱,受输入电压的影响较大,本题中,舵机有时候需要瞬间大幅度运动,需要极大的功率支持,若使用线性电源会大大地降低系统的可靠性。
方案二:开关电源驱动。开关电源效率高,能够驱动大功率器件,且输出稳定不会收到输入电压的干扰,但由于其工作特点,输出电压中会含有一定频率的噪声,但可以在输出端加旁路电容在一定程度上抑制噪声,使其并不会对舵机正常工作造成影响。
因此根据本题中舵机的大功率需求,我们决定采用方案二。
1.3.4 显示方案的选择
方案一:OLED显示屏模块
OLED显示屏幕可视角度大,功耗低,厚度薄,体积小,温度范围广,结构及制程简单等特点。比较适合小系统。但现成的OLED模块的尺寸比较偏小。其次颜色比较单一。
方案二:LCD彩屏模块
LCD彩屏模块分辨率较高,尺寸比较大,并且是彩色的,所以看起来比较清楚。本设计采用的STM32核心板上有LCD彩屏模块所对应的FPC接口,连接起来比较方便。
基于上述分析,本设计选择方案二。

二、理论分析与计算

2.1 物体形状的测量方法

已知物体分为两大类,一类是纯色块物体,另一类为球类物体
纯色块物体我们选择先用LAB色域进行阈值分割,利用连通域算法,获取每张图中每个连通域的面积、密度比、圆形度等参数,由于每个形状的连通域在这些特征的分布不同,可以进行多分类操作。在后续测试中我们又发现由于光照的影响,连通域的形变程度较严重,圆形与方形容易产生混淆。于是又加入了霍夫圆变换,先判断圆再去对三角形与正方形进行二分类。这样效果较好。
球类物体我们仍然选择通过色域特征限制以及霍夫圆变换进行特征筛选。其中排球以及黑白足球由于颜色的不均匀导致两种方法都出现比较严重的漏判。后来选择利用连通域的筛选,确定不同色块的位置组合,再通过聚类算法,找出色块密度最大的区域,进行框定。

2.2 物体尺寸的测量方法

通过激光测距获取距离,由于不同色块的连通域像素数目并不一致,使用边长为40厘米的不同颜色的目标板进行标定。假设连通域像素个数与目标物体的实际面积在同一距离下呈现线性关系,所以只需要拟合出线性函数的系数k与距离的映射关系即可,这里我们用二次函数拟合曲线,结果如下:
2.2.1 图像连通域面积与现实面积的映射函数
在这里插入图片描述
Matlab拟合曲线图:
蓝色块映射函数: 红色块映射函数: 绿色块映射函数:
在这里插入图片描述
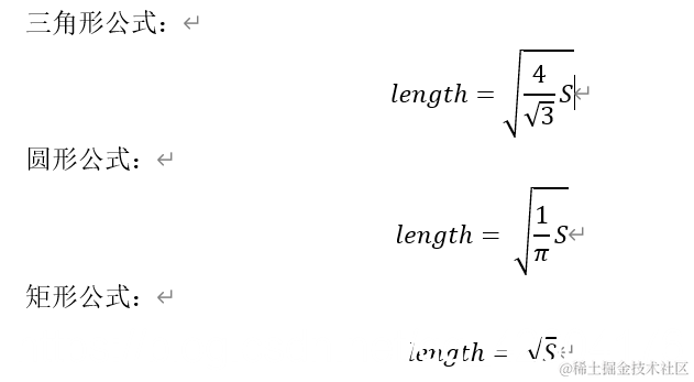
计算好面积系数k之后,利用k和连通域面积计算得出真实的物体面积,然后根据几何物体的形状(三角形、圆形、正方形)用不同的面积公式反算出边长。
在这里插入图片描述

三、误差分析

3.1识别误差
原因:不同的光照下,对物块的分割效果有较大差异,容易将背景中杂物误识别为目标物体;不同的角度下,球体的表面特征有较大差异,容易出现球类漏判
改进措施:采用对光照鲁棒性更高的分割算法;采用对角度鲁棒性更高的分类算法;对于有限分类的任务,可考虑使用小型的神经网络训练
3.2尺寸误差
原因:公式为近似拟合,采样数据不够多且密集;计算尺寸所需要的变量之一:物块像素个数,会随着光照影响、角度影响而呈现几十的上下浮动。
改进措施:多次采集数据,拟合公式;在公式的因变量中加入场景平均灰度值、角度值
3.3距离误差
原因:传感器精度有限;由于是悬挂,被测物体可能会前后飘动。
改进措施:采用更加精准的采样仪器;在物体背面进行固定

3、图像代码

#2020 年 TI 杯大学生电子设计竞赛非接触物体尺寸形态测量(G 题) openmv测试代码
# author:DYY
# school:HDU
import sensor, image, time
import math
from pyb import UART
import json
import ustruct
sensor.reset() # Initialize the camera sensor.
sensor.set_pixformat(sensor.RGB565) # or sensor.RGB565  565
sensor.set_framesize(sensor.QQVGA) # or sensor.QVGA (or others)
sensor.skip_frames(50)             #跳过50frame,使新设置生效,并自动调节白平衡
sensor.set_auto_gain(False)         #关闭自动自动增益。默认开启的,在颜色识别中,一定要关闭白平衡。
sensor.set_auto_whitebal(False)     #关闭白平衡。白平衡是默认开启的,在颜色识别中,一定要关闭白平衡。



#参数初始化
fps_cnt=0
fps_cnt_set=10000
show_fps_set=15
target_x=0
target_y=0
shape = 0
graylight_x=0
graylight_y=0
distance=0
PI=3.14159
#防误判变量
now_length = 0
last_length = 0
exist_times = 0
sum_length = 0
last_center_X = 0
last_center_Y = 0

tri_times=0
rect_times=0
circle_times=0
xy_times=0
xy_not_times=0
mode='A'
class Circle:
    def __init__(self):  #_init_(self),主要给类初始化一些属性,对象创建时自动调用该方法执行
        self.left_pixelsLimit = 3000
        self.right_pixelsLimit = 50000
        self.left_SolidtyLimit = 0.78
        self.right_SolidtyLimit = 0.85
        self.left_RoundnessLimit = 0.98
        self.right_RoundnessLimit = 1
class Triangle:
    def __init__(self):  #_init_(self),主要给类初始化一些属性,对象创建时自动调用该方法执行
        self.left_pixelsLimit = 140
        self.right_pixelsLimit = 1300
        self.left_SolidtyLimit = 0.4
        self.right_SolidtyLimit = 0.86
        self.left_RoundnessLimit = 0.5
        self.right_RoundnessLimit = 0.99
class Rectangle:
    def __init__(self):  #_init_(self),主要给类初始化一些属性,对象创建时自动调用该方法执行
        self.left_pixelsLimit = 380
        self.right_pixelsLimit = 2300
        self.left_SolidtyLimit = 0.8
        self.right_SolidtyLimit = 1
        self.left_RoundnessLimit = 0.58
        self.right_RoundnessLimit = 1

MyCircle = Circle()
MyTriangle = Triangle()
MyRectangle = Rectangle()

#激光阈值
graylight_thred=(230,255)

#色块阈值
#(88,-79,81)
green_threshold = (5,88,-73,-18,9,59)  #(57,95,-80,-20,-25,32)
red_threshold = (5,91,17,124,-30,70)   #(21,71,56,124,38,114)
blue_threshold = (5,70,-54,105,-80,-14)   #(20,73,-46,112,-128,-31)

football_threshold = (0,99,-66,118,16,127)
white_black_football_threshold= (0,27,-127,127,-127,127)
vollyball_threshold = (0,99,-66,118,25,127)
vollyball_threshold_blue = (0,80,-20,37,30,70)
basketball_threshold = (0,99,14,127,7,64)
#获取激光坐标函数
def get_graylight(grayMat,paint):
   #global real_exist_times
   #mask1=grayMat.binary([graylight_thred])
   #计算连通域
   center_X=0
   center_Y=0
   for blob in grayMat.find_blobs([graylight_thred], pixels_threshold=0, area_threshold=0, merge=True, margin=0):
    pixels=blob.pixels()
    Roundness= blob.roundness()
    '''if(fps_cnt%show_fps_set==0):
        print("圆形度",Roundness)
        print("像素个数",pixels)'''
    #光亮像素过大或者圆形度过小视作无
    if pixels>=60 :
        center_X=0
        center_Y=0
    else:
        center_X=blob.cx()
        center_Y=blob.cy()
        #paint.draw_circle(center_X,center_Y,4, color =0, thickness = 3, fill = True)
   return (center_X,center_Y)
#获取形状、目标像素长度、目标中心坐标函数
def get_shapeANDcolor(srcImg,color_thred):
   center_X=0
   center_Y=0
   shape = 0
   target_length=0
   for blob in srcImg.find_blobs([color_thred], pixels_threshold=10, area_threshold=20, merge=True, margin=0):
    pixels=blob.pixels()       #获取像素个数,用来判断大小
    print(pixels)
    #首先用像素限制掉杂点
    if(pixels >=MyTriangle.left_pixelsLimit):
        Roundness= blob.roundness()#获取连通域圆形度
        Solidty = blob.solidity()  #获取连通域与它最小外接矩形的密度比
        if(fps_cnt%show_fps_set==0):
            print("pixels",pixels)
            print("Roundness",Roundness)
            print("Solidty",Solidty)
        #条件限制
        if(pixels<=MyTriangle.right_pixelsLimit and Solidty>=MyTriangle.left_SolidtyLimit and Solidty<=MyTriangle.right_SolidtyLimit and Roundness>=MyTriangle.left_RoundnessLimit and Roundness<=MyTriangle.right_RoundnessLimit):
            srcImg.draw_rectangle(blob[0:4],color = (255, 0, 0)) #用矩形标记出目标颜色区域
            srcImg.draw_cross(blob[5], blob[6]) #在目标颜色区域的中心画十字形标记
            center_X=blob.cx()
            center_Y=blob.cy()
            shape = 1
            target_length = pixels
        elif(pixels<=MyRectangle.right_pixelsLimit and Solidty>=MyRectangle.left_SolidtyLimit and Solidty<=MyRectangle.right_SolidtyLimit and Roundness>=MyRectangle.left_RoundnessLimit and Roundness<=MyRectangle.right_RoundnessLimit):
            #srcImg.draw_rectangle(blob[0:4],color = (0, 255, 0)) #用矩形标记出目标颜色区域
            #srcImg.draw_cross(blob[5], blob[6]) #在目标颜色区域的中心画十字形标记
            center_X=blob.cx()
            center_Y=blob.cy()
            shape = 3
            target_length =pixels
        else:
            center_X=0
            center_Y=0
            shape = 0
            target_length = 0
   return (shape,center_X,center_Y,target_length)
#获取最大可能色块函数
def get_maxsize_color(srcImg):
   R_MAXpixels=0
   G_MAXpixels=0
   B_MAXpixels=0
   #寻找red最大连通域
   for blob in srcImg.find_blobs([red_threshold], pixels_threshold=10, area_threshold=20, merge=True, margin=0):
       pixels=blob.pixels()       #获取像素个数,用来判断大小
       R_MAXpixels = max(pixels,R_MAXpixels)
   #寻找green最大连通域
   for blob in srcImg.find_blobs([green_threshold], pixels_threshold=10, area_threshold=20, merge=True, margin=0):
       pixels=blob.pixels()       #获取像素个数,用来判断大小
       G_MAXpixels = max(pixels,G_MAXpixels)
   #寻找blue最大连通域
   for blob in srcImg.find_blobs([blue_threshold], pixels_threshold=10, area_threshold=20, merge=True, margin=0):
       pixels=blob.pixels()       #获取像素个数,用来判断大小
       B_MAXpixels = max(pixels,B_MAXpixels)
   maxpixels=max(R_MAXpixels,G_MAXpixels,B_MAXpixels)
   if(R_MAXpixels==maxpixels):
       return red_threshold
   elif(G_MAXpixels==maxpixels):
       return green_threshold
   else:
       return blue_threshold
#获取背景板左右边界函数
def get_leftANDrightLINE(srcImg,center_X,center_Y):
    grayimg =srcimg.to_grayscale()
    canny_thred=13
    cannyimg=grayimg.find_edges(image.EDGE_CANNY, threshold=(canny_thred,canny_thred*2))
    cannyimg.dilate(1)
    centerx = center_X
    centery = center_Y
    flag =0
    right_x = 160
    left_x = 0
    for i in range(centerx,cannyimg.width()-1):
        if(cannyimg.get_pixel(i,centery)==0 and cannyimg.get_pixel(i + 1,centery)==255):
            flag+=1
            if(flag == 1):
                right_x =  i
                break
    flag =0
    for i in range(centerx,1,-1):
        if(cannyimg.get_pixel(i,centery)==0 and cannyimg.get_pixel(i - 1,centery)==255):
            flag+=1
            if(flag == 1):
                left_x =  i
                break
    if(fps_cnt%show_fps_set==0):
        print(right_x)
        print(left_x)
    return (left_x,right_x)

#防误判函数,目标的尺寸,并且将值限制在30到40之间
def Prevent_misslength(now_length,last_length):
    global exist_times
    global sum_length
    if last_length==0 and now_length==0:
        sum_length=0
    if abs(last_length-now_length)<=7 and now_length!=0 and last_length!=0:
        sum_length+=now_length
        exist_times+=1
    else:
        sum_length=0
        exist_times=0
    if(exist_times!=0):
        result=sum_length/exist_times
        if(result>=40):
            result=40
        elif(result<=30):
            result=30
        return result
    else:
        return 0
#防误判函数,中心坐标
def Prevent_misstarget(point1_X,point1_Y,lastpoint1_X,lastpoint1_Y):
    global xy_times
    global xy_not_times
    if point1_X==0 and point1_Y==0:
        xy_not_times+=1
    if point1_X==0 and point1_Y==0 and lastpoint1_X!=0 and lastpoint1_Y!=0:
        point1_X=lastpoint1_X
        point1_Y=lastpoint1_Y
    if lastpoint1_X!=0 and lastpoint1_Y!=0 and (abs(lastpoint1_X-point1_X)>=20 or abs(lastpoint1_Y-point1_Y)>=20):
        point1_X=lastpoint1_X
        point1_Y=lastpoint1_Y
    if xy_not_times>=10:
        point1_X=0
        point1_Y=0
        xy_not_times=0
    return point1_X,point1_Y

#白色足球检测函数
def detect_whiteANDblack_football(srcimg):
    img_new = srcimg.copy()
    binimg=img_new.binary([white_black_football_threshold])
    listX = []
    listY = []
    point_nums=0
    for blob in binimg.find_blobs([(1,255)], pixels_threshold=5, area_threshold=5, merge=True, margin=2):
        pixels=blob.pixels()       #获取像素个数,用来判断大小
        Solidity = blob.solidity()
        #if(pixels>=4 and pixels<=48):
            #print(Solidity)
            #print(blob.w()/blob.h())
        #print(pixels)
        if(pixels>=4 and pixels<=48 and Solidity>=0.75  and 0.8<=blob.w()/blob.h()<=1.3 and 20<=blob.cy()<=100):
            listX.append(blob.cx())
            listY.append(blob.cy())
            #srcimg.draw_rectangle(blob[0:4], color = (255, 0, 0)) #用矩形标记出目标颜色区域
            #srcimg.draw_cross(blob[5], blob[6]) #在目标颜色区域的中心画十字形标记
    mean_X=0
    mean_Y=0
    if(len(listX)>=2):
        #求密度最大的点
        while(len(listX)>1):
            #求mean_x,mean_y
            mean_X = Get_Average(listX)
            mean_Y = Get_Average(listY)
            #找到点集中距离mean_X,mean_Y最大的点,并将它去除
            max_distance=0
            distance=0
            max_i=0
            for i in range(len(listX)):
                distance = (listX[i]-mean_X)*(listX[i]-mean_X)+(listY[i]-mean_Y)*(listY[i]-mean_Y)
                if distance>=max_distance:
                   max_i=i
            del listX[max_i]
            del listY[max_i]
        #剩下点是球点
        mean_X = Get_Average(listX)
        mean_Y = Get_Average(listY)
    #srcimg.draw_circle(mean_X,mean_Y,10, color = (255, 0, 0))
    return (mean_X,mean_Y,len(listX))

#获取平均数
def Get_Average(list):
   sum = 0
   for item in list:
      sum += item
   if(len(list)==0):
    return 0
   return int(sum/len(list))
#模型为简化后的模型
def get_real_length(pixels,distance,color):
   reallength = 0
   if(color==1):
       #蓝色k
       #0.3001   -2.0901    4.0956
       ratio = 0.3001 * distance * distance -2.0901 * distance +4.0956
       reallength = pixels/ratio
       #reallength =reallength*0.8
   elif(color==2):
       #红色k
       #0.4336   -2.8160    5.1373
       ratio = 0.4336 * distance * distance -2.8160 * distance +5.1373
       reallength = pixels/ratio
       #reallength =reallength*1.105
   elif(color==3):
       #绿色k
       #0.4364   -2.8062    5.0621
       ratio = 0.4364 * distance * distance -2.8062 * distance +5.0621
       reallength = pixels/ratio
       #reallength =reallength*0.99
   else:
       reallength=0
   return reallength
#初始化时钟
clock = time.clock() # Tracks FPS.
uart = UART(3,115200)   #定义串口3变量
#设置串口
uart.init(115200, bits=8, parity=None, stop=0) # init with given parameters

uart1=UART(1,38400)

#我们要传送的数据有:目标大小、形状、几何中心坐标 以及回车
def sending_data(length,shape,cx,cy,dis1,dis2,color):    #发送函数
    global uart
    data = ustruct.pack("<bbbbbbbbb",
                   length,
                   shape,
                   cx,
                   cy,
                   dis1,
                   dis2,
                   color,
                   0x0D,
                   0x0A)
    uart.write(data)
#主要接受的是模式
def recive_data():   #接收函数
    global uart
    global mode
    if uart.any():
        #接收字节串
        #tmp_data = uart.readline()
        #接收字符串
        tmp_data = uart.readline().decode()
        #如果想把回车换行去除掉,
        #tmp_data = uart.readline().decode().strip()
        #将形式为D=0.604m,90#的字符串转换为float类型的数据
        #new_data = tmp_data[2,7]
        #print(tmp_data)
        #获取mode编号
        length = len(tmp_data)
        if( 2<=length<=4 and  tmp_data[0]=='Q'):
            mode = tmp_data[length-1]
            #print(mode)
    return mode
def recive_distance():   #接收函数
    global uart1
    global distance
    if uart1.any():
        tmp_data = uart1.readline().decode()
        #print(tmp_data)
        if len(tmp_data)>=6 and tmp_data[0]=='D' and tmp_data[1]=='=' and tmp_data[2]>='0' and tmp_data[2]<='9'and tmp_data[4]>='0' and tmp_data[4]<='9'and tmp_data[5]>='0' and tmp_data[5]<='9':
            distance=int(tmp_data[2])+int(tmp_data[4])*0.1+int(tmp_data[5])*0.01
            #distance=int(distance*100)
            print(distance)
    return distance
#图像循环
while(True):
    clock.tick() # Track elapsed milliseconds between snapshots().
    #【step 1:】获取去畸变彩图,这里采用的无畸变摄像头
    srcimg = sensor.snapshot()#.lens_corr(strength = 1.8, zoom = 1.0)
    fps_cnt=fps_cnt+1
    #flag=0时没有圆
    flag=0
    #初始化参数
    now_length = 0
    circle_r=0
    circle_x=0
    circle_y=0
    center_X=0
    center_Y=0
    shape=0
    #left_line = 0
    #right_line = 160
    target_length = 0
    #黑白足球黑块初始化
    black_nums=0
    color_flag=0        #蓝1 红2 绿3
    distance = recive_distance()
    mode = recive_data()
    #mode='C'
    real_target_length=0
    #flag_football=0:检测黄色足球 flag_football=1:检测黑白足球
    flag_football = 1
    #mode1是球类检测
    #mode0是几何物体检测
    #print(mode)
    target_pixels=0
    if(mode == 'A' or mode == 'B'):
        #观察是否有圆
        for c in srcimg.find_circles(threshold = 2700, x_margin = 10, y_margin = 10, r_margin = 10,r_min = 5, r_max = 30, r_step = 2):
           area = (c.x()-c.r(), c.y()-c.r(), 2*c.r(), 2*c.r())
           #area为识别到的圆的区域,即圆的外接矩形框
           statistics = srcimg.get_statistics(roi=area)#像素颜色统计
           #print(statistics)
           if(-73<statistics.a_mode()<-18 and 9<statistics.b_mode()<59):
            color_flag = 3
           elif(17<statistics.a_mode()<124 and -30<statistics.b_mode()<70):
            color_flag = 2
           elif(-54<statistics.a_mode()<105 and -80<statistics.b_mode()<-14):
            color_flag = 1
           if 1<=color_flag<=3:
               #找到最大的圆作为我们的目标圆
               flag = 1
               if(c.r()>=circle_r):
                   circle_r = c.r()
                   circle_x = c.x()
                   circle_y = c.y()
                   #if(fps_cnt%show_fps_set==0):
                       #print(c)
           #srcimg.draw_circle(circle_x,circle_y,circle_r, color = (255, 0, 0))
        #为圆
        if(flag == 1 ):
           center_X = circle_x
           center_Y = circle_y
           target_pixels = PI*circle_r*circle_r
           shape = 2
        #不为圆,进行其他检测
        else:
           #首先确定色块颜色
           color_thred = get_maxsize_color(srcimg)
           if(color_thred==green_threshold):
            color_flag = 3
           elif(color_thred==blue_threshold):
            color_flag = 1
           elif(color_thred==red_threshold):
            color_flag = 2
           #print(color_thred)
           #color_thred=red_threshold
           #在该色域中寻找特征,然后得到形状和中心坐标
           (shape,center_X,center_Y,target_pixels) = get_shapeANDcolor(srcimg,color_thred)
    else:
        #先找篮球
        ball_pixels = 0
        for blob in srcimg.find_blobs([basketball_threshold], pixels_threshold=10, area_threshold=20, merge=True, margin=2):
            pixels=blob.pixels()       #获取像素个数,用来判断大小
            #print(pixels)
            #print(blob.w()/blob.h())
            #print(blob.h())
            if(pixels>=200 and pixels<=780 and 0.87<=blob.w()/blob.h()<=1.15 and 12<=blob.w()<=40 and 12<=blob.h()<=40 and 20<=blob.cy()<=100):
                if(pixels>=ball_pixels):
                    ball_pixels=pixels
                    srcimg.draw_rectangle(blob[0:4]) #用矩形标记出目标颜色区域
                    #srcimg.draw_cross(blob[5], blob[6]) #在目标颜色区域的中心画十字形标记
                    shape=4
                    center_X = blob.cx()
                    center_Y = blob.cy()
        ball_pixels=0
        if(shape==0):
            #再找足球
            #if(mode=='C'):
                #第一种,纯黄足球
            for blob in srcimg.find_blobs([vollyball_threshold], pixels_threshold=10, area_threshold=20, merge=True, margin=2):
                pixels=blob.pixels()       #获取像素个数,用来判断大小
                Roundness = blob.roundness()
                #print(pixels)
                #print(Roundness)
                #print(pixels)
                if(pixels>=120 and pixels<=600 and Roundness>=0.75 and 3<=blob.w()<=40 and 3<=blob.h()<=40 and 20<=blob.cy()<=100):
                    if(pixels>=ball_pixels):
                        srcimg.draw_rectangle(blob[0:4]) #用矩形标记出目标颜色区域
                        #srcimg.draw_cross(blob[5], blob[6]) #在目标颜色区域的中心画十字形标记
                        shape=5
                        center_X = blob.cx()
                        center_Y = blob.cy()
            #else:
            if(shape==0):
                #第二种,黑白足球
                (center_X,center_Y,black_nums) = detect_whiteANDblack_football(srcimg)
                if(center_X!=0 and center_Y!=0):
                    shape=5
        ball_pixels=0
        if(shape==0 and black_nums<=2):
            img_new = srcimg.copy()
            binimg=img_new.binary([vollyball_threshold,vollyball_threshold_blue])
            dilateimg = binimg.dilate(3)
            dilateimg = binimg.erode(2)
            #再找排球
            for blob in dilateimg.find_blobs([(1,255)], pixels_threshold=10, area_threshold=20, merge=True, margin=2):
                pixels=blob.pixels()       #获取像素个数,用来判断大小
                #print(pixels)
                #print(blob.w()/blob.h())
                #print(pixels))
                if(pixels>=110 and pixels<=500 and 3<=blob.w()<=40 and 3<=blob.h()<=40 and 0.7<=blob.w()/blob.h()<=1.3 and 20<=blob.cy()<=100 and 20<=blob.cx()<=140):
                    if(pixels>=ball_pixels):
                        srcimg.draw_rectangle(blob[0:4], color = (255, 0, 0)) #用矩形标记出目标颜色区域
                        #srcimg.draw_cross(blob[5], blob[6]) #在目标颜色区域的中心画十字形标记
                        shape=6
                        center_X = blob.cx()
                        center_Y = blob.cy()
        #else:
            #print("NONE")

    #计算尺寸
    if(mode != 'C'):
        real_target_length = get_real_length(target_pixels,distance,color_flag)
        if(shape == 1):
            real_target_length = math.sqrt(real_target_length*2.31)
        elif(shape == 2):
            real_target_length = math.sqrt(real_target_length*1.273)
        elif(shape == 3):
            real_target_length = math.sqrt(real_target_length)
        #形状防误判
    #shapeList 对应:无形状、三角形、圆形、正方形、篮球、足球、排球
    srcimg.draw_cross(80, 60,color = (0, 0, 0))
    shape_result=shape
    shapeList = [0,0,0,0,0,0,0]
    shapeList[shape]+=1
    if(fps_cnt%5==0):
        shape_result=shapeList.index(max(shapeList))
        shapeList = [0,0,0,0,0,0,0]
        #中心防误判措施
        #(center_X,center_Y)=Prevent_misstarget(center_X,center_Y,last_center_X,last_center_Y)
        srcimg.draw_cross(center_X, center_Y)
        #srcimg.draw_cross(center_X,center_Y,color = (0, 255, 0))
        print(shape)
        #print(center_X,center_Y)
        #print(real_target_length)
        sending_data(int(real_target_length),shape_result,center_X,center_Y,int(distance),int(distance*100%100),color_flag)
        last_center_X = center_X
        last_center_Y = center_Y

分工:
硬件电路:苗百百
控制以及菜单:下沙百人斩
图像:吊歪歪