低调布局“找房”,美团盯上了房地产生意

31 阅读12分钟

来源 | 伯虎财经(bohuFN)

作者 | 楷楷

“万物皆可拼”的风潮,还是从外卖吹到了房地产。

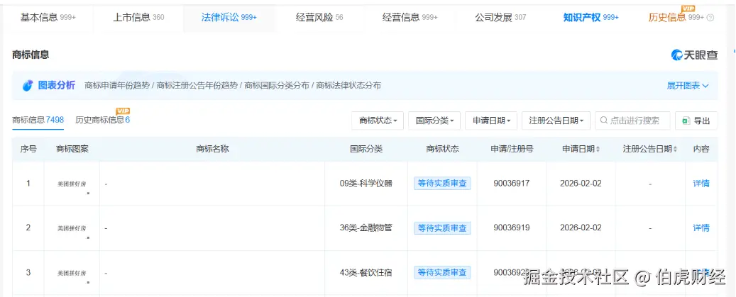
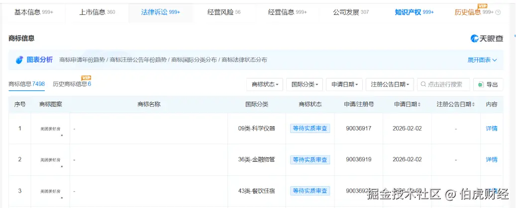
天眼查显示,美团关联公司北京三快科技有限公司已申请注册3枚“美团拼好房”商标,分类涵盖科学仪器、金融物管、餐饮住宿,目前均为“等待实质审查”。

其中,“拼”这一个字,便引发了外界的无限猜想:从“拼好饭”到“拼好房”,难道美团是想用外卖的逻辑来做房地产业务?

事实上,早在十多年前,百度、阿里、京东、字节等互联网巨头也曾尝试布局房地产服务领域,但均没能带来太多水花。

美团姗姗来迟,是找到了能在房地产领域发力的细分切口,还是迫于本地生活的竞争压力,着急开辟新的业务飞轮?“拼好房”到底是锦上添花,还是雪中送炭?

01 美团早就盯上“找房”

美团此次申请“拼好房”商标,并非心血来潮,其对房地产服务的探索早已有迹可循。

2024年6月,美团民宿率先试水,在全国40余座城市上线租房服务,主打按天计费的灵活租赁模式。

这一打法颇为巧妙,虽然名为“租房”,但美团提供的并非传统意义上的房屋直租,更像是将民宿产品“包装”成出租房源,类似AirBnb的民宿出租。

2025年初,外界传出美团跨界房地产服务的声音;到2025年底,美团悄然上线了“美团找房”功能,主要包括租房与二手房交易两大板块。

然而,“美团找房”上线得颇为低调,这个功能也藏得很深。目前,在美团APP首页看不到“美团找房”的入口,只有当用户浏览具体小区信息时,才会触发“美团找房”页面展示。

即便用户找到了入口,体验也难言顺畅。我们随机搜索了好几个小区,发现平台推荐的二手房源与搜索目标距离相差较远,而且,不少小区都显示“暂无房源”。

根据此前用户实测,“美团找房”的业务是直接跳转至诸葛找房、麦滴找房等第三方平台,这意味着美团本身并无房源数据库,也没有类似贝壳、我爱我家这些传统地产中介平台的地产经纪人服务链条,主要还是做流量撮合的生意。

这种生意模式对互联网巨头而言,可谓是驾轻就熟。比如美团的到店业务,其没有自营酒店或餐厅,而是将外卖业务所带来的流量导流给商家,并从中抽取利润。

美团进军房地产服务市场的逻辑也是如此,其并没有直接进入房产交易的核心环节,而是将用户线索打包卖给专业房产平台,赚取流量费和线索费,充当“中介的中介”。

于美团而言,这种模式的好处显而易见。

一方面,美团的商业模式是通过外卖、即时零售等高频低毛利业务,带动餐饮到店、酒旅等低频高毛利业务,通过盘活生态内的流量,实现整体客单价和毛利率的增长。

根据高盛的估算,2025年美团到店酒旅业务的利润率达到35%左右,而此前王兴曾在外卖大战期间表示,2025年外卖业务的利润率目标约为3%。

由此可见,前端外卖只是美团的“流量池”,后端餐饮、酒店等到店业务才是盈利的核心,高毛利业务自然是越丰富越好。

另一方面,从“吃喝玩乐”到“吃喝玩乐住”,能进一步丰富美团的生态协同能力。

美团布局“美团找房”只是第一步,如果能够跑通二手房、租房的信息撮合与交易转化,其未来很可能会顺势切入家装、家居、家政等“住后”市场,形成“找房-交易-装修-入住-服务”的完整居住生态链,给本地生活业务的增长带来了新的想象空间。

贝壳找房早已验证了这条路径的可行性。以房产中介业务起家的贝壳,在近年先后推出了“被窝家装”“贝壳美家”等品牌,将业务延伸至定制家具、整家装修等领域;又通过“贝壳惠居”布局房屋租赁,并承接租赁后的保洁、维修等长尾需求。

截至2025年三季度,贝壳“非房产交易业务”的净收入占总收入比重已提升至45%,其中,房屋租赁服务收入达57亿元,同比增长45.3%;家装家居业务收入43亿元,贡献利润率提升至32%。

02 卖房比送外卖难多了

对坐拥庞大用户流量的互联网巨头而言,做“找房”只是顺手的事情。

大厂们也早早便盯上了这门生意。百度先后投资了安居客、链家等房产中介平台;京东在2017年上线了房产电商平台“京东房产”;阿里也在2020年与易居合作推出“天猫好房”平台。

抖音、快手等短视频平台崛起后,也对房产业务颇感兴趣。

2019年,字节将今日头条房产频道单独拆分出来,成立“幸福里”发力房产中介业务;快手则推出“快手理想家”小程序,搭建起一套“内容分发-线索收集-交易成交-佣金结算”的线上流程。

(左:京东房产,右:幸福里)

大厂瞄准房产生意,曾寄望能颠覆传统房地产的交易模式。

除了大厂本身具备的流量和内容优势,能以更低成本撬动潜在购房者外,互联网相对透明的线索交易模式,也被认为有望改变传统线下交易模式信息不对称、佣金高企等问题。

此外,像抖音、快手等具备内容优势的平台,可以通过短视频、直播等形式重塑房产内容的传播逻辑,将以往“人找房”转变成“房找人”,让看房选房变得更高效和便捷。

理想是美好的,但现实却颇为骨感。

字节旗下的“幸福里”一度传出独立拆分并启动融资计划的消息,但最终还是在2023年宣布退出线下交易,回归线上业务;

阿里成立“天猫好房”仅一年时间,便将持有股份全部出售给合作方易居;京东房产也逐渐从房产中介服务模式转向资本运作和资产托管,跟地产开发商合作提供金融、销售等服务。

纵然大厂有心,但房产中介确实不好当,“拼好房”可比“拼好饭”难多了。

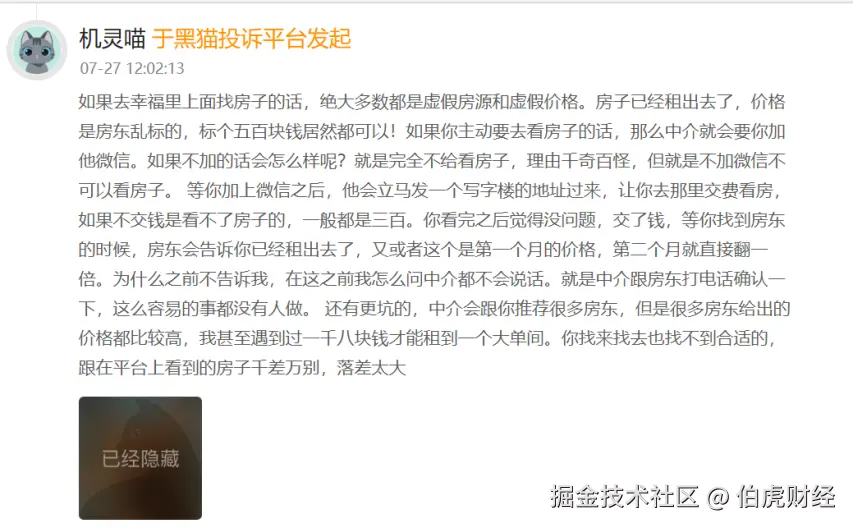
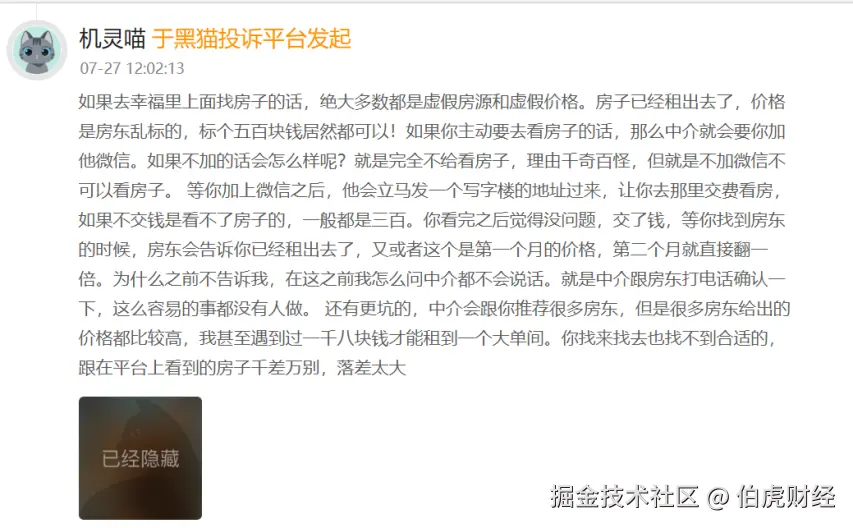
首先,房源管理是一大痛点。目前来看,互联网平台布局房产服务市场,基本都是跟房产中介平台合作的,比如阿里跟易居、“幸福里”跟我爱我家合作等。

但不同于房产中介平台独立管理的房源系统,互联网平台往往缺乏房源核验机制,难免会出现虚假房源、不实宣传等乱象。在黑猫投诉平台上,不少用户投诉“幸福里”上存在大量虚假房源问题,与互联网平台当初想要打破信息不透明的初衷背道而驰。

其次,用户在平台上选房只是第一步,但在成功买房/租房之前,还需要进行实地勘察、交易支持、售后保障等,这些环节大多仍依赖于线下经纪人提供专业能力。

房地产交易高客单价、低频交易、重决策的属性,决定了其服务链条极长,信任门槛更高,大部分用户自然更愿意将“一辈子可能只有一次”的交易,交给专业的房产中介平台负责。

因此,美团闯入租房、二手房交易市场,虽然只是一次低成本的试探,但从阿里、字节等平台均在房产领域铩羽而归这点来看,美团的“拼好房”要杀出一条新路,恐怕挑战重重。

03 筑本地生活的“护城河”

既然如此,美团为何还要执意入局?答案或许藏在“拼”这个字当中。

过去一年,互联网行业的焦点都放在了“外卖大战”中,但还有一则与之相关的消息,被淹没在喧嚣的战报中——京东、美团先后宣布投资百亿兴建骑手公寓。

即便美团以不做门店、不建经纪团队的轻资产模式布局房产服务市场,但要撮合千人千面的二手房、租房市场,仍不是一门高效的生意。虽然做了不亏,但能撬动的收入规模有限。

不过,如果美团已有明确的目标客群,这又是另一个“故事”了。

无论是京东还是美团,建设骑手公寓都难以一蹴而就。在此之前,庞大的骑手团队也有着迫切的租房需求,截至2025年11月,美团全国已有超800万骑手。

这部分骑手平日忙于工作,他们对居住环境的需求更多着眼于安全、实惠、稳定,“拼好房”则能通过聚合需求换取价格优势,其短租模式也很契合骑手团队流动性大的工作属性。

另外,美团还可以针对同样有着简单居住需求的毕业青年、司机群体进行“拼房”,还能将这些需求打包起来,跟出租方谈个好价。

值得注意的是,美团“拼好房”商标还涵盖了金融物管、餐饮等领域,这也暗示美团或许有意进一步向房产金融、物业管理等领域延伸,甚至进一步覆盖家具家装等领域。

届时,“住”这一业务就不仅仅只是美团业务飞轮中被带动的一环,还有望成为驱动业务增长的新动力。

房产交易只是起点,用户找到房源后,除了家居家装需求外,还需要搬家、购置家电家具、日常餐饮等本地生活服务,这将形成一条完整的消费链条,让原本低频的买房租房行为,转变成为带动高频消费的超级入口。

在这背后,是美团着急突破现状的压力。根据美团发布的2025年盈利预警,预计2025年净亏损233至243亿元,在日益激烈的行业竞争下,核心本地商业业务同比由盈转亏。

过去,“外卖心智”是美团在本地生活的核心护城河,但随着淘宝闪购、京东的持续猛攻,用户的消费惯性被逐渐打破,其本地生活飞轮也开始降速。

当下美团的重点,是通过更广泛的即时零售场景来建立新的“外卖心智”,不仅仅是“叫外卖想起美团”,而是持续拓展业务边界,让用户“万物都能想起美团”。

多年前,当王兴被问及业务边界时,他曾表示,“万物其实是没有简单边界的,所以我不认为要给自己设限。”

这份理念也贯穿了美团从团购到外卖、从酒旅到出行的每一次跨界,如今,美团又瞄准了房地产服务这门生意。

虽然卖房租房早已不是新鲜事,但不同于以往的是,即时零售的崛起、AI助手的普及等新兴趋势,正在为美团提供一种可能性,那就是用新的流量逻辑将那些传统的生意重做一遍。

有些边界,不碰一碰,永远不知道能否打破。美团的能力边界在哪里,也要试了才知道。

文章封面首图及配图,版权归版权所有人所有。若版权者认为其作品不宜供大家浏览或不应无偿使用,请及时联系我们,本平台将立即更正。