2026年国内使用 Claude Code 完整指南:从安装到省钱配置

10,512 阅读13分钟

我用 Claude Code 写了半年多代码了,从踩坑到上手,中间交了不少学费。把配置流程和省钱的经验整理一下,希望能帮后来的人少走点弯路。

一、Claude Code 到底是什么,凭什么值得折腾

先简单说下这东西是啥。Claude Code 是 Anthropic 推出的命令行 AI 编程助手,直接跑在你的终端里。它不是网页聊天框,也不是 IDE 里那种补全插件。它能理解你整个代码库,能自己读文件改文件,能跑 shell 命令,能操作 git。说白了它不是那种你问一句它答一句的聊天机器人,是真能帮你干活的。

直接讲几个我实际用到的场景吧。

上个月我在重构一个 Python 项目的配置系统,原来的配置散落在十几个文件里,有的用 yaml,有的用 json,有的干脆硬编码在代码里。我在终端里打开 Claude Code,跟它说"帮我把所有配置统一到 config.yaml,保持现有功能不变",它先花了大概三十秒扫描整个项目,然后列出了所有涉及配置读取的文件,给出了重构方案,我确认之后它就开始逐个文件修改。整个过程大概十分钟,改了二十多个文件,而且改完直接能跑。我自己手动做这事儿,保守估计要大半天,还不一定能一次改对。当然也翻过车,有一次它把我的数据库迁移脚本改崩了,回滚了半天才恢复,所以重要操作之前一定要 git commit。用AI这个事,能让他干,但是人一定要审阅

再比如 debug。前阵子项目里有个 WebSocket 偶发断开的问题,我排查了两天没头绪。把相关模块指给 Claude Code 后,它读完代码直接指出了一个竞态条件——两个异步任务在特定时序下同时写入共享状态,导致连接被意外关闭。这种藏在调用链深处的逻辑 bug,靠人眼 review 真的很难发现,但 AI 能一次性理解整个上下文,反而擅长这个。

自动写测试也是它的强项。告诉它"给这个模块写单元测试,覆盖边界情况",它会分析函数签名和业务逻辑,生成真正能跑的测试用例,不是那种 import 都对不上的玩具代码。对于没有测试覆盖的老项目来说挺实用的。

它的核心能力概括一下就是:在终端内直接运行,不依赖任何 IDE;能理解整个项目的代码结构和文件关系;可以同时读写多个文件完成跨模块修改;能执行 shell 命令和 git 操作;支持通过 CLAUDE.md 文件定义项目级别的指令和约束,让它记住你的项目规范。

二、国内用户面临的现实问题

好用归好用,国内开发者想用上 Claude Code,前面横着三座大山,每一座都够你折腾一阵子。

第一座山是注册和支付。Claude Code 需要 Anthropic API key 才能使用,注册 Anthropic 账号需要海外手机号验证,充值 API 余额需要海外信用卡(Visa/Mastercard)。国内的手机号和银联卡都不行。你可能想说"我可以用虚拟信用卡",确实可以,但 Anthropic 对虚拟卡的风控越来越严,2025 年下半年开始大规模封禁使用虚拟卡充值的账号,不少人充了钱还没怎么用就被封了,余额也拿不回来(之前可以,现在据说是开始大规模不退款封号了)。

第二座山是网络问题。即使你搞定了账号和支付,从国内直连 Anthropic API 也不轻松。Claude Code 工作时会频繁与 API 通信,一个复杂任务可能来回几十次请求,加上国内访问需要开梯子,容易造成卡顿,首字token出现慢不说,还有可能直接断连。

第三座山是费用。这个可能是最劝退的。Claude Code 的 token 消耗量远超普通聊天对话,因为它每次操作都要把相关的代码文件内容发送给模型,一个中等规模的项目,单次对话的上下文轻松就能到几万甚至十几万 token。如果你用的是 Claude Opus 模型(效果最好的那个),输入 token 的价格是 15 美元/百万 token,输出是 75 美元/百万 token。按照正常的使用强度,一天烧掉 20-50 美元很常见。一个月下来费用直接起飞,几百上千美元,钱包在燃烧啊。即使用相对便宜的 Sonnet 模型,一个月也要几十到一两百美元。

这三个问题叠加在一起,导致国内很多开发者对 Claude Code 的态度是"知道它好用,但实在用不起也用不上"。接下来我详细讲讲目前主流的几种解决方案,以及我自己最终选的哪条路。

三、解决方案对比:三条路各有利弊

目前国内开发者用上 Claude Code 主要有三条路,我都试过,说说各自的体验。

方案一:官方直连。 直接注册 Anthropic 账号,绑定海外信用卡,拿到 API key 就能用。优点是稳定性最好,功能最完整,prompt caching 等高级特性第一时间可用。缺点是需要真实的海外信用卡、魔法上网,费用原价无折扣,而且 Anthropic 的风控可能因为 IP 变化或用量异常限制账号。条件具备的开发者首选,但在国内不容易满足。

方案二:API 中转站。 这是目前国内开发者用得最多的方案。中转站的原理很简单:它在海外部署服务器,帮你代理对 Anthropic API 的请求,你只需要把 API 地址从官方的 api.anthropic.com 改成中转站的地址就行。中转站解决了支付问题(大多支持支付宝/微信充值)和网络问题(中转站的服务器到 Anthropic 的链路是优化过的),而且不需要你自己注册 Anthropic 账号。目前市面上的中转站不少,质量参差不齐。比较知名的有 OpenRouter,模型种类多、稳定性不错,但不支持人民币支付,还是得用外币卡;AiHubMix 文档比较完整,支持国内支付,但在 prompt caching 这块没有做额外优化;Camel API 是我目前在用的,后面实操部分会详细讲它的配置方法,它的特点是在中转层自己做了缓存,对 Claude Code 这种高频重复上下文的场景能省不少钱。中转站方案的主要风险在于你需要信任第三方服务商,毕竟你的代码内容会经过它的服务器,或者你可能会害怕他跑路啥的。选的时候建议优先考虑运营时间长、社区口碑好的。

方案三:开源自建。 GitHub 上有开源项目(如 claude-code-proxy)可以自建 Claude API 代理。成本最低,只需一台海外服务器,但门槛也最高:需要自己处理部署、SSL、运维,还需要自己的 Anthropic 账号。适合有服务器资源的团队,个人开发者运维成本往往得不偿失。

对于大多数国内个人开发者来说,API 中转站是性价比最高的方案。下面我就以 Camel API 为例,手把手演示完整的配置过程。选它做教程示例是因为我自己一直在用,配置流程比较熟,而且它对 Claude Code 这种场景专门做了缓存优化。你如果用其他中转站,配置思路是一样的,只是地址和 key 不同。

四、实操教程:从零配置 Claude Code

整个配置过程分为三步:安装 Claude Code、获取中转站 API key、配置环境变量。我尽量写得详细,即使你之前没接触过也能跟着做。

第一步:安装 Claude Code。 Claude Code 是一个 npm 包,所以你需要先确保系统上装了 Node.js(建议 18 或以上版本)。打开终端,运行:

npm install -g @anthropic-ai/claude-code

装完之后跑一下 claude --version 确认安装成功。如果你在 Windows 上遇到权限问题,用管理员身份打开终端再试。

第二步:获取 API key。 到中转站注册账号,传送门,充值后在后台生成一个 API key。这个 key 的格式通常是 sk- 开头的一串字符,和 Anthropic 官方的 key 格式一样。把这个 key 保存下来,后面要用。

第三步:配置环境变量。 这是最关键的一步。Claude Code 通过两个环境变量来决定连接哪个 API 服务:ANTHROPIC_BASE_URL 指定 API 地址,ANTHROPIC_API_KEY 指定你的密钥。

在 Linux/macOS 上,你可以在终端中直接设置,也可以写入 ~/.bashrc~/.zshrc 让它永久生效:

export ANTHROPIC_BASE_URL=https://camel.kr777.top
export ANTHROPIC_API_KEY=sk-你的key

在 Windows 上,如果你用的是 PowerShell:

$env:ANTHROPIC_BASE_URL = "https://camel.kr777.top"
$env:ANTHROPIC_API_KEY = "sk-你的key"

如果你用的是 CMD:

set ANTHROPIC_BASE_URL=https://camel.kr777.top
set ANTHROPIC_API_KEY=sk-你的key

如果你想让环境变量永久生效而不是每次开终端都要重新设置,Windows 用户可以通过"系统属性 → 高级 → 环境变量"来添加,或者用 PowerShell 命令:

[System.Environment]::SetEnvironmentVariable("ANTHROPIC_BASE_URL", "https://camel.kr777.top", "User")
[System.Environment]::SetEnvironmentVariable("ANTHROPIC_API_KEY", "sk-你的key", "User")

设置完环境变量后,打开一个新的终端窗口(这一步很重要,旧窗口不会读取新的环境变量),进入你的项目目录,运行 claude 就可以启动了。

验证连接是否成功。 启动 Claude Code 后,随便问它一个简单的问题,比如"你好,请告诉我你是哪个模型"。如果能正常收到回复就说明配置没问题。如果报错了,常见的原因和解决方法如下。

看到 401 UnauthorizedInvalid API key 之类的错误,说明你的 API key 不对,检查一下有没有多余的空格或者少复制了字符。报 Connection refusedECONNREFUSED,通常是 ANTHROPIC_BASE_URL 写错了,仔细核对地址,注意不要在末尾多加斜杠。报 timeout 或者长时间没有响应,可能是网络问题,可以先用 curl 测试一下中转站地址是否可达:

curl https://camel.kr777.top/v1/models

如果 curl 能返回结果但 Claude Code 还是超时,检查一下是否有代理软件在干扰,有时候本地的代理工具会和 Claude Code 的网络请求冲突。

在其他客户端中使用。 除了 Claude Code CLI 之外,同样的 API key 和地址也可以配置到其他支持 Anthropic API 的客户端中。比如 CherryStudio ,在"模型提供商"设置里选择 Anthropic,然后修改 API 地址和密钥。这些客户端的好处是提供了图形界面,对不习惯命令行的开发者更友好,但功能上和 CLI 版本比会有一些差异,比如部分高级特性(MCP 工具、自定义 slash command)可能还不支持。

五、使用体验和费用对比

配好了之后说说实际用下来的感受吧。

响应速度方面,通过中转站访问和官方直连体感差异不大,大部分请求的首 token 延迟在 1-3 秒之间,流式输出也很流畅。我用了几个月下来,真正因为中转站本身问题导致不可用的情况只遇到过两三次,每次也很快就恢复了,重开一下就行。

重点说说费用,因为这是大家最关心的。Claude Code 的 token 消耗模式和普通聊天完全不同。每次你给它一个任务,它需要先读取相关文件的内容作为上下文,然后在多轮内部推理中反复处理这些上下文,最后才输出修改结果。一个中等复杂度的任务,输入 token 量轻松到 10 万以上,输出也能有几千到几万。如果你用 Opus 模型按官方原价算,一个这样的任务大概要花 2-5 美元,一天做十几个任务就是 30-50 美元。开销还是比较大的。

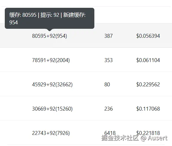
这里就要提到 prompt caching 了。Anthropic 官方支持 prompt caching,简单来说就是如果你连续多次请求中有大量重复的上下文内容(比如同一个文件被反复读取),缓存命中的部分只收十分之一的价格。Claude Code CLI 本身是支持这个特性的,它会自动在请求中标记可缓存的内容。但问题在于,很多第三方在调用 API 时并没有正确地设置缓存相关的参数,导致即使 Anthropic 那边支持缓存,实际上也没有命中,每次都按全价计费。这就很亏了。

Camel API 在这个问题上做了个比较聪明的处理:它在中转层自动分析请求内容,对符合缓存条件的部分主动添加缓存标记,再转发给 Anthropic。也就是说即使你用的客户端本身不支持 prompt caching,经过 Camel API 中转之后也能享受到缓存带来的价格优惠。在 Claude Code 这种场景下,同一个会话中反复读取相同文件是非常常见的操作,缓存命中率通常能达到 60%-80%,省下来的钱还是挺可观的。下图就是一个例子,可以参考:

image.png

费用因人而异啊,轻度用户按量计费更合适。重度用户建议先按量用一两周看看消耗量,再决定是否转套餐。

六、一些实用的省钱技巧

除了选对 API 方案之外,日常使用中还有一些技巧可以帮你控制费用。

第一个是善用 CLAUDE.md 文件。在项目根目录放一个 CLAUDE.md,写清楚技术栈、代码规范、目录结构,Claude Code 启动时会自动读取。这样它不需要每次重新扫描项目来理解上下文,能节省 20%-30% 的 token 用量。

第二个是合理选择模型。日常的代码修改、bug 修复、写测试,Sonnet 完全够用,价格只有 Opus 的五分之一。我的习惯是默认用 Sonnet,只在复杂架构设计或深度 debug 时切 Opus。通过 claude --model 参数或会话中 /model 命令可以随时切换。如果你追求极致的能力的话,那就全opus吧,效果也还是不错的(废话)。

第三个是控制上下文长度。完成一个任务后,如果下一个任务关联不大,用 /clear 清空会话或重启新会话,避免累积的历史对话推高 token 消耗。

写在最后

我现在大底是离不开这玩意了,配好了之后效率确实高,钱也没之前烧得那么狠。国内使用确实有门槛,但这些门槛都是可以跨过去的。希望这篇教程能帮你少走一些弯路,尽快把 Claude Code 用起来。AI作为生产力工具,确实是十分好用的。


相关链接: