CRM系统如何管理客户?

47 阅读4分钟

CRM系统的客户管理核心的是通过客户模块,实现客户全生命周期的规范化、高效化管控,各功能协同运作,确保客户资源不流失、跟进不遗漏、管理有依据。

外呼管理:高效触达客户,同步记录轨迹

外呼功能是CRM客户模块中实现客户主动触达的核心手段,核心是“触达+记录+管控”,打通外呼与客户信息的联动,避免重复工作。

  1. 外呼发起:支持从客户列表直接发起外呼,无需切换第三方工具,系统自动关联客户姓名、手机号、归属人等基础信息,避免拨号错误。

  2. 通话记录同步:外呼结束后,系统自动记录通话时长、通话录音、通话结果,无需人工手动录入;录音可长期留存,用于后续跟进复盘、话术优化、纠纷追溯。

  3. 外呼联动跟进:通话结束后,可直接在客户详情页快速创建跟进记录,系统自动关联至该客户的跟进轨迹,实现“外呼-记录-跟进”一步到位,避免遗漏客户诉求。

自定义表单:适配多样需求,完善客户画像

不同行业、不同业务场景下,需要收集的客户信息存在差异,自定义表单功能可灵活适配需求,实现客户信息的“全面化、个性化”收集,为客户画像搭建奠定基础。

管理员根据业务需求,自主创建表单(如客户基本信息表、需求调研表、意向登记表等),可自由添加字段(文本、单选、多选、日期等),设置字段必填/非必填、默认值、选项范围(如客户来源、意向产品等),无需开发介入,快速适配业务变化。

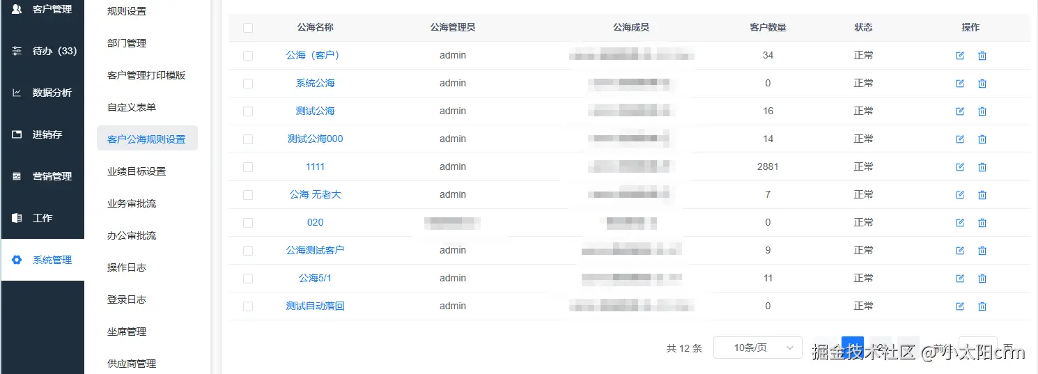
公海管理:盘活客户资源,避免资源浪费

公海是CRM系统中集中管理“未分配、待跟进、跟进失败”客户资源的模块,核心是“资源池化、动态分配、良性循环”,确保每一个客户资源都能被有效利用。

  1. 公海分类与规则设置:支持根据业务需求创建多类公海(如新人公海、意向客户公海、沉睡客户公海),设置公海准入、捞出、退回规则;例如,新录入未分配的客户自动进入新人公海,员工捞出公海客户后,需在规定时间内跟进(如7天),未按时跟进则自动退回公海;跟进失败的客户,可手动退回公海,重新进入资源池。

  2. 客户捞取与分配:员工可根据自身权限,从公海捞取客户(支持按客户来源、意向度、地区等筛选),捞取后客户自动归属该员工,纳入其自有客户列表;管理员可手动分配公海客户(如将高意向公海客户分配给资深员工),确保优质资源精准对接。

  3. 公海数据监控:管理员可查看各公海的客户数量、捞取率、退回率、跟进转化率等数据,监控客户资源流转情况;例如,若某一公海客户长期未被捞取,可提醒员工关注,或调整公海规则,避免资源闲置。

客户跟进:全轨迹记录,规范化推进

客户跟进是CRM客户模块的核心环节,核心是“记录轨迹、明确节点、高效推进”,确保每一个客户都有对应的跟进动作,每一步跟进都有记录、有目标。

  1. 跟进方式多样化:支持多种跟进方式,跟进时可直接关联客户,填写跟进内容(跟进主题、跟进详情、客户反馈、下次跟进时间、跟进目标)。

  2. 跟进轨迹可视化:客户详情页会自动汇总所有跟进记录(按时间倒序排列),包括跟进人、跟进时间、跟进方式、跟进内容、关联文件等,管理员和跟进人可随时查看客户跟进进度,了解客户当前状态,避免重复跟进或遗漏跟进。

客户提醒:精准触达责任人,避免跟进遗漏

客户提醒功能是CRM系统的“辅助管控工具”,核心是“精准触发、及时提醒、闭环跟进”,将被动跟进转化为主动提醒,确保每一个关键节点都不被遗漏。

1. 跟进提醒:根据跟进记录中的“下次跟进时间”,自动触发提醒(如提前1小时、提前1天),提醒跟进人按时跟进客户;

  1. 电脑、APP同步提醒。