在 iOS 上架中如何批量方便快捷管理 Bundle ID

48 阅读3分钟

在只有一两个 App 的时候,Bundle ID 基本不需要额外管理。 打开 Apple Developer 后台,新建一个,配置证书,流程就结束了。

但一旦进入下面这些场景,问题会开始集中出现:

  • 多个白标 App,只有包名不同
  • 同一套代码,区分测试版、正式版、企业版
  • 外包或多团队协作,需要统一命名和权限策略
  • 自动化打包脚本需要提前准备好可用的 Bundle ID

这时候,一个个点网页创建就感觉非常重复操作。


Bundle ID 本身并不复杂,复杂的是它的上下关系

在 Apple 体系里,Bundle ID 并不是一个孤立对象,它至少会同时影响:

  • 证书绑定关系
  • 描述文件生成结果
  • Push、Associated Domains 等能力配置
  • Xcode / 打包工具中的签名校验

如果 Bundle ID 管理混乱,后续所有环节都会被放大成本。


在开发者后台手动维护 Bundle ID 的实际问题

通过 Apple Developer 网站新建 Bundle ID 时,需要逐个完成:

  • 填写 Identifier
  • 勾选 Capabilities
  • 保存并等待生效

当数量上升到十几个甚至几十个时,会遇到几个明显问题:

  • 无法快速对比已有 Bundle ID 是否重复
  • 能力配置是否一致只能逐条点开检查
  • 新人很容易误删或改错已有项目

后台本身并不是为“批量操作”设计的。


在项目中同步 Bundle ID 的流程

在实际项目中,Bundle ID 通常还需要同步到多个地方:

  • HBuilderX / Xcode 项目配置
  • 自动化构建脚本
  • 描述文件生成工具

如果这些地方的值不一致,打包阶段就会直接失败。

因此,比创建更重要的是让 Bundle ID 成为一个可集中管理的资源


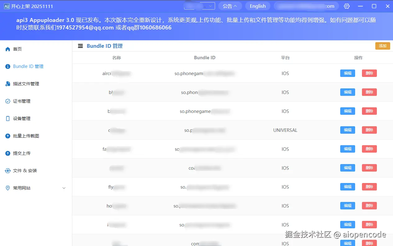
使用 AppUploader 进行 Bundle ID 集中管理

在 AppUploader 中,Bundle ID 被当作一个独立的管理对象存在,可以:

  • 新建 Bundle ID 并保存到本地管理列表
  • 对已有 Bundle ID 做名称调整或删除
  • 在生成证书、描述文件时直接选择已存在的 ID

这种方式的好处在于: Bundle ID 不再只存在于网页后台,而是进入了工程工具链中bid


批量准备 Bundle ID 的一个实际做法

假设你需要为一组 uni-app 项目准备 10 个 iOS App:

  • 在 AppUploader 中一次性创建所需的 Bundle ID
  • 命名规则按项目名或渠道区分
  • 后续生成证书、描述文件时直接复用这些 ID
  • 打包工具只需要读取对应的 Bundle ID 即可

整个过程不依赖频繁切换浏览器页面。


关于推送能力的配置边界

在 Bundle ID 层面开启 Push Notifications 后,还需要注意两点:

  • 推送证书是在 Apple Developer 后台生成的
  • 描述文件生成时需要绑定对应的 Bundle ID

Bundle ID 只决定“是否允许推送”, 真正用于消息发送的是服务器端证书。

这一点在多人协作时需要明确分工,避免误以为“开启了就能推送”。


批量管理的核心价值不是快,而是可控

当 Bundle ID 被集中管理之后,可以做到:

  • 明确哪些 ID 已用于生产
  • 哪些仅用于测试或内部包
  • 哪些能力是允许启用的

这些信息本身就构成了一份签名资产清单。

参考链接:www.appuploader.net/tutorial/zh…