VK16D32 恒流数码管点阵LED驱动控制专用芯片用于小型LED显示屏驱动

38 阅读10分钟

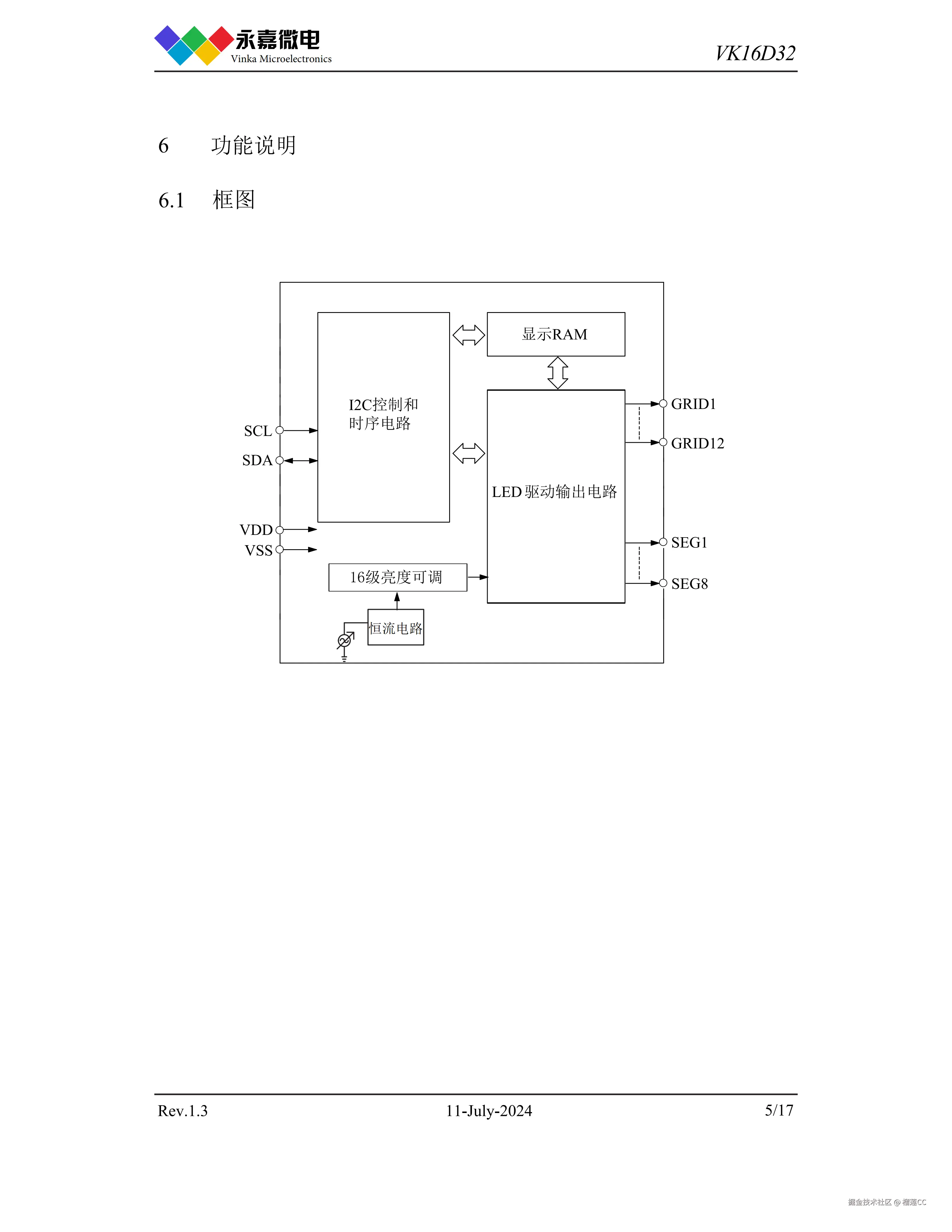
VK16D32是一种恒流数码管或点阵LED驱动控制专用芯片,内部集成有数据锁存器、LED 恒流驱动模块等电路。可以通过寄存器配置,调节扫描的位数,从而获得更大的单点驱动电 流。数据通过I2C通讯接口与MCU通信。SEG脚接LED阳极,GRID脚接LED阴极,可支持 8SEGx1GRID到8SEGx12GRID的点阵LED显示面板。采用SSOP24的封装形式,适用于小型LED 显示屏驱动。

相较于传统的 LED 显示面板驱动芯片,当点亮的 LED 数量变化或者输入电压变化时,单 颗 LED 电流会发生变化,从而会影响显示亮度;而采用了恒流设计,当显示模式配置好后, 每颗 LED 的电流就恒定不变,不会因点亮的 LED 数量变化和输入电压变化而产生波动。 LJQ7575

产品品牌:永嘉微电/VINKA
产品型号:VK16D32

封装形式:SSOP24 邱婷:18823668825

VK16D32_V1.3-CN_04.png

特点 

• 工作电压 3.0-5.5V

• 内置 RC振荡器

• 8个SEG脚,12个GRID脚(显示位数可调1到12位)

• SEG脚只能接LED阳极,GRID脚只能接LED阴极

• I2C通讯接口

• 8级整体亮度可调(SEG恒流设置8级)

• 内置显示RAM为8x12位

• 内置上电复位电路 • 输出恒流

• 驱动电流大,适合高亮显示场合

• 封装 SSOP24L(150mil)(8.65mm×3.90mm PP=0.635mm)

VK16D32_V1.3-CN_05.png

VK16D32_V1.3-CN_06.png 内存映射的LED控制器及驱动器****

VK16D32   3.0~5.5V  驱动点阵:96    共阴驱动:8段12位   共阳驱动:---   通讯接口:SCL/SDA   静态****

电流/待机电流:<1mA<10μA   按键:---   封装:SSOP24  恒流驱动

VK16D33   3.0~5.5V  驱动点阵:128   共阴驱动:8段16位   共阳驱动:---   通讯接口:SCL/SDA   静态

电流/待机电流:<1mA<10μA   按键:---   封装:SOP28   恒流驱动
———————————————————————————————————————————————————

VK16K33A   3.0~5.5V   驱动点阵:128  共阴驱动:16段8位; 共阳驱动:8段16位    通讯接口:SCL/SDA   

静态电流/待机电流:typ.1mA/1μA   按键:13*3     封装:SOP28    驱动电流大,适合高亮显示场合

VK16K33AA  3.0~5.5V   驱动点阵:128  共阴驱动:16段8位; 共阳驱动:8段16位    通讯接口:SCL/SDA   

静态电流/待机电流:typ.1mA/1μA   按键:13*3     封装:SSOP28   驱动电流大,适合高亮显示场合

VK16K33B  3.0~5.5V   驱动点阵:96    共阴驱动:12段8位; 共阳驱动:8段12位    通讯接口:SCL/SDA   

静态电流/待机电流:typ.1mA/1μA   按键:10*3     封装:SOP24   驱动电流大,适合高亮显示场合

VK16K33BA  3.0~5.5V   驱动点阵:96    共阴驱动:12段8位; 共阳驱动:8段12位    通讯接口:SCL/SDA   

静态电流/待机电流:typ.1mA/1μA   按键:10*3     封装:SSOP24  驱动电流大,适合高亮显示场合

VK16K33C   3.0~5.5V   驱动点阵:64    共阴驱动:8段8位;  共阳驱动:8段8位     通讯接口:SCL/SDA   

静态电流/待机电流:typ.1mA/1μA   按键:8*3      封装:SOP20   驱动电流大,适合高亮显示场合

——————————————————————————————————————————————————

VK1640    3.0~5.5V   驱动点阵:128   共阴驱动:8段16位   共阳驱动:16段8位      通讯接口:CLK/DIN

静态电流/待机电流:<0.1mA/--       按键:---   封装:SOP28   

VK1640A   3.0~5.5V   驱动点阵:128   共阴驱动:8段16位   共阳驱动:16段8位      通讯接口:CLK/DIN

静态电流/待机电流:<0.1mA/--       按键:---   封装:SSOP28

VK1640B   3.0~5.5V   驱动点阵:96    共阴驱动:8段12位   共阳驱动:12段8位      通讯接口:CLK/DIN

静态电流/待机电流:<0.1mA/--       按键:---   封装:SSOP24

VK1650    3.0~5.5V   驱动点阵:32    共阴驱动:8段4位   共阳驱动:4段8位        通讯接口:CLK/DAT

静态电流/待机电流:typ.0.3mA/50μA   按键:7*4   封装:SOP16/DIP16  

VK1Q60    3.0~5.5V   驱动点阵:32    共阴驱动:8段4位   共阳驱动:4段8位        通讯接口:CLK/DAT

静态电流/待机电流:<0.1mA/---     按键:7*4   封装:QFN16

VK1651    3.0~5.5V   驱动点阵:28    共阴驱动:4段7位   共阳驱动:7段4位        通讯接口:CLK/DIO

静态电流/待机电流:<5mA/--         按键:7*1   封装:SOP16/DIP16
——————————————————————————————————————————————————

VK1637    3.0~5.5V   驱动点阵:48    共阴驱动:6段8位   共阳驱动:8段6位        通讯接口:CLK/DIO

静态电流/待机电流:--/--            按键:8*2   封装:SOP20/DIP20               

VK1616    3.0~5.5V   驱动点阵:28    共阴驱动:7段4位   共阳驱动:4段7位        通讯接口:CLK/STB/DIO

静态电流/待机电流:<1mA/--         按键:---   封装:SOP16/DIP16       抗干扰能力强

VK1618    3.0~5.5V   驱动点阵:35/36/35/32    共阴驱动:5段7位;6段6位;7段5位;8段4位   

共阳驱动:7段5位;6段6位;5段7位;4段8位         通讯接口:CLK/STB/DIO

静态电流/待机电流:<1mA/--         按键:5*1   封装:SOP18/DIP18       抗干扰能力强

VK1620B   3.0~5.5V   驱动点阵:48/45/40      共阴驱动:8段6位;9段5位;10段4位   

共阳驱动:6段8位;5段9位;4段10位                  通讯接口:CLK/STB/DIO

静态电流/待机电流:<1mA/--         按键:---   封装:SOP20             抗干扰能力强

VK1624    3.0~5.5V   驱动点阵:77/72/65/56   共阴驱动:11段7位;12段6位;13段5位;14段4位   

共阳驱动:7段11位;6段12位;5段13位;4段14        通讯接口:CLK/STB/DIO

静态电流/待机电流:<1mA/--         按键:---   封装:SOP24/DIP24       抗干扰能力强

VK1S68C   3.0~5.5V   驱动点阵:70/66/60/52   共阴驱动:10段7位;11段6位;12段5位;13段4位  

共阳驱动:7段10位;6段11位;5段12位;4段13位     通讯接口:CLK/STB/DIO

静态电流/待机电流:<1mA/--         按键:10*2  封装:SSOP24            抗干扰能力强

VK1Q68D   3.0~5.5V   驱动点阵:70/66/60/52   共阴驱动:10段7位;11段6位;12段5位;13段4位  

共阳驱动:7段10位;6段11位;5段12位;4段13位     通讯接口:CLK/STB/DIO

静态电流/待机电流:<1mA/--         按键:10*2  封装:QFN24             抗干扰能力强

VK1668    3.0~5.5V   驱动点阵:70/66/60/52   共阴驱动:10段7位;11段6位;12段5位;13段4位  

共阳驱动:7段10位;6段11位;5段12位;4段13位     通讯接口:CLK/STB/DIO

静态电流/待机电流:<1mA/--         按键:10*2  封装:SOP24/SSOP24      抗干扰能力强

VK1628    3.0~5.5V   驱动点阵:70/66/60/52   共阴驱动:10段7位;11段6位;12段5位;13段4位  

共阳驱动:7段10位;6段11位;5段12位;4段13位     通讯接口:CLK/STB/DIO

静态电流/待机电流:<1mA/--         按键:10*2  封装:SOP28             抗干扰能力强

VK1S38A   3.0~5.5V   驱动点阵:64     共阴驱动:8段8位    共阳驱动:8段8位   通讯接口:CLK/STB/DIO

静态电流/待机电流:<5mA/--         按键:8*3   封装:SSOP24            抗干扰能力强

VK1638    3.0~5.5V   驱动点阵:80     共阴驱动:10段8位    共阳驱动:8段10位   通讯接口:CLK/STB/DIO

静态电流/待机电流:<5mA/--         按键:8*3   封装:SOP28             抗干扰能力强

VK1629    3.0~5.5V  驱动点阵:128  共阴驱动:16段8位   共阳驱动:8段16位   通讯接口:CLK/STB/DIN/DOUT

静态电流/待机电流:<5mA/--  按键:8*4   封装:LQFP44(QFP44正方形);   抗干扰能力强

VK1629A   3.0~5.5V   驱动点阵:128     共阴驱动:16段8位    共阳驱动:8段16位   通讯接口:CLK/STB/DIO

静态电流/待机电流:<5mA/--         按键:---   封装:SOP32             抗干扰能力强

VK1629B   3.0~5.5V   驱动点阵:112     共阴驱动:14段8位    共阳驱动:8段14位   通讯接口:CLK/STB/DIO

静态电流/待机电流:<5mA/--         按键:8*2   封装:SOP32             抗干扰能力强

VK1629C   3.0~5.5V   驱动点阵:120     共阴驱动:15段8位    共阳驱动:8段15位   通讯接口:CLK/STB/DIO

静态电流/待机电流:<5mA/--         按键:8*1   封装:SOP32             抗干扰能力强

VK1629D   3.0~5.5V   驱动点阵:96      共阴驱动:12段8位    共阳驱动:8段12位   通讯接口:CLK/STB/DIO

静态电流/待机电流:<5mA/--         按键:8*4   封装:SOP32             抗干扰能力强

VK6932    3.0~5.5V   驱动点阵:128     共阴驱动:8段16位    共阳驱动:16段8位   通讯接口:CLK/STB/DIN

静态电流/待机电流:<0.1mA/--       按键:---   封装:SOP32             抗干扰能力强

(永嘉微电/VINKA原厂-FAE技术支持,主营LCD驱动IC; LED驱动IC; 触摸IC; LDO稳压IC; 水位检测IC)

LED驱动、LED屏驱动、数显驱动IC、LED芯片、LED驱动器、数码管显示驱动、LED显示驱动、LED数显驱动原厂、LED数显驱动芯片、LED驱动IC、点阵LED显示驱动、LED屏驱动IC、数显驱动芯片、数码管芯片、数码管驱动、数显屏驱动、数显IC、数显芯片、数显驱动、LED数显IC、数显驱动原厂、LED屏驱动芯片、LED数显驱动IC、LED数显驱动IC、LED驱动电路、数显LED屏驱动、LED数显屏驱动、LED显示屏驱动、LED数码管驱动、数显LED驱动、LED数显驱动、数码管显示IC、数码管显示芯片、数码管驱动芯片、LED显示驱动芯片、显示数码管驱动、LED控制电路、数显LED驱动芯片、数显LED驱动IC、LED驱动芯片、数码管显示屏驱动、数码管驱动原厂、LED驱动厂家、LED驱动原厂、LED数码驱动、LED数码屏驱动、LED数显芯片、数码管驱动IC、显示LED驱动、数码管LED驱动、LED显示IC、点阵数显驱动、点阵数码管驱动、点阵LED驱动、点阵数显驱动芯片、点阵数显驱动IC、点阵LED驱动芯片、点阵LED驱动IC、LED数显原厂、点阵数码管显示芯片、数码管驱动厂家、数显LED原厂