【爬虫逆向】逆向某州租车顺风车,APP版本

58 阅读1分钟

前言

相信大家都有出去玩的习惯,出去玩少不了有个车子代步,那么身为租车老手,肯定少不了薅羊毛

某租车平台有顺风车业务,其实就是变相帮人运输挪车子,但是也是很香的了,有时候有豪车,理想、问界、奔驰、宝马等,但是都需要蹲,时不时需要打开来看看

APP上支持的搜索不多,只有取车、还车、取车时间等,不能支持自定义,如果能全部拉取下来,然后自己写个搜索业务就更爽了 ,故逆向

之前还是在H5、小程序页面上面都有的,现在转到APP上了,那就开始逆向吧

APP页面

002f13dbbbb76772ef66a098b1fd3945.jpg

1、抓包分析

image.png

发现都加密了,非明文

2、开始逆向

apk版本:8.3.9 用jadx打开发现是加壳了,用fart进行脱壳

3、frida开始逆向

这里为什么用旧版本8.3.9 是因为新版本加了frida检测

e344d4a8f600963172997798c300a7cb.jpg

这里发现强制性升级,用frida hook掉过升级

 var target = "com.xxx.component.bizbase.upgrade.UpgradeDialog";
    var UD = Java.use(target);
    console.log("[+] Hooked UpgradeDialog inside Activity.onCreate");
    UD["e"].implementation = function () {
      console.log(`UpgradeDialog.e is called`);
      let result = this["e"]();
      console.log(`UpgradeDialog.e result=${result}`);
      return false;
    };

4、参数逐一逆向

先全局搜索app_session_id,看看能不能搜到

image.png

好家伙一搜一个准,全都有,一锅端,其他参数也都出来了

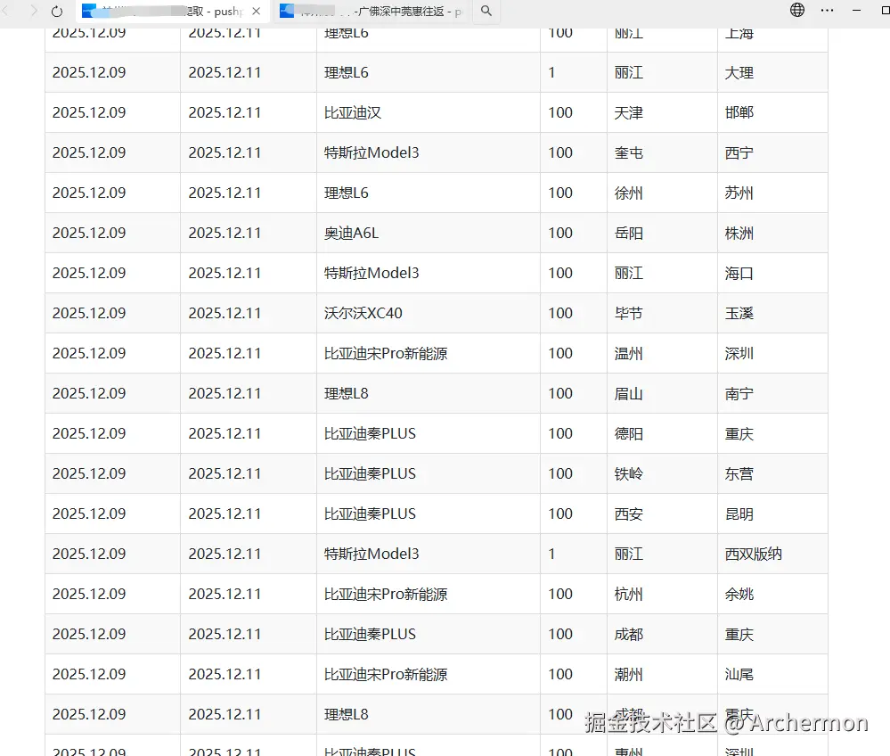
剩下的就是frida秒了,没啥难度 算法还原之后就是这样的效果

image.png

5、简单封装一下定时任务

由于每次都要看太麻烦了,直接定是爬虫然后查到想要的车子、地点,通过公众号发送通知,微信就能看,十分方便

image.png

image.png

一元开豪车不是梦

image.png