React | 列表页table,使用for循环生成mock,测试分页

28 阅读5分钟

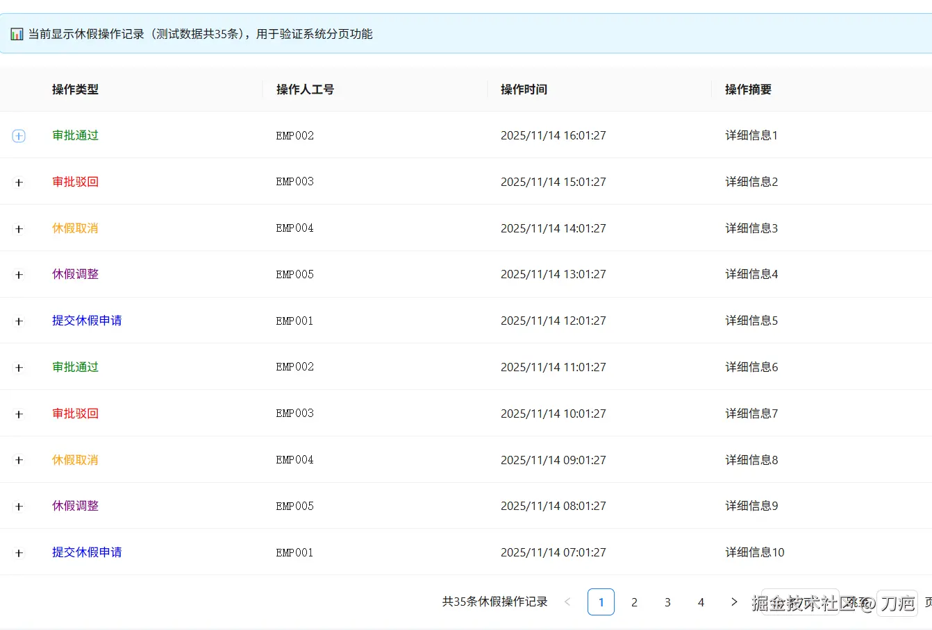
生成测试数据效果图(如下) image.png

代码(copy可执行)


import { Table } from "antd";
import { useState, useEffect } from "react";

/**
 * 休假管理系统- 用于展示员工休假申请的操作记录
 */
// 改进:定义接口
interface OperationLog {
  id: string;
  operation_type: string;
  operator_id: string;
  operation_time: string;
  operation_details: string;
}


// 生成测试数据的函数
const generateMockData = () => {
  const mockData = [];
  // 休假操作类型枚举
  const leaveOperations = ['提交休假申请', '审批通过', '审批驳回', '休假取消', '休假调整'];
  // 员工信息 - 使用工号代替真实姓名
  const employees = ['EMP001', 'EMP002', 'EMP003', 'EMP004', 'EMP005'];
  
  //关键点
  for (let i = 1; i <= 35; i++) {
    const operationType = leaveOperations[i % leaveOperations.length];
    const employee = employees[i % employees.length];
    
    mockData.push({
      id: `record-${i}`,
      operation_type: operationType,
      operator_id: employee,
      operation_time: new Date(Date.now() - i * 3600000).toISOString(),
      operation_details: `详细信息${i}`
    });
  }
  return mockData;
};

export default function LeaveOperationLog() {
  const [tableParams, setTableParams] = useState({ limit: 10, offset: 0 });
  const [mockDataSource, setMockDataSource] = useState<OperationLog[]>([]);

  // 在组件挂载时生成测试数据
  useEffect(() => {
    setMockDataSource(generateMockData());
  }, []);

 
  // 分页配置
  const pagination = {
    showSizeChanger: true,
    showQuickJumper: true,
    pageSizeOptions: [10, 20, 50, 100],
    total:  mockDataSource.length,
    showTotal: (total: number) => `共${total}条休假操作记录`,
    current: Math.floor(tableParams.offset / tableParams.limit) + 1,
    pageSize: tableParams.limit,
    onChange: (page: number, pageSize: number) => {
      const newParams = {
        limit: pageSize,
        offset: (page - 1) * pageSize
      };
      setTableParams(newParams);
    }
  };

  return (
    <>
      <div style={{ 
        marginBottom: 16, 
        padding: 12, 
        backgroundColor: '#e6f7ff', 
        borderRadius: 6,
        border: '1px solid #91d5ff'
      }}>
        <span>📊 当前显示休假操作记录(测试数据共35条),用于验证系统分页功能</span>
      </div>
      <Table
        rowKey='id'
        columns={ColumnsDetail}
        pagination={pagination}
        expandable={{
          expandedRowRender: record => (
            <div style={{ margin: 0, padding: '8px 0', lineHeight: '1.6' }}>
              <strong>操作详情:</strong>
              {record.operation_details}
            </div>
          ),
        }}
        dataSource={mockDataSource.slice(
          tableParams.offset, 
          tableParams.offset + tableParams.limit
        )}
      />
    </>
  );
}

// 后的列配置 - 休假管理系统专用
export const ColumnsDetail = [
  { 
    title: '操作类型', 
    dataIndex: 'operation_type', 
    key: 'operation_type',
    render: (text: string) => {
      const colorMap = {
        '提交休假申请': 'blue',
        '审批通过': 'green',
        '审批驳回': 'red',
        '休假取消': 'orange',
        '休假调整': 'purple'
      };
      return <span style={{ color: colorMap[text] || '#000' }}>{text}</span>;
    }
  },
  { 
    title: '操作人工号', 
    dataIndex: 'operator_id', 
    key: 'operator_id',
    render: (text: string) => <code>{text}</code>
  },
  { 
    title: '操作时间', 
    dataIndex: 'operation_time', 
    key: 'operation_time',
    render: (text: string) => new Date(text).toLocaleString('zh-CN')
  },
  { 
    title: '操作摘要', 
    dataIndex: 'operation_details', 
    key: 'operation_details',
    ellipsis: true,
    render: (text: string) => text.length > 30 ? `${text.substring(0, 30)}...` : text
  },
];

代码片段其他亮点

  • 分页
  • table列表中的唯一id

for循环跑出来的数据(不重要-想看就过一眼)


[
    {
        "id": "record-1",
        "operation_type": "审批通过",
        "operator_id": "EMP002",
        "operation_time": "2025-11-14T08:04:40.093Z",
        "operation_details": "详细信息1"
    },
    {
        "id": "record-2",
        "operation_type": "审批驳回",
        "operator_id": "EMP003",
        "operation_time": "2025-11-14T07:04:40.093Z",
        "operation_details": "详细信息2"
    },
    {
        "id": "record-3",
        "operation_type": "休假取消",
        "operator_id": "EMP004",
        "operation_time": "2025-11-14T06:04:40.093Z",
        "operation_details": "详细信息3"
    },
    {
        "id": "record-4",
        "operation_type": "休假调整",
        "operator_id": "EMP005",
        "operation_time": "2025-11-14T05:04:40.093Z",
        "operation_details": "详细信息4"
    },
    {
        "id": "record-5",
        "operation_type": "提交休假申请",
        "operator_id": "EMP001",
        "operation_time": "2025-11-14T04:04:40.093Z",
        "operation_details": "详细信息5"
    },
    {
        "id": "record-6",
        "operation_type": "审批通过",
        "operator_id": "EMP002",
        "operation_time": "2025-11-14T03:04:40.093Z",
        "operation_details": "详细信息6"
    },
    {
        "id": "record-7",
        "operation_type": "审批驳回",
        "operator_id": "EMP003",
        "operation_time": "2025-11-14T02:04:40.093Z",
        "operation_details": "详细信息7"
    },
    {
        "id": "record-8",
        "operation_type": "休假取消",
        "operator_id": "EMP004",
        "operation_time": "2025-11-14T01:04:40.093Z",
        "operation_details": "详细信息8"
    },
    {
        "id": "record-9",
        "operation_type": "休假调整",
        "operator_id": "EMP005",
        "operation_time": "2025-11-14T00:04:40.093Z",
        "operation_details": "详细信息9"
    },
    {
        "id": "record-10",
        "operation_type": "提交休假申请",
        "operator_id": "EMP001",
        "operation_time": "2025-11-13T23:04:40.093Z",
        "operation_details": "详细信息10"
    },
    {
        "id": "record-11",
        "operation_type": "审批通过",
        "operator_id": "EMP002",
        "operation_time": "2025-11-13T22:04:40.093Z",
        "operation_details": "详细信息11"
    },
    {
        "id": "record-12",
        "operation_type": "审批驳回",
        "operator_id": "EMP003",
        "operation_time": "2025-11-13T21:04:40.093Z",
        "operation_details": "详细信息12"
    },
    {
        "id": "record-13",
        "operation_type": "休假取消",
        "operator_id": "EMP004",
        "operation_time": "2025-11-13T20:04:40.093Z",
        "operation_details": "详细信息13"
    },
    {
        "id": "record-14",
        "operation_type": "休假调整",
        "operator_id": "EMP005",
        "operation_time": "2025-11-13T19:04:40.093Z",
        "operation_details": "详细信息14"
    },
    {
        "id": "record-15",
        "operation_type": "提交休假申请",
        "operator_id": "EMP001",
        "operation_time": "2025-11-13T18:04:40.093Z",
        "operation_details": "详细信息15"
    },
    {
        "id": "record-16",
        "operation_type": "审批通过",
        "operator_id": "EMP002",
        "operation_time": "2025-11-13T17:04:40.093Z",
        "operation_details": "详细信息16"
    },
    {
        "id": "record-17",
        "operation_type": "审批驳回",
        "operator_id": "EMP003",
        "operation_time": "2025-11-13T16:04:40.093Z",
        "operation_details": "详细信息17"
    },
    {
        "id": "record-18",
        "operation_type": "休假取消",
        "operator_id": "EMP004",
        "operation_time": "2025-11-13T15:04:40.093Z",
        "operation_details": "详细信息18"
    },
    {
        "id": "record-19",
        "operation_type": "休假调整",
        "operator_id": "EMP005",
        "operation_time": "2025-11-13T14:04:40.093Z",
        "operation_details": "详细信息19"
    },
    {
        "id": "record-20",
        "operation_type": "提交休假申请",
        "operator_id": "EMP001",
        "operation_time": "2025-11-13T13:04:40.093Z",
        "operation_details": "详细信息20"
    },
    {
        "id": "record-21",
        "operation_type": "审批通过",
        "operator_id": "EMP002",
        "operation_time": "2025-11-13T12:04:40.093Z",
        "operation_details": "详细信息21"
    },
    {
        "id": "record-22",
        "operation_type": "审批驳回",
        "operator_id": "EMP003",
        "operation_time": "2025-11-13T11:04:40.093Z",
        "operation_details": "详细信息22"
    },
    {
        "id": "record-23",
        "operation_type": "休假取消",
        "operator_id": "EMP004",
        "operation_time": "2025-11-13T10:04:40.093Z",
        "operation_details": "详细信息23"
    },
    {
        "id": "record-24",
        "operation_type": "休假调整",
        "operator_id": "EMP005",
        "operation_time": "2025-11-13T09:04:40.093Z",
        "operation_details": "详细信息24"
    },
    {
        "id": "record-25",
        "operation_type": "提交休假申请",
        "operator_id": "EMP001",
        "operation_time": "2025-11-13T08:04:40.093Z",
        "operation_details": "详细信息25"
    },
    {
        "id": "record-26",
        "operation_type": "审批通过",
        "operator_id": "EMP002",
        "operation_time": "2025-11-13T07:04:40.093Z",
        "operation_details": "详细信息26"
    },
    {
        "id": "record-27",
        "operation_type": "审批驳回",
        "operator_id": "EMP003",
        "operation_time": "2025-11-13T06:04:40.093Z",
        "operation_details": "详细信息27"
    },
    {
        "id": "record-28",
        "operation_type": "休假取消",
        "operator_id": "EMP004",
        "operation_time": "2025-11-13T05:04:40.093Z",
        "operation_details": "详细信息28"
    },
    {
        "id": "record-29",
        "operation_type": "休假调整",
        "operator_id": "EMP005",
        "operation_time": "2025-11-13T04:04:40.093Z",
        "operation_details": "详细信息29"
    },
    {
        "id": "record-30",
        "operation_type": "提交休假申请",
        "operator_id": "EMP001",
        "operation_time": "2025-11-13T03:04:40.093Z",
        "operation_details": "详细信息30"
    },
    {
        "id": "record-31",
        "operation_type": "审批通过",
        "operator_id": "EMP002",
        "operation_time": "2025-11-13T02:04:40.093Z",
        "operation_details": "详细信息31"
    },
    {
        "id": "record-32",
        "operation_type": "审批驳回",
        "operator_id": "EMP003",
        "operation_time": "2025-11-13T01:04:40.093Z",
        "operation_details": "详细信息32"
    },
    {
        "id": "record-33",
        "operation_type": "休假取消",
        "operator_id": "EMP004",
        "operation_time": "2025-11-13T00:04:40.093Z",
        "operation_details": "详细信息33"
    },
    {
        "id": "record-34",
        "operation_type": "休假调整",
        "operator_id": "EMP005",
        "operation_time": "2025-11-12T23:04:40.093Z",
        "operation_details": "详细信息34"
    },
    {
        "id": "record-35",
        "operation_type": "提交休假申请",
        "operator_id": "EMP001",
        "operation_time": "2025-11-12T22:04:40.093Z",
        "operation_details": "详细信息35"
    }
]