一文教你掌握MongoDB索引

106 阅读11分钟

@[toc]

本文主要介绍了mongoDB的索引管理

前言

索引支持在MongoDB中高效地执行查询。如果没有索引,MongoDB必须执行全集合扫描,即扫描集合中的每个文档,以选择与查询语句匹配的文档。 这种扫描全集合的查询效率是非常低的,特别在处理大量的数据时,查询可以要花费几十秒甚至几分钟,这对网站的性能是非常致命的。

索引的介绍

索引介绍

如果查询存在适当的索引,MongoDB可以使用该索引限制必须检查的文档数。索引是特殊的数据结构,它以易于遍历的形式存储集合数据集的一小部分。 索引存储特定字段或一组字段的值,按字段值排序。索引项的排序支持有效的相等匹配和基于范围的查询操作。此外,MongoDB还可以使用索引中的排序 返回排序结果。MongoDB索引使用B树数据结构(MySQL用的是B+Tree,其实准确的来说MongoDB使用的就是B+Tree)。

索引的分类

不同的分类维度,可以分成不同的组

  • 按照索引包含的字段数量,可以分为单键索引和组合索引(复合索引)
  • 按照索引的字段类型,可以分为主键索引和非主键索引
  • 按照索引节点与物理节点的对应方式来分,可以分为聚簇索引和非聚簇索引,其中聚簇索引指的是索引节点上直接包含了数据记录,而后者仅仅是包含 一个指向数据记录的指针。
  • 按照索引的特性不同,又可以分为唯一索引、稀疏索引、文本索引、地理空间索引等。

索引的类型

单字段索引

MongoDB支持在文档的单个字段上创建用户定义的升序/降序索引,称为单字段索引(Single Field Index)。对于单个字段索引和排序操作,索引键 的排序顺序(即升序或降序)并不重要,因为MongoDB可以在任何方向上遍历索引。 下图说明了使用索引选择和排序匹配文档的查询:

单字段索引

它的排列顺序呢就是按照18,30,45等顺序排列,会存储这样的索引数据结构。比如我们去查询score=30的时候先去查索引数据,找到之后再去collection 中找它真实的文档。单字段索引创建,无论是升序或者降序,那么它的效率没多大区别。

复合索引

MongoDB还支持多个字段的索引,即复合索引(Compound index)。复合索引中列出的字段的顺序具有重要的意义。 例如如果复合索引由{userId:1,score:-1}组成,则索引首先通过ask的顺序按照userId正序排序,然后在每个 userId内,再按照core倒序排序(比如图中的ca2三个一样,然后在内部再做一个userId的降序排序)。

多键索引

在数组的属性上建立索引,针对这个数组的任意值的查询都会定位到这个文档,既多个索引入口或者键值引用同一个文档

mongo多键索引

创建集合:

db.inventory.insertMany([
{ _id: 5, type: "food", item: "aaa", ratings: [ 5, 8, 9 ] }
{ _id: 6, type: "food", item: "bbb", ratings: [ 5, 9 ] }
{ _id: 7, type: "food", item: "ccc", ratings: [ 9, 5, 8 ] }
{ _id: 8, type: "food", item: "ddd", ratings: [ 9, 5 ] }
{ _id: 9, type: "food", item: "eee", ratings: [ 5, 9, 5 ] }
])

创建多键索引:

db.inventory.createIndex( { ratings: 1 } )

多键索引很容易与复合索引产生混淆,复合索引是多个字段的组合,而多键索引仅仅是在一个字段上出现了多键(multi key)。 而实质上,多键索引也可以出现在复合字段上。

//创建复合多键索引
db.inventory.createIndex( { item:1,ratings: 1} )

注意:MongoDB并不支持一个复合索引中同时出现多个数组字段 嵌入文档的索引数组:

db.inventory.insertMany([
{
  _id: 1,
  item: "abc",
  stock: [
    { size: "S", color: "red", quantity: 25 },
    { size: "S", color: "blue", quantity: 10 },
    { size: "M", color: "blue", quantity: 50 }
  ]
},
{
  _id: 2,
  item: "def",
  stock: [
    { size: "S", color: "blue", quantity: 20 },
    { size: "M", color: "blue", quantity: 5 },
    { size: "M", color: "black", quantity: 10 },
    { size: "L", color: "red", quantity: 2 }
  ]
},
{
  _id: 3,
  item: "ijk",
  stock: [
    { size: "M", color: "blue", quantity: 15 },
    { size: "L", color: "blue", quantity: 100 },
    { size: "L", color: "red", quantity: 25 }
  ]
}
])

创建索引:

db.inventory.createIndex( { "stock.size": 1, "stock.quantity": 1 } )

查询:

db.inventory.find( { "stock.size": "L", "stock.quantity": {$gt:20} } )

看看是否用到了索引:

db.inventory.find( { "stock.size": "L", "stock.quantity": {$gt:20} } ).explain()

Hash索引(Hashed Indexes)

和传统的B-Tree索引不同,哈希索引使用了hash函数来创建索引。在索引字段上进行精确匹配,但不支持查询范围,不 支持多键hash,Hash索引上的入口是均匀分布的,在分片集合中非常有用; 例如:

db.users.createIndex({username:'hashed'})

全文索引

MongoDB支持全文索引(Text Indexes)功能,可以通过建立文本索引来实现简易的分词检索。 创建索引:

db.reviews.createIndex({comments:"text"})

TTL索引

有时候在我们的系统里,并非所有的数据都需要永久存储。例如一些系统事件、用户消息等,这些数据随着时间的推移, 它的重要长度逐渐降低。更重要的是,存储这些大量的历史数据需要花费较高的成本,因此项目对这些过期不再使用的 数据进行老化处理。 通常的做法如下:

  • 为每个数据记录一个时间戳,开启一个定时器,按时间戳定时删除过期的数据
  • 数据安日期进行分表,同一天的数据归档到同一张表,同样使用定时器删除对应的表

对应这些数据,MongoDB提供了一种更加便捷的做法:TTL(Time To Live)索引。TTL索引需要申明在一个日期类型的字段 中,TTL索引是一个特殊的单字段索引,MongoDB可以使用它在一定时间或者特定时钟时间后自动从集合中删除文档。

创建TTL索引,TTL值为60s,

db.eventlog.createIndex( { "lastModifiedDate": 1 }, { expireAfterSeconds: 60 } )

对集合创建TTL索引之后,MongoDB会使用周期性运行的后台线程中对该集合进行检查及数据清理工作,除了数据老化功能 TTL索引具有普通索引的功能,同样可以加速数据的查询。

TTL索引不保证过期的数据会在过期后立即被删除。文档过期和MongoDB从数据库中删除文档的时间之间可能存在延迟。删除 过期文档的后台任务每60秒运行一次。因此,在文档到期和后台任务运行之间的时间段内,文档可能会保留在集合中。

例如: 准备数据:

db.log_events.insertOne( {
   "createdAt": new Date(),
   "logEvent": 2,
   "logMessage": "Success!"
} )

创建TTL索引:

db.log_events.createIndex( { "createdAt": 1 }, { expireAfterSeconds: 10 } )

TTL索引创建之后,仍然可以对过期的时间进行修改。这需要使用collMod命令对索引的定义进行变更 可变的过期时间:

db.runCommand({
  "collMod": "log_events",
  "index": {
    "keyPattern": { "lastModifiedDate": 1 },
    "expireAfterSeconds": 100
  }
})

其他索引

MongoDB除了默认的id索引,单字段索引,复合索引,还有其他的一些索引。如地理空间索引(Geospatial Index)、 文本索引(Text Indexes)、哈希索引(Hashed Indexes)。

  • 地理空间索引(Geospatial Index) 为了支持对地理空间坐标的有效查询,MongoDB提供了两种特殊的索引:返回结果时使用平面几何的二维索引和返回 结果时使用球面几何的二维球面索引。

  • 文本索引(Text Indexes) MongoDB提供了一种文本索引类型,支持在集合中索引字符串的内容。这些文本索引不存储特定语言的停止词(例如 “the”、“a”、“or”),而将集合中的词作为词干,只存储词根。文本索引有点类似于Lucene,性能不高,如果 我们需要做一些文本索引去搜索或者查询的话,那么还是建议使用Lucene或者es这些成熟的搜索引擎。

  • 哈希索引(Hashed Indexes) 为了支持基于hash的分片,MongoDB提供了hash索引类型,它对字段值的hash进行索引。这些索引在其范围内的值 分布更加随机,但值支持相等匹配,不支持基于范围的查询。

#索引的基本操作

索引的查看

返回是一个数组,这个主键是默认会创建的一个索引,而且这个索引是唯一索引,和咱们的MySQL是很像。 v:表示索引引擎的版本号(2表示咱们MongoDB索引的引擎是第二个版本,这个不用管MongoDB底层的东西,后面还会 更新) key:表示你在哪个字段上加的索引,1表示你这个索引创建的是升序的方式 name:索引的名称,默认是xx_1(或者xx_-1) ns:namespace,是哪个数据库下面的哪个个集合

//查看索引键
db.books.getIndexKeys()

查看索引的占用空间

db.collection.totalIndexSize([is_detail])

is_detail:可选参数,传入0或者false外的任意数据,都会显示该集合每个索引的大小以及总大小。如果传入0或者false 则只显示该集合中所有索引的总大小。默认为false。

创建索引

db.collection.createIndex(keys,options)

参数的可以选项options:

索引的可以选项

3.0.0版本之前创建索引方法为:db.collection.ensureIndex()

//创建索引后台执行
db.collection.createIndex({open:1,close:1},{background:true})
//创建唯一索引
db.collection.createIndex({title:1},{unique:true})
  • 单字段索引创建

  • 复合索引创建

删除索引

不用的时候需要把索引移除,因为索引也是一个小的集合,会占用一定的存储空间,如果索引中建了许多不必要的索引, 也会拖累你的插入效率的,因为在插入的时候也需要维护索引数据。 语法:

db.collection.dropIndex(index)

支持通过名称删除,或者之前建立的条件删除。

  • 删除指定的索引

  • 删除所有的索引

索引的使用

索引的执行计划

通常使用执行计划来分析查询性能,如查询耗时的时间,是否基于索引查询等。那么通常我们想知道建立的索引是否 有效,效果如何,都需要通过执行计划来查看。 通常我们最关心的问题:

  • 查询是否使用了索引?
  • 索引是否减少了扫描记录的数量?
  • 是否存在低效的内存排序?

MongoDB提供了explain命令,它可以帮助我们指定查询模型(querymodel)的执行计划,根据实际情况进行调整, 然后提高查询效率。比如你扫描了大量的集合,没有用到索引等,这些都是可以去优化的。 explain方法的形式如下:

db.collection.find().explain(<berbose>)

berbose可选模式有3种。

  • queryPlanner

queryPlanner模式

  • executionStats executionStats模式的返回信息中包括了queryPlanner模式的所有字段,并且包含了最佳执行计划的执行情况。

executionStats模式

  • allPlansExecution allPlansExecution返回的信息包含executionStats模式的内容,且包含allPlansExecution:[]块

语法:

db.collection.find(query,options).explain(options)

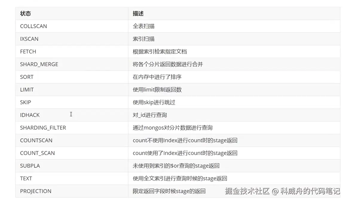
执行计划中的stage类型

stage类型

  • COLLSCAN : 集合扫描,说明没有用到索引走的是全表扫描
  • FETCH : 抓取,根据索引去检索

执行计划的返回结果中尽量不要出现以下的stage:

  • COLLSCAN(全表扫描),数据小无所谓,数据大了可能就会导致慢查询了
  • SORT(使用sort但是无index):尽量使用索引的排序,特别是复合索引
  • 不合理的SKIP
  • SUBPLA(未用到index的$or)
  • COUNTSCAN(不使用index进行count)

其他索引

  • 隐藏索引
  • 通配符索引
  • 部分索引
  • 稀疏索引

涵盖的查询(Covered Queries)

当查询条件和查询的投影仅包含索引的字段时,MongoDB直接从索引返回结果,而不扫描任何文档或将文档带入到内存。 这些覆盖的查询效率是非常高的。

索引使用建议

  • 能用复合索引的尽量别单个索引,不要依赖于交叉索引
  • 创建复合索引顺序:匹配在前,范围查询在后
  • 尽量使用索引排序而非内存排序
  • 涵盖查询提高查询效率
  • 避免唯一字段和其他字段组合引起的无用重复索引
  • 避免最左原则包含关系引起的重复索引
  • 避免将索引字段建在容易区分的字段上
  • 避免单字段正反序排序查询引起的重复索引
  • 避免多字段排序查询正反序问题引起索引无效
  • 每个集合的索引数尽量控制在5个以内
  • 尽量少字段返回,减少网络流量和客户端的内存使用
  • 对大数据的集合创建索引时,建议选择后台运行选项{background:true}

参考

  1. www.modb.pro/db/332028
  2. mongoing.com/archives/81…

更多技术干货欢迎关注微信公众号“风雨同舟的AI笔记”~

【转载须知】:转载请注明原文出处及作者信息