如何快速获取一个区域内的POI数据?分享一个场景查询API接入指南!

141 阅读3分钟

最近遇到一个迫切需求,就是需要POI(Point of Interest,兴趣点)数据来实现开店选址规划和市场调研分析功能,但不知道从哪获取POI数据。

POI是指地图上具有特定意义的点,如商场、餐厅、加油站、学校等,每个POI都包含丰富的信息:名称、地址、坐标、类别等,这些数据对于各种商业决策的价值很高。

市面上常见的POI查询方式是通过ID,一个个查确实很精准,但效率不高,特别是想批量查询,或者查询指定区域内的某个POI,就很麻烦,耗时耗力。

那么有没有办法能够快速查询一个区域内的所有POI数据?或者是某一个分类的POI数据?

有!其实一个API就能实现,调用简单,可自选区域,快速查询和获取区域内的POI数据。

API的测评和获取指南如下:

场景查询(区域围栏)API

API介绍:根据多边形围栏或圆形围栏检索区域内的场景(POI)信息。

API参数说明:

Body参数

说明多边形围栏为例,圆形围栏参数类似

image.png

从Body参数我们可以得到一些关键信息,比如这个API必需要设置地理围栏,无论是多边形还是圆形的,都要提供首位坐标闭合的围栏数组,好处在于自由度高,想查哪里查哪里,没有地理上的限制,但非技术人员可能不知道如何获取围栏数组。

另外参数中也能看出,该API支持区域内全部或指定POI的数据查询,能满足全品类或单品类的查询需求,这点还是蛮重要的。

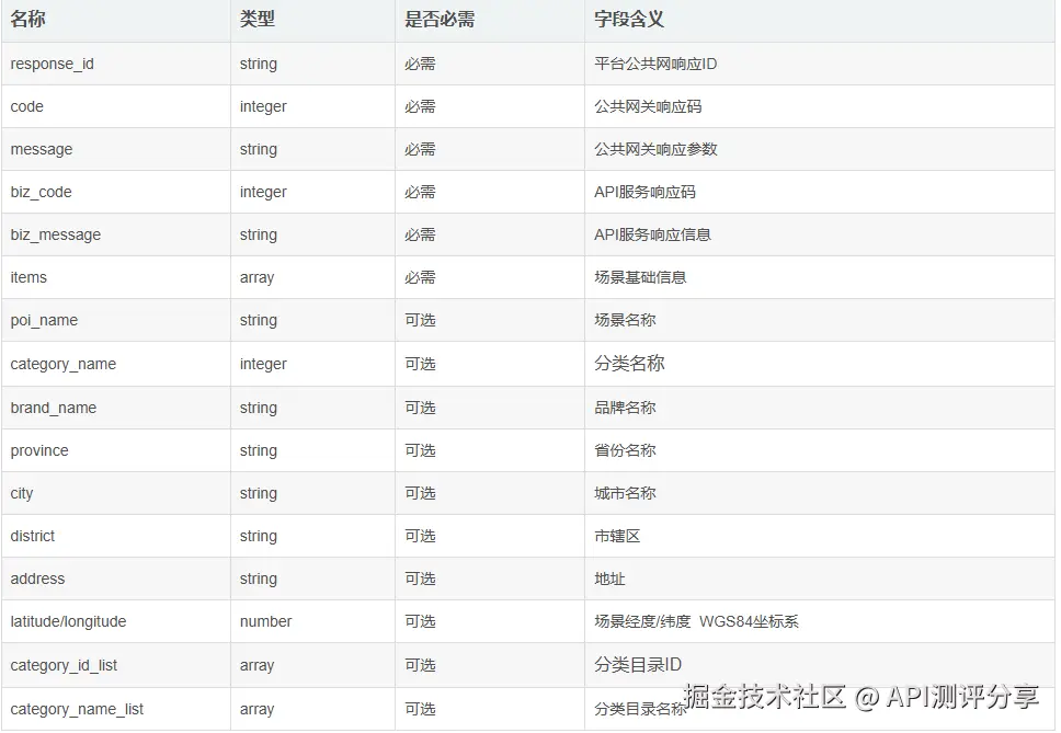
返回响应参数说明

仅列举了部分参数,有些重复性或补充类的参数先省略

image.png

从返回参数就能看出这个API的真实价值,特别是其中的“场景基础信息”,包含场景、分类、品牌、省份、城市、经纬度、地址等多重信息,基本满足了大部分人对于POI查询想要的数据。

有相关需求的同学一眼便能看出能不能满足,就不过多赘述了。

API免费体验及获取指南

接下来重点说一下这个API怎么获取,是个比较垂直小众的数据开放平台内提供的能力。

注册与在线免费体验

1、注册及刻开放平台,打开能力中心页面的“场景查询”栏目,找到“场景查询(区域围栏)API”; image.png

2、进入API详情页,获取解决方案,也可以直接去查看开发文档,介绍还是蛮详细的;

3、特别要注意的是,POI查询平台内是提供免费在线体验的,只需要登录就能体验到API,亲测十分好用;

image.png

API接口调用实测场景查询(区域围栏)API提供多种编程语言的SDK,以下以Python为例,展示接口的调用方法:

import http.client
import json

conn = http.client.HTTPSConnection("data-api.isjike.com")
payload = json.dumps({
   "circle": {
      "center_point": [
         113.936885,
         22.62525
      ],
      "radius": 500
   },
   "keyword": "小当家",
   "brand_id": 43586,
   "category_id": 1582,
   "city_id": 340,
   "page_num": 1,
   "page_size": 10
})
headers = {
   'token': '0c2c6774153820cae57cc53ba19b7ce0',
   'Authorization': 'Bearer <token>',
   'Content-Type': 'application/json'
}
conn.request("POST", "/api/v1/poi_by_geo", payload, headers)
res = conn.getresponse()
data = res.read()
print(data.decode("utf-8"))

目前平台内提供了完善的开发文档、代码示例和SDK工具,支持多种编程语言和开发环境。

在API实际测试过程中,API的响应很快,返回的POI数据非常详细,满足了产品需求。

总的来说,这个场景查询API不多见,用起来也不错,关键还能免费体验效果,有相关需求的伙伴可以去试试。