联通9929线路延迟测试

452 阅读1分钟

联通9929

老网通骨干网,现在的 CUII,CNCNET是中国网通从中国电信拆分前的一张独立网络,自治域为AS9929,经常被称为9929网络,或者联通A网。以其较低的负载和高品质服务著称,常用于企业宽带和IDC,已经极少见于家用宽带。
对于联通 A 网AS9929,由于联通家宽出来的几个 AS4837 节点是无法避免的,所以不管联通什么路由都是会出现 AS4837 节点的,只不过联通A网会很快接入AS9929节点,然后再接入AS10099节点。
AS9929这张网的跨境互联端点对比AS4837较少,而且多数互联的容量并不大,AS9929路由节点IP地址开头一般是“218.105../210...*”。它被视作与中国电信CN2 GIA竞争的产品线,尽管具体定位尚有争议。

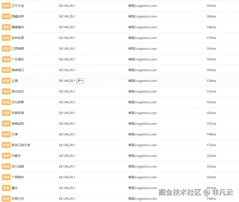
联通9929是联通的高端国际线路,专为要求极高的国际通信质量设计,该线路是非凡云首条精品线路,通过非凡云云服务器线路延迟测试数据如下:

1、延迟测试:
延迟4-1.png

2、电信延迟

用户到机房: 延迟4-2.png 延迟4-11.png 机房到用户: 延迟4-3.png 3、联通延迟

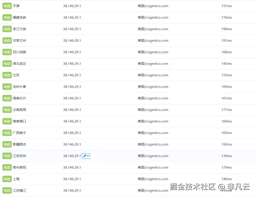
用户到机房: 延迟4-4.png 延迟4-5.png 机房到用户: 延迟4-6.png 4、移动延迟

用户到机房: 延迟4-7.png 延迟4-8.png 机房到用户: 延迟4-9.png
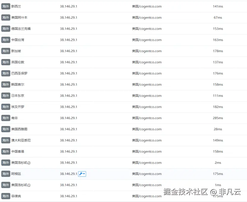
5、海外测试 延迟4-10.png
以上内容由非凡云通过非凡云云服务器测试后整理编辑。