AS9929国际线路路径测试数据分享

348 阅读2分钟

中国联通骨干网目前有:AS4837(CHINA169)、AS9929(CNCNET)以及AS10099(CUG),不同的骨干网的组合方式,就会构成不同的联通的线路,下面就说一下联通的不同的线路组合。

联通A网的概念和电信CN2概念不一样,联通A网只在内地才会存在,到了境外会接入联通169网络或者联通国际AS10099,目前联通的线路构成是这样的:

AS4837内+AS4837外:这是最常见的配置,代表了标准的联通169网络服务,适用于大众用户,也是一般联通家宽路由线路,后续非凡云也将支持该线路。

AS4837内+AS10099外:一种增强型国际连通性方案,适合追求高性能国际访问的用户,后续非凡云也将支持该线路。

AS9929内+AS10099外:联通的高端国际线路,专为要求极高的国际通信质量设计,该线路是非凡云首条精品线路,欢迎大家体验。

联通线路配置在国内与国际之间呈现出多样化结构,国内部分主要依托AS4837和AS9929,而国际通信则通过AS4837或AS10099来实现,不同的组合方式衍生出不同的网络服务等级。

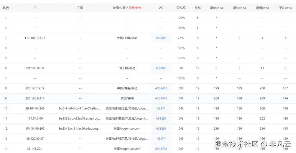
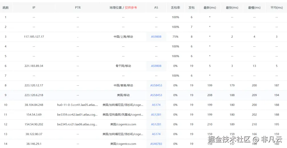
判断线路,最好的方法就是看路由节点的ASN,非凡云云服务器联通9929线路路径详细测试数据如下:

1、电信路径

用户到机房:

延迟5-1.png
机房到用户:
延迟5-6.png 2、联通路径

用户到机房: 延迟5-5.png 机房到用户: 延迟5-4.png 3、移动路径

用户到机房: 延迟5-3.png 机房到用户: 延迟5-2.png
总结一下,联通高端路线9929 CU Premium(AS9929 + AS10099),这是联通最优质的线路,三网回程走联通10099。 以上内容由非凡云通过非凡云云服务器整理编辑。