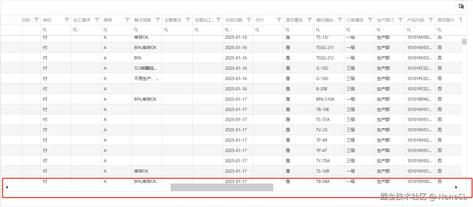
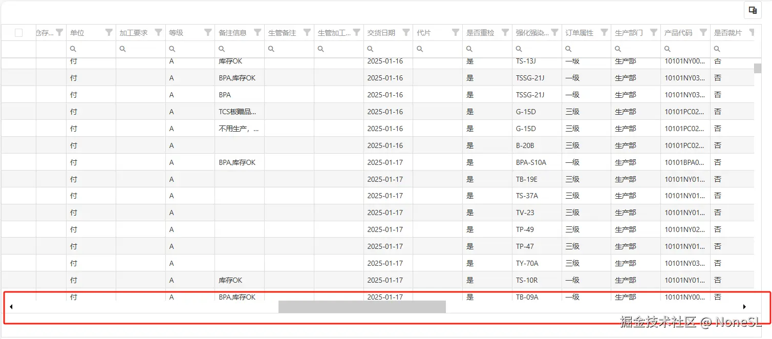
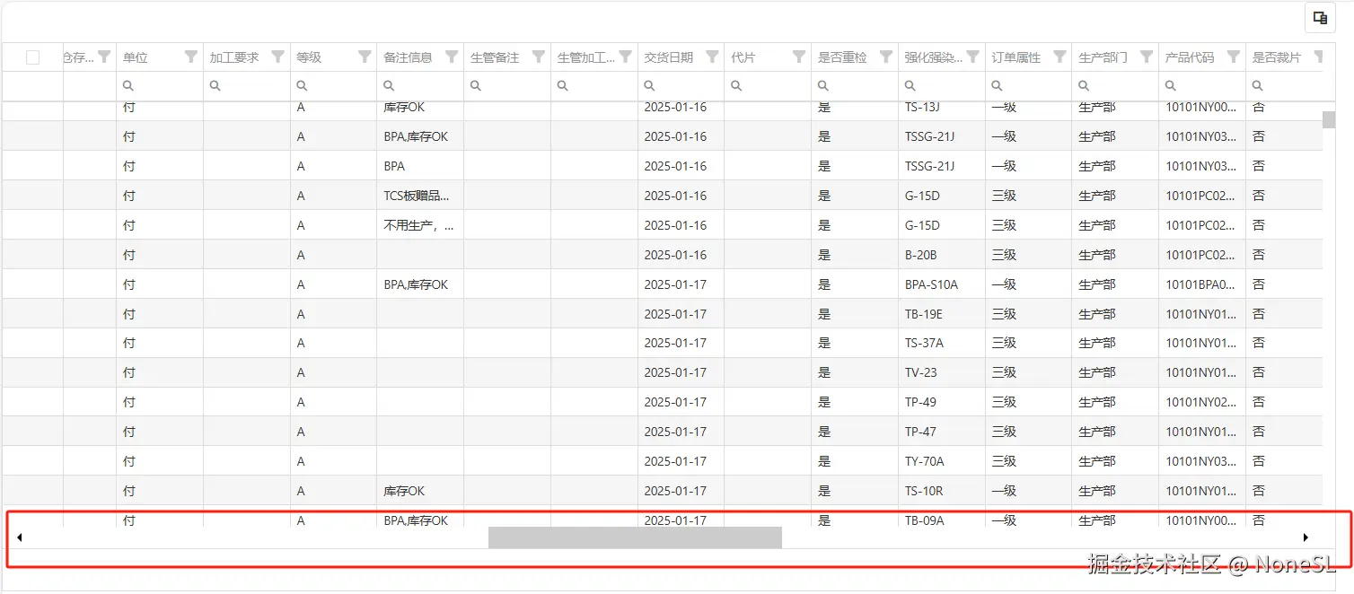
效果图

代码
| 属性 | 功能 |
|---|
| horizontal | 设置水平 |
| vertical | 设置垂直 |
::-webkit-scrollbar{
width: 15px;
height: 25px;
}
::-webkit-scrollbar:hover{
background-color: rgb(237, 237, 237);
}
::-webkit-scrollbar:single-button{
display: block;
width: 25px;
height: 25px;
border-radius: 1px;
background-color: black;
// border: 1px solid red !important;
}
//水平按钮 左
::-webkit-scrollbar-button:horizontal:start {
background: url('data:image/svg+xml,<svg xmlns="http://www.w3.org/2000/svg" viewBox="0 0 24 24"><path fill="%23000" d="M14 7l-5 5 5 5z"/></svg>') no-repeat center;
background-size: contain;
// display: block;
width: 40px;
}
::-webkit-scrollbar-button:horizontal:start:hover {
border: 1px solid rgb(196, 196, 196);
}
//水平按钮 右
::-webkit-scrollbar-button:horizontal:end {
background: url('data:image/svg+xml,<svg xmlns="http://www.w3.org/2000/svg" viewBox="0 0 24 24"><path fill="%23000" d="M10 7l5 5-5 5z"/></svg>') no-repeat center;
background-size: contain;
// display: block;
width: 40px;
}
::-webkit-scrollbar-button:horizontal:end:hover {
border: 1px solid rgb(196, 196, 196);
}