🚨还在用U盘“人肉”搬运内外网文件?你OUT啦!

127 阅读3分钟

 内外网封面.png

一、产品介绍:告别“原始”操作,拥抱“智能”未来!

内外网安装文件交换系统-公众号正文.png

产品定位:在内外网“铜墙铁壁”般的物理隔离下,我们的系统就像一座“桥梁”,让文件交换(导入、刻录)、在线审批、审计、杀毒,统统“一气呵成”!

产品介绍:还在用U盘、光盘在内外网之间“人肉”搬运文件?太OUT啦!我们的内外网安全文件交换系统,就是专为企业打造的“高效文件传输管家”:

  • 想从光盘导入文件?小case!
  • 想把内网文件刻录到光盘?审批通过,一键搞定!
  • 担心文件有病毒?自动杀毒扫描,安全感爆棚!
  • 超大文件、文件夹传输?毫无压力,轻松应对!
  • 光盘“私用”?不存在的!系统独占光驱,安全有保障!
  • 审批过程“透明”吗?必须的!审计历史随时查,数据安全“滴水不漏”!

产品亮点:安全可控、隔离网间文件传输、性能强劲、扩展灵活、审批审计便捷,总之就是“好用”到让你尖叫!

二、行业痛点:这些“坑”,你踩过几个?

还在为内外网文件传输“焦头烂额”?传统方式的“痛”,我们都懂!

  • 跨网传输“难于上青天”:纸质申请、线下审批,效率低到“令人发指”,信息传递成本“高到肉疼”!
  • 数据安全“如履薄冰”:内外网隔离了,可数据管控风险还在,稍不留神就可能“踩雷”!
  • 文件交换“全程懵”:文件去哪儿了?谁审批的?出了问题找谁?统统“两眼一抹黑”!
  • 光盘传递“不靠谱”:人为操作“漏洞百出”,安全管理全靠“自觉”!
  • 审批文件“难管控”:下载痕迹“删不干净”,数据泄露风险“防不胜防”!

三、核心功能:我们的“独门秘籍”!

  1. 导入功能(文件、文件夹,统统拿下!)

    • 优势:光盘文件想导入内网?提交申请,审批通过,一键下载,So easy!
  2. 导出功能(上G文件刻录,不在话下!)

    • 优势:内网文件想刻录光盘?上传文件,审批通过,一键刻录,就是这么“任性”!
  3. 杀毒功能(病毒“无处遁形”!)

    • 优势:导入文件前,先“体检”!系统自动调用杀毒软件,及时发现“潜在威胁”,让你的内网数据“固若金汤”!
  4. 独占光驱功能(安全“滴水不漏”!)

    • 优势:系统运行期间,光驱“只听我的”!其他程序“休想染指”,文件安全“妥妥的”!
  5. 查看审计历史功能(“来龙去脉”一清二楚!)

    • 优势:审计人员随时查看导入、导出历史,下载文件、清单,追溯“前世今生”,让审计工作“有据可查”!
  6. 自动删除审批人员下载文件痕迹(“不留痕迹”才安心!)

    • 优势:审批通过后,系统自动“清理门户”,删除审批过程中的下载文件,数据安全“更上一层楼”!
  7. 审批功能(“灵活”又“智能”!)

    • 优势:人工审批、自动审批,随你选!还能根据部门、人员自动匹配审批流程,多重身份?没问题,多个部门审批也能轻松搞定!

四、行业应用:我们的“用武之地”!

应用行业应用行业
涉密机构或企业军队事业单位
海关、公安等事业单位国家事业单位

五、部分演示:眼见为实!

  • 导入申请:光盘文件导入内网,就是这么简单!

动画4.gif

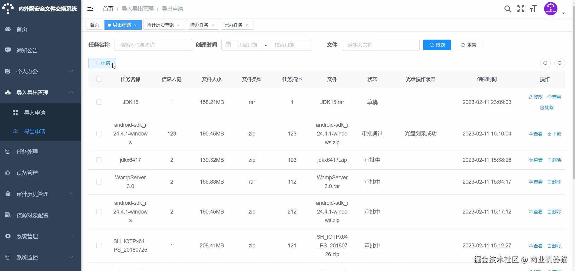
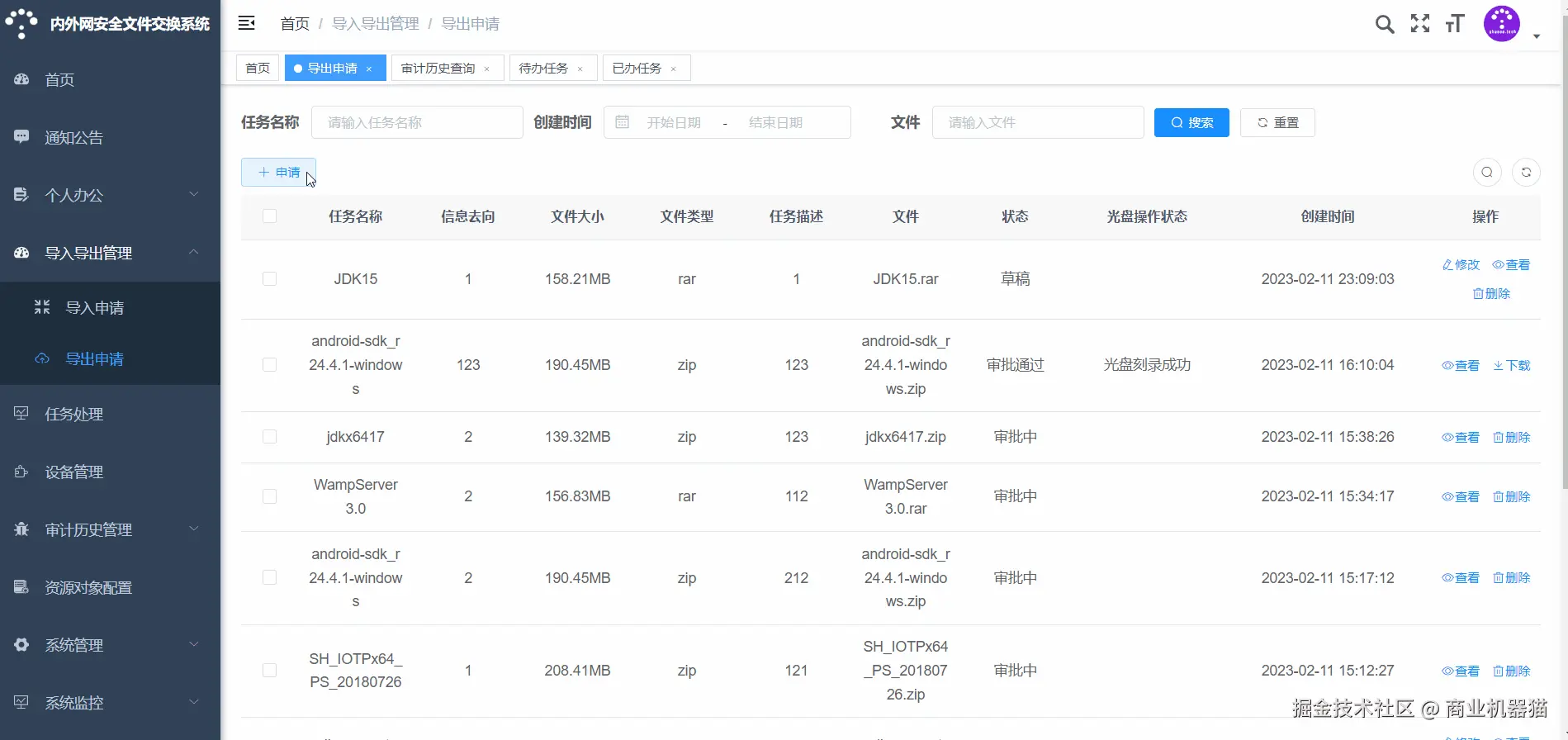
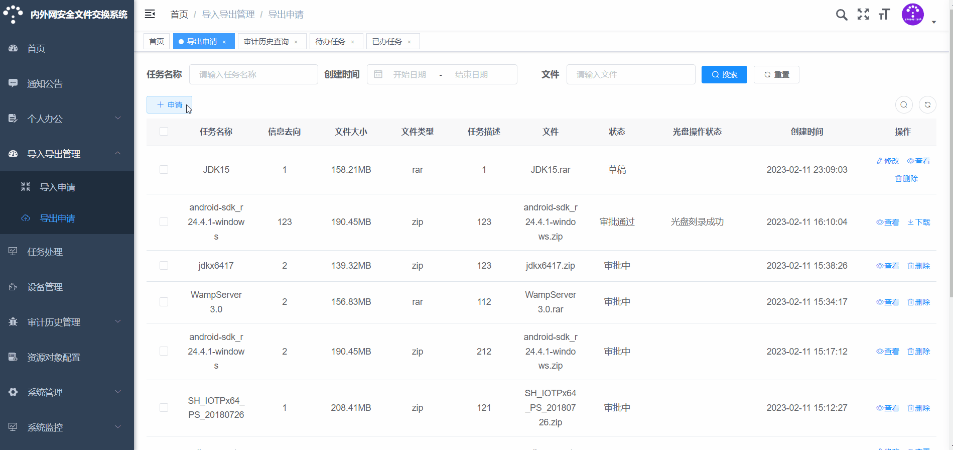
  • 导出申请:内网文件刻录光盘,So easy!

动画6.gif

  • 审计及审批:流程清晰,操作便捷!

动画7.gif

  • 任务处理、设备管理、系统监控:一切尽在掌握!

动画12.gif