中软高科CICR-601蓝牙身份证读卡器说明分享

274 阅读4分钟

一、业务概述

        互联网实名登记/开户、银行信用卡开卡、电信运营商开卡等应用场景,需要手机端通过蓝牙链接读卡器读取身份证芯片信息,实现实名信息登记与核验,替代传统的OCR技术。

        蓝牙NFC阅读器CICR-601,是一款采用蓝牙通信,具有身份证/外国人永久居住证/港澳台居住证、银行卡/社保卡/公交卡/门禁卡等解码识别。 该设备采用小巧袖珍型设计,产品能通过蓝牙连接,支持手机、平板使用;可广泛应用于通信、物流、金融、交通、政府等领域。

蓝牙身份证阅读器

二、功能描述

1、核心功能

        CICR-601通过蓝牙与手机等终端设备连接通讯,在手机 APP 中完成对非接触IC卡的读写功能。该设备体积小巧,操作简便,可灵活应用于个人、商户管理操作校园卡、公交卡、银行卡、小额支付卡等应用场景。通讯接口。蓝牙 BLE。本产品可与支持的蓝牙BLE的设备连接,如蓝牙4.0以上的手机、平板等。产品支持ISO14443A、IS015693 协议的卡片。CICR-601BL是本公司的通用型产品,技术成熟度高。使用者需要进行主设备端的应用程序开发,如城市一卡通充值软件,需要在原有的基础上增加与本产品通信的底层接口,故使用者需要的相应平台应用程序开发能力,如安卓应用程序开发。

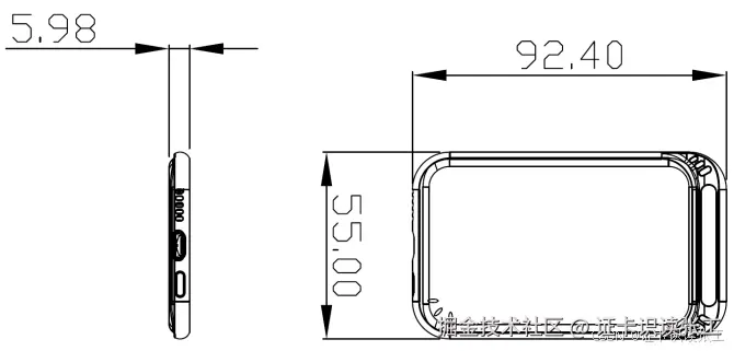
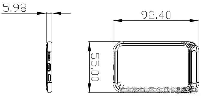
2、规格尺寸

尺寸图

 

3、详细参数

产品名称CICR-601
功能读写非接 IC 卡通过蓝牙 BL 传输数据
通信协议BLE5.0(兼容BLE4.0)
工作频率13.56MHz
支持IC通信协议IS014443A\IS015693
支持卡片基于 IS014443A的 CPU 卡、M1 卡、Ntag2xx等卡片。
支持卡片速率106kbps、212kbps、424kpbs450mAh
读卡距离3~5cm
充电接口Micro USB
电池容量450mA
充电适配器5V-500mA
充电时间120分钟
待机时间11天
连续读写卡时长8小时
工作温度0℃~55℃
储藏温度-20℃~85℃

4、兼容性

        本产品具有良好的读卡和蓝牙通讯的兼容性。对市场主流手机具有良好兼容性,兼容性达 95%。对市面主流卡商以及公交项目所涉及的所有IC卡具有良好的兼容性,兼容性达 98%。

5、卡读写特性

(1)支持非接触 14443A/B CPU 卡和 Ml 卡、Desfire 卡、Felica 等读写。
(2)对标准卡、异形卡都有良好的读写性能,读卡距离可达3-5cm。
(3)Q 值为 30±2%。
(4)读卡速度可满足公交卡项目业务需要。1秒钟之内完成 1k 字节数据读(4)或写。
(5)一次读写 1k 字节数据没有丢失和错误。
(6)工作频率 13.56MHz。
(7)产品读卡面表面电磁场强度(Hmax)≤ 7.5A/m rms(7)。
(8)产品读卡面表面电磁场强度(Hmin)>1.5A/m rms(9)支持卡片速率 106kbps、212kbps、424kpbs。

6、设备状态查询和显示

(1)拨动设备电源开关,可根据设备指示灯状态判断设备工作情况。红灯快闪。电量低,需充电。
(2)绿灯慢闪。已开机并打开蓝牙广播等待连接。
(3)绿灯常亮。蓝牙已连接(未充电状态)。
(4)蓝灯常亮。寻到卡片,且卡片未移开,数据交换时,绿灯会快闪。
(5)充电指示。关机状态下充电。未充满-红灯常亮,已充满一红灯熄灭。

三、其他特性与环境要求

1、电池充电以及功耗

支持超低功耗自动休眠。

电池容量:450mAh。

充电接口:MICRO-USB,5V-500mA。

充电时间:120分钟。

2、系统稳定性

按钮功能正常,能正常反复开机、关机。读卡和蓝牙通讯稳定。系统整体稳定,不死机,不出现异常。异常有看门狗重启机制。

3、抗摔性、防水性

1.2 米高度跌落不损坏。受任意方向的水飞溅无有害的影响。

4、电源开关特性

5V 充电。可使用充电宝或一般手机充电器充电。开关为自锁开关,按下即打开。

5、环境要求

充电电压 5V士5%。

0℃~55℃工作温度。

贮运温度-40℃~85℃。

相对湿度<90%。

贮运相对湿度20%一93%。

大气压力 60kPa-110kPa。