开源一个电梯运维项目,支持查看监控录像,APP实时语音通话,电梯识别!!!

280 阅读18分钟

          电梯运维监控项目的目标,主要是是针对小区电梯内的监控维保以及电动车火灾等的识别。主要分为三端,电梯内板端,web端以及app端。

电梯板端(用于推送物业消息广告等)elevator_platform: 电梯简单界面板端

电梯web端(查看监控、告警识别推送等)elevator-web: 电梯项目web前后端

电梯app(维保人员使用、查看记录、监控对话)elevator-uniapp: uniapp开发的电梯项目app端

目录

1. 系统管理

1.1. 用户管理

1.1.1. 查看用户列表

1.1.2. 添加新用户

1.1.3. 编辑用户信息

1.1.4. 删除用户

1.1.5. 重置用户密码

1.1.6. 分配角色

1.2. 角色管理

1.2.1. 创建新角色

1.2.2. 编辑角色信息

1.2.3. 删除角色

1.3. 菜单管理

1.4. 部门管理

1.4.1. 创建新部门

1.4.2. 编辑部门信息

1.4.3. 删除部门

1.5. 岗位管理

1.5.1. 创建新岗位

1.5.2. 编辑岗位信息

1.5.3. 删除岗位

1.6. 字典管理

1.7. 参数设置

1.8. 通知公告

1.8.1. 创建新通知公告

1.8.2. 编辑通知公告

1.8.3. 删除通知公告

1.8.4. 查看通知公告

1.9. 文件管理

1.9.1. 配置OSS

1.9.2. 上传图片或文件

2. 物业服务

2.1. 小区管理

2.1.1. 创建新小区

2.1.2. 编辑小区信息

2.1.3. 删除小区

2.1.4. 搜索和筛选小区

2.2. 房屋档案

2.2.1. 楼栋管理

2.2.2. 房屋管理

3. 智慧物联

3.1. 梯控

3.1.1. 电梯管理

3.2. 保养管理

3.2.1. 保养模版

3.2.2. 保养计划

3.3. 维修管理

3.3.1. 上报电梯故障

3.3.2. 维修电梯故障

3.4. 困人管理

3.4.1. 上报电梯困人

3.4.2. 困人救援

3.5. 电梯事件

4. 监控

4.1. 监控设备

4.1.1. 接入监控设备

4.1.2. 设备使用

4.2. 监控区域

4.2.1. 创建监控区域

4.2.2. 编辑监控区域

4.2.3. 删除监控区域

4.3. 实时视频

  1. 系统管理

    1. 用户管理

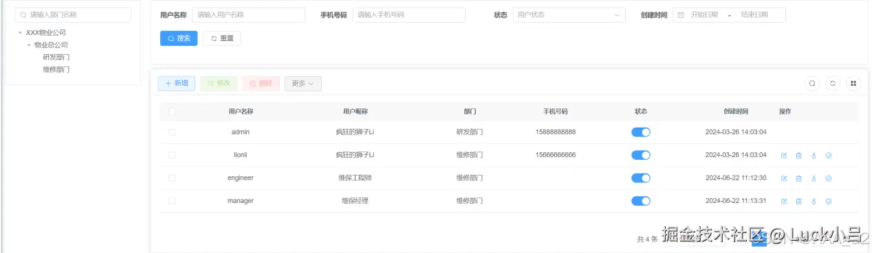
      1. 查看用户列表

步骤:

登录系统后,导航到“用户管理”界面。

在“用户列表”区域,可以查看所有用户的基本信息。

​编辑

      1. 添加新用户

步骤:

左侧选择用户所属部门

点击“新增”按钮。

填写用户信息表单,包括用户名、密码、邮箱等必填字段。

设置用户角色和权限。

点击“保存”按钮以创建新用户。

​编辑

      1. 编辑用户信息

步骤:

在用户列表中,找到要编辑的用户。

点击该用户行旁边的“修改”按钮。

修改用户信息,包括姓名、联系方式、角色等。

点击“保存”按钮以保存更改。

​编辑

      1. 删除用户

步骤:

在用户列表中,找到要删除的用户。

点击该用户行旁边的“删除”按钮。

确认删除操作

      1. 重置用户密码

步骤:

在用户列表中,找到需要重置密码的用户。

点击该用户行旁边的“重置密码”按钮。

按提示操作,输入新的密码并确认。

点击“保存”按钮以应用更改。

      1. 分配角色

步骤:

选择用户后,点击“分配角色”或类似按钮。

在弹出的角色分配对话框中,选择需要分配的角色。

点击“提交”按钮以完成角色分配。

​编辑

    1. 角色管理

      1. 创建新角色

步骤:

在角色管理界面,点击“新增”按钮。

在弹出的角色创建表单中,输入角色名称、权限字符及可以查看的菜单权限相关权限设置。

点击“保存”按钮以创建角色。

      1. 编辑角色信息

步骤:

在角色列表中,找到需要编辑的角色。

点击该角色旁边的“编辑”按钮。

更改角色名称、描述或权限设置。

点击“确认”按钮以保存更改。

​编辑

      1. 删除角色

步骤:

在角色列表中,找到需要删除的角色。

点击该角色旁边的“删除”按钮。

在弹出的确认对话框中点击“确认”以完成删除操作。

  1. 分配角色给用户

步骤:

在角色管理界面,选择要分配角色的用户。

点击“分配角色”按钮,并在弹出的框中选择角色。

点击“保存”以完成角色分配。

    1. 菜单管理

用户正常操作不涉及到菜单的新增修改。

    1. 部门管理

      1. 创建新部门

步骤:

在部门管理界面,点击“新增”按钮。

在弹出的部门创建表单中,输入部门名称、描述及相关配置(如部门主管、联系方式等)。

选择部门的上级部门(如有)。

点击“确定”按钮以创建部门。。

      1. 编辑部门信息

步骤:

在部门列表中,找到需要编辑的部门。

点击该部门旁边的“编辑”按钮。

修改部门名称、描述、主管或其他相关信息。

点击“确定”按钮以保存更改。

      1. 删除部门

步骤:

在部门列表中,找到需要删除的部门。

点击该部门旁边的“删除”按钮。

在弹出的确认对话框中点击“确认”以完成删除操作。

    1. 岗位管理

      1. 创建新岗位

步骤:

在岗位管理界面,点击“新增”按钮。

在弹出的岗位创建表单中,输入岗位名称、描述、职责、要求及相关配置(如岗位级别、薪资范围等)。

选择岗位所属的部门(如有)。

点击“保存”按钮以创建岗位。

      1. 编辑岗位信息

步骤:

在岗位列表中,找到需要编辑的岗位。

点击该岗位旁边的“编辑”按钮。

修改岗位名称、描述、职责、要求或其他相关信息。

点击“保存”按钮以保存更改。

      1. 删除岗位

步骤:

在岗位列表中,找到需要删除的岗位。

点击该岗位旁边的“删除”按钮。

在弹出的确认对话框中点击“确认”以完成删除操作。

    1. 字典管理

系统开发过程中展示的字段,用户操作一般不涉及。

    1. 参数设置

系统开发过程中展示的字段,用户操作一般不涉及。

    1. 通知公告

      1. 创建新通知公告

步骤:

在通知公告管理界面,点击“添加公告”或“创建新公告”按钮。

在弹出的通知公告创建表单中,输入公告标题、内容、发布时间及相关配置(如公告分类、受众群体等)。

点击“确认”按钮以创建公告。

      1. 编辑通知公告

步骤:

在通知公告列表中,找到需要编辑的公告。

点击该公告旁边的“编辑”按钮。

修改公告标题、内容、发布时间或其他相关信息。

点击“确认”按钮以保存更改。

      1. 删除通知公告

步骤:

在通知公告列表中,找到需要删除的公告。

点击该公告旁边的“删除”按钮。

在弹出的确认对话框中点击“确认”以完成删除操作。

      1. 查看通知公告

步骤:

在通知公告管理界面,点击需要查看的公告标题。

查看公告的详细内容。

    1. 文件管理

      1. 配置OSS

步骤:

登录后,进入 系统管理 -> 文件管理 -> 配置管理 填写对应的OSS服务相关配置

在文件管理子菜单中,点击“配置 OSS”选项。

进入 OSS 配置界面。

​编辑

​编辑

在 OSS 配置界面,新增或修改 OSS 配置参数。

输入以下必需的参数:

Access Key ID:从 OSS 服务提供商获取的 Access Key ID。

Access Key Secret:从 OSS 服务提供商获取的 Access Key Secret。

Endpoint:OSS 服务的访问域名或地址(例如:oss-region.aliyuncs.com)。

Bucket Name:存储桶名称,用于存储文件的容器。

Region:OSS 服务的地域(例如:oss-cn-hangzhou)。

根据需要,配置其他选项,如加密方式、存储类型等。

重点说明

云厂商只需修改 访问站点对应的域 切勿乱改(云厂商强烈建议绑定自定义域名使用 七牛云必须绑定[官方规定])

​编辑

七牛云 访问站点

​编辑

​编辑

阿里云 访问站点

​编辑

腾讯云 访问站点

​编辑

MinIO 使用 https访问站点

注意:S3 API 签名计算算法不支持托管 MinIO Server API 的代理方案minio https 配置方式

切换OSS

​编辑

扩展分类

如有文件分类 建议创建多个 oss配置 进行切换存储

例如: 创建一个 图片存储的 oss配置
指定唯一的 configKey 与 前缀目录 或 直接使用独立的桶
独立桶的特点 可以自定义访问权限
例如: 创建一个私有文件存储桶 不对外开放

​编辑

      1. 上传图片或文件

进入 系统管理 -> 文件管理 点击 上传文件 或 上传图片 根据选项选择即上传到配置开启的OSS内

​编辑

​编辑

​编辑

上传的文件以列表的形式展示同时还具有预览、下载删除功能。

  1. 物业服务

    1. 小区管理

      1. 创建新小区

步骤:

在小区管理界面,点击“新增”按钮。

在弹出的创建小区表单中,输入小区名称、地址、联系电话等相关信息。

点击“确认”按钮以创建小区。

      1. 编辑小区信息

步骤:

在小区列表中,找到需要编辑的小区。

点击该小区旁边的“编辑”按钮。

修改小区名称、地址、联系电话等信息。

      1. 删除小区

步骤:

在小区列表中,找到需要删除的小区。

点击该小区旁边的“删除”按钮。

示例:提供删除小区操作的截图,展示确认对话框。

      1. 搜索和筛选小区

步骤:

在小区管理界面,使用搜索框输入小区名称或地址进行搜索。

​编辑

    1. 房屋档案

      1. 楼栋 管理

        1. 新增楼栋

步骤:

在房屋档案管理界面,点击左侧树列表选择对应的小区。

在楼栋管理区域,点击“新增”按钮。

在弹出的表单中,输入楼栋编号、名称、地址等相关信息。

点击“保存”按钮以创建楼栋。

        1. 编辑楼栋

步骤:

在楼栋列表中,找到需要编辑的楼栋。

点击该楼栋旁边的“编辑”按钮。

修改楼栋编号、名称、地址等信息。

点击“保存”按钮以保存更改。

        1. 删除楼栋

步骤:

在楼栋列表中,找到需要删除的楼栋。

点击该楼栋旁边的“删除”按钮。

在弹出的确认对话框中点击“确认”以完成删除操作。

        1. 单元管理
        2. (1) 新增单元

步骤:

在楼栋管理界面中,选择需要管理的楼栋。

在单元管理区域,点击“添加单元”或“创建新单元”按钮。

在弹出的表单中,输入单元编号、楼层、房间数等相关信息。

点击“保存”按钮以创建单元。

        1. 编辑单元

步骤:

在单元列表中,找到需要编辑的单元。

点击该单元旁边的“编辑”按钮。

修改单元编号、楼层、房间数等信息。

点击“保存”按钮以保存更改。

        1. 删除单元

步骤:

在单元列表中,找到需要删除的单元。

点击该单元旁边的“删除”按钮。

在弹出的确认对话框中点击“确认”以完成删除操作。

      1. 房屋管理

        1. 新增房屋

步骤:

在单元管理界面中,选择需要管理的单元。

在房屋管理区域,点击“添加房屋”或“创建新房屋”按钮。

在弹出的表单中,输入房屋编号、房间号、面积、房屋类型等相关信息。

点击“保存”按钮以创建房屋。

        1. 编辑房屋

步骤:

在房屋列表中,找到需要编辑的房屋。

点击该房屋旁边的“编辑”按钮。

修改房屋编号、房间号、面积、房屋类型等信息。

点击“保存”按钮以保存更改。

        1. 删除房屋

步骤:

在房屋列表中,找到需要删除的房屋。

点击该房屋旁边的“删除”按钮。

在弹出的确认对话框中点击“确认”以完成删除操作。

​编辑

  1. 智慧物联

    1. 梯控

      1. 电梯管理

        1. 电梯台账
  1. 新增电梯信息

步骤:

在电梯台账管理界面,点击“新增”按钮。

在弹出的表单中,输入所要求的电梯信息。

需要注意的是注册码和识别码是电梯板端的唯一id值,在板端输入

cat /proc/cpuinfo | grep Serial | awk -F ':' '{print $2}' | tr -d ' ' | md5sum | cut -d' ' -f1

获取

  1. 编辑电梯信息

步骤:

在电梯台账列表中,找到需要编辑的电梯记录。

点击该电梯旁边的“编辑”按钮。

修改电梯编号、品牌、型号、安装日期、维保单位、状态等信息。

点击“保存”按钮以保存更改。

  1. 删除电梯信息

步骤:

在电梯台账列表中,找到需要删除的电梯记录。

点击该电梯旁边的“删除”按钮。

在弹出的确认对话框中点击“确认”以完成删除操作。

  1. 查看电梯信息

步骤:

在电梯台账管理界面,点击对应的电梯名称查看详细信息。

        1. 电梯年检计划
  1. 一键生成年检计划

点击“一键生成”按钮,会查询所有电梯,以电梯台账中“下次年检日期”为“年检日期”生成年检计划。

        1. 电梯年检管理
  1. 手动分配年检信息

点击“手动分配”按钮,选择对应的电梯年检计划,系统会生成对应的电梯年检信息,默认是“待启动”状态。

​编辑

  1. 年检启动

步骤

登录电梯app界面,点击年检->选择待启动状态,可以查看到刚才生成的电梯年检信息。

​编辑

点击“启动”按钮。状态随之改变为“执行中”。

​编辑

​编辑

待电梯年检完成后,点击“确认完成”,跳转到年检详情界面,填写年检描述上传年检图片,点击“确认完成按钮”即可完成年检。

​编辑

    1. 保养管理

      1. 保养模版

        1. 保养模板创建

步骤:

登录系统。

进入保养管理模块。

点击“创建新模板”按钮。

填写模板基本信息(如模板名称、描述等)。

添加保养项名称和保养项要求

保存模板

        1. 保养模板的编辑

步骤:

在保养管理模块中选择需要编辑的模板。

点击“编辑”按钮。

修改需要更新的信息。

确认修改无误后保存。

        1. 保养模板的删除

步骤:

选择要删除的模板。

点击“删除”按钮。

      1. 保养计划

        1. 创建保养计划

​编辑

步骤:

点击“新增”按钮,选择需要保养的电梯

选择保养模板。

系统会在每天凌晨1点,查询保养计划 => 根据保养计划生成保养信息。生成的待保养记录如下表所示

​编辑

打开app,点击保养->待保养,查看待保养列表。

​编辑

点击选中项进行保养,针对正常的功能项选中,签字提交,改为待确认状态

​编辑

点击“待确认”的按钮查看并审核完成电梯保养

​编辑

​编辑

点击保养记录,即可查看到这次保养的信息。

​编辑

    1. 维修管理

      1. 上报电梯故障

首页右下角,点击“上报”按钮,“上报故障”,填写完信息后提交。

​编辑

      1. 维修电梯故障

维修界面会查看到刚才提交的待维修的记录。点击维修签字确认后,状态转为待确认,待确认通过后,维修完成。

​编辑

    1. 困人管理

      1. 上报电梯困人

首页右下角,点击“上报”按钮,“上报困人”,填写完信息后提交。

​编辑

      1. 困人救援

点击主页困人,即可查看刚才上报的困人记录,等待救援签到完成后提交,即可完成救援。

​编辑

​编辑

    1. 电梯事件

      1. 打开模型检测

​编辑

此界面会展示电梯识别上报的异常事件

​编辑

  1. 监控

    1. 监控设备

      1. 接入监控设备

设备接入主要是需要在设备上配置28181上级也就是电梯平台的信息,只有信息一致的情况才可以注册成功。设备注册成功后打开智慧物联->监控设备,可以看到新增加的设备;设备使用,

主要有以下字段需要配置:

sip->port

28181服务监听的端口

sip->domain

domain宜采用ID统一编码的前十位编码。

sip->id

28181服务ID

sip->password

28181服务密码

配置信息在如下位置

​编辑

海康摄像头

接入平台设置国标编号

​编辑

​编辑

      1. 设备 使用

        1. 更新 设备通道

点击列表末尾的“刷新”按钮,可以看到一个圆形进度条,等进度结束提示成功后即可更新完成,如果通道数量有变化你可以看点击左上角的刷新即可看到通道数量的变化;如果通道数量仍未0,那么可能时对方尚未推送通道给你。

        1. 查看 设备 通道

点击列表末尾的“通道”按钮,可以修改通道对应的小区和区域

​编辑

        1. 播放 视频

点击通道,选择对应的通道可以查看监控视频语音对讲

​编辑

    1. 监控区域

      1. 创建监控区域

步骤:

在监控区域界面,点击“新增”按钮。

在弹出的监控区域创建表单中,输入区域名称

点击“确认”按钮以保存。

      1. 编辑监控区域

步骤:

在角色列表中,找到需要编辑的监控区域。

点击该监控区域旁边的“编辑”按钮。

更改监控区域名称、描述。

点击“确认”按钮以保存更改。

      1. 删除监控区域

步骤:

在监控区域列表中,找到需要删除的监控区域。

点击该角色旁边的“删除”按钮。

在弹出的确认对话框中点击“确认”以完成删除操作。

    1. 实时视频

实时视频界面选择对应的小区和区域设备进行接入视频设备的视频播放