StoneDT:这个开源项目太好用啦,相信我你们公司一定用得上它,在这个瞬息万变的数据时代,专业分析,快速舆情处理,守护企业声誉!

2,566 阅读4分钟

嗨,大家好,我是小华同学,关注我们获得“最新、最全、最优质”开源项目和高效工作学习方法

StoneDT(开源免费舆情监测网络监控系统)是一个功能强大的开源舆情监测工具,可以帮助用户实时监控网络舆情,了解公众对特定话题或品牌的看法。该系统基于先进的自然语言处理技术,可以分析大量的网络数据,并提供可视化的舆情分析报告。

功能架构

项目特点

  • 实时监控:系统能够实时捕捉网络上的相关信息,确保用户不错过任何重要舆情。
  • 数据挖掘:通过先进的数据挖掘技术,系统能够从海量信息中提取有价值的数据。
  • 自定义规则:用户可以根据自己的需求,自定义监测规则,使监测更加精准。
  • 开源免费:作为一个开源项目, StoneDT 允许用户自由使用和修改,无需支付额外费用。

应用场景

  • 企业品牌监控:监控品牌相关讨论,维护企业形象。
  • 政府舆论监管:帮助政府机构了解民众声音,及时响应社会关切。
  • 市场研究:分析市场趋势和消费者情绪,为决策提供数据支持。
  • 危机管理:在危机发生时,快速识别和响应,减少负面影响。
  • 媒体行业:分析热点新闻,发现和报道新闻线索。

具体使用方法

  1. 安装部署:根据项目文档,下载并安装系统。
  2. 配置监测规则:设置关键词、监测平台和时间范围等参数。
  3. 数据收集:系统将根据配置的规则,自动收集网络上的数据。
  4. 数据分析:对收集到的数据进行分析,提取关键信息。
  5. 报告生成:系统可以生成舆情报告,方便用户查看和分享。

技术栈

系统架构

数据采集

  • 开发平台:Java J2EE & SpringBoot
  • 采集框架:Spider-flow & WebMagic & HttpClient
  • APP采集:Xposed框架
  • URL仓库:布隆过滤器 + Redis
  • 网页渲染解析:Jvppeteer & Playwright(微软开源) & Selenium
  • web应用服务器:Nginx & Tomcat
  • 储存任务发送:Kafka & Zookeeper
  • 抓取任务发送:RabbitMQ
  • 配置管理:MySQL
  • 前端展示:Bootstrap & VUE

数据处理

  • 数据库:MySQL
  • 数据检索:Elasticsearch
  • 中文分词器:IK分词
  • 相似度计算:Clickhouse
  • 数据同步:DataX
  • 文章储存:Mongodb
  • 数据缓存:Redis
  • 消息队列:Kafka & RabbitMQ
  • 开发框架:SpringBoot
  • 开发语言:Java J2EE
  • 图表展示:Apache Echarts & AnyCharts

部署安装

docker方式

  1. 安装Docker
# 对于Ubuntu用户 apt install -y docker.io
# 对于Centos用户 yum install -y docker
# 然后启动Docker服务
# systemctl start docker

2. Docker拉取镜像并运行 在命令行输入下面一行命令即可完成镜像的拉取以及运行,拉取镜像大概需要花费5-10分钟。

docker run -itd --name stonedt_yuqing -p 8085:8085 crpi-8mxxyq37t3w9t2kj.cn-hangzhou.personal.cr.aliyuncs.com/stonedtx/stonedt_yuqing:1.0.8

3. 验证是否成功运行 使用docker ps命令获取我们运行的容器ID

docker ps
# 使用docker logs 容器ID -f 查看容器日志
docker logs 容器ID -f

4. 屏幕出现运行日志即为部署成功 5. 访问地址 http://ip:8085 用户名13900000000 密码stonedt

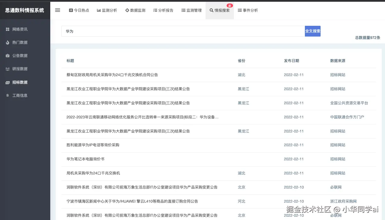
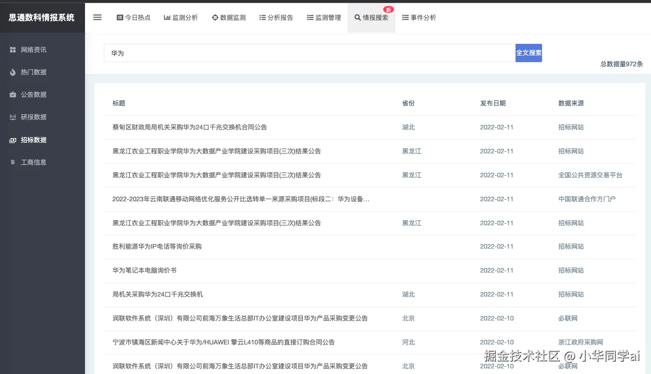
图片展示

同类项目介绍

  • Google Alerts:Google Alerts是一个免费的舆情监控工具,可以监控特定关键词在Google上的搜索结果,但功能相对简单,无法进行深入的舆情分析。
  • Brandwatch:Brandwatch是一个商业化的舆情监控平台,功能强大,可以进行深入的舆情分析,但价格昂贵。
  • Gephi:一款基于 Java 的网络分析和可视化工具,可以用于舆情监测、社交网络分析等。
  • NetworkX:一个 Python 的网络分析库,可以用于舆情监测、社交网络分析等。
  • SNAP:斯坦福网络分析项目,提供了一系列网络分析和可视化工具。

这些项目各有特点,用户可以根据自己的需求选择合适的工具。

结语

StoneDT 作为一个开源免费的舆情监测网络监控系统,以其强大的功能和易用性,为用户提供了一个有效的网络舆情监控解决方案。无论是企业还是政府机构,都可以利用这个系统来更好地理解和管理网络舆论。希望这篇文章能帮助你更好地了解和使用StoneDT。

项目地址

https://gitee.com/stonedtx/yuqing