Vue3+NestJS实现后台权限管理系统上线啦!(附源码及教程)

1,759 阅读3分钟

最近这段时间工作不忙,想着提升一下自己的技术,沉淀沉淀。于是做了一个开源的后台权限管理系统。因为我本身是一个前端开发,所以前端和服务端都是用的 JS 语言来开发的,前端用的框架是 vue3,后端则用的是 NestJS。经过一段时间的努力,最终于元旦节部署了第一个版本。为了让更多同学参与学习,我直接把前后端所有代码 全部开源 !不仅如此,开发过程中相关完整文字教程也都整理好了,感兴趣的朋友可以去看看。完整教程

本篇文章为大家介绍一下这个开源全栈后台管理系统,如果对大家有所帮助,欢迎点赞收藏!

项目演示

项目 git 地址

项目演示地址

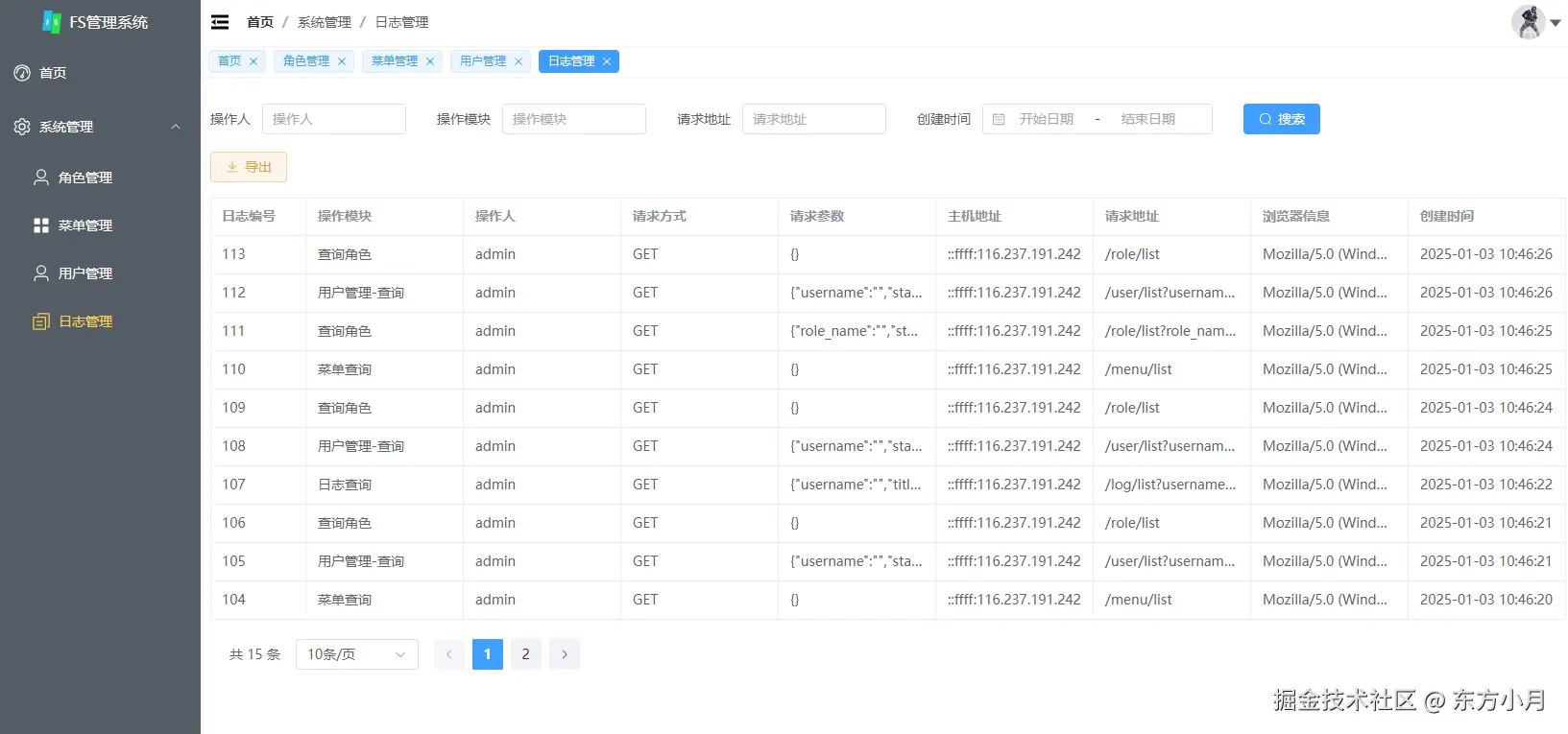
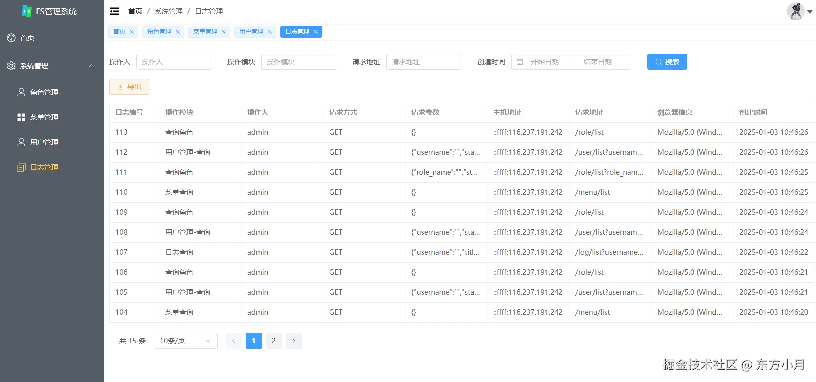
部分页面截图:

  • 角色管理

image.png

  • 菜单管理 image.png

  • 用户管理 image.png

  • 日志 image.png

  • 个人中心

image.png

项目技术栈

前端部分主要技术栈:

  • vue3
  • element-plus
  • pinia
  • tailwindcss
  • TypeScript
  • Vite

后端部分主要技术栈:

  • NestJS
  • TypeScript
  • MySQL
  • TypeORM
  • JWT
  • Redis
  • Swagger

部署部分主要技术栈:

  • Docker
  • nginx
  • githb actions

项目功能

项目功能主要包括:

  • JWT 实现用户登录
  • Swagger 在线接口文档
  • 基于 RBAC 权限管理
  • 动态路由获取
  • 面包屑导航
  • 自定义权限指令
  • 菜单管理
  • 角色管理
  • 用户管理
  • 日志管理
  • Excel 导入导出
  • 个人中心
  • docker+github actions 一键自动部署阿里云

项目介绍

由于篇幅有限,这里简单介绍一些核心功能。

  • 返回结果统一封装

项目中所有的接口返回结果都封装成统一的格式,方便前端处理。后端通过拦截器实现返回结果的统一处理。

image.png

前端拿到的结果如下

image.png

  • 业务异常信息处理

当请求出现业务异常时,会返回统一的错误信息。后端封装代码如下:

image.png

当我们想抛出业务异常时,只需要调用一下即可,比如密码错误throw new ApiException('密码错误', ApiErrorCode.PASSWORD_ERR);

此时前端拿到的结果如下

image.png

  • Swagger 在线接口文档

项目集成了Swagger,只需在后端Controller中添加装饰器,即可生成在线接口文档。

image.png

直接打开http://localhost:3000/fs_admin/api#/即可查看

image.png

  • 自定义权限指令

在前端Vue项目中,可以使用自定义指令v-hasPerm来控制用户是否有权限操作某个按钮。例如:

 <el-button
          type="primary"
          v-hasPerm="['system:menu:add']"
          plain
          icon="Plus"
          @click="handleAdd()"
          >新增</el-button
        >

后端接口通过自定义装饰器@Permissions定义所需的权限:

 //新增菜单
  @Post('createMenu')
  @Permissions('system:menu:add')
  async createMenu(
    @Request() req,
    @Body()
    createMenuDto: CreateMenuDto,
  ) {


    return await this.menuService.createMenu(req, createMenuDto);
  }
  • 动态路由获取

用户登录成功后,前端会根据用户的角色动态生成路由菜单。后端处理好的路由数据结构如下:

image.png

Excel 导入导出功能使用了xlsx库,后端代码如下:

image.png

前端获取的数据结构:

image.png

  • Excel 导入导出

Excel 导入导出功能主要用到了xlsx库。后端部分代码展示:

image.png

  • 分页数据查询

部分代码展示:

image.png

前端获取的数据结构:

image.png

  • 自动部署

自动部署通过GitHub Actions实现,提交代码后会自动触发工作流,部署到阿里云服务器。

GitHub Actions配置:

image.png

当然,项目功能远不止这些,由于篇幅限制,这里就不一一介绍了。完整的教程已经整理完毕,感兴趣的朋友可以查看。如果有什么问题,欢迎留言讨论。

同未来,我还会继续完善这个项目,争取打造一个以前端开发者为中心的全栈后台权限管理系统!

Any application that can be written in JavaScript, will eventually be written in JavaScript‌