Typecho蜘蛛来访记录插件"加强"加强版:RobotsPlusPlus

204 阅读1分钟

插件简介

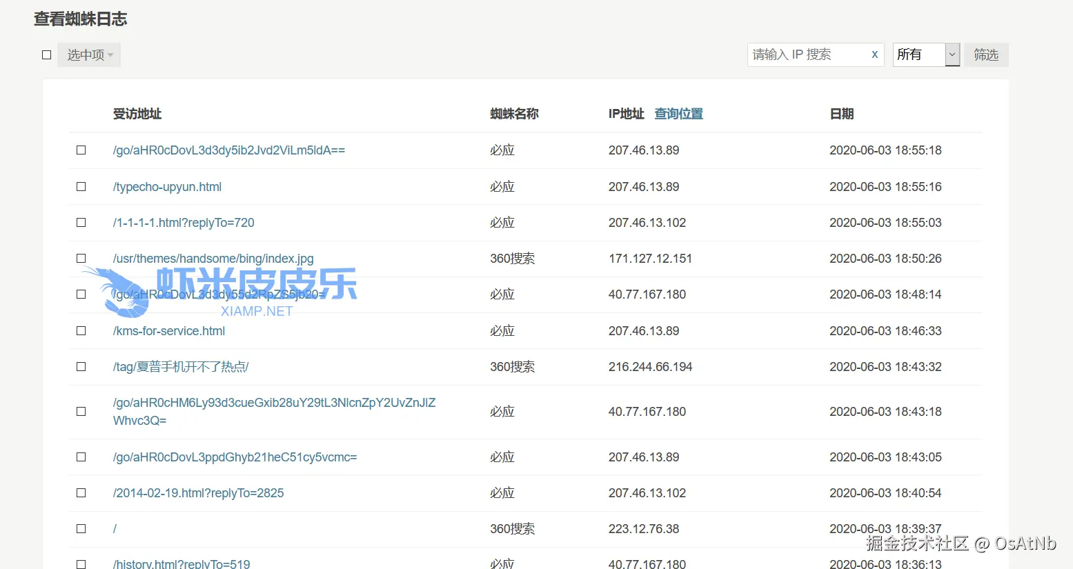
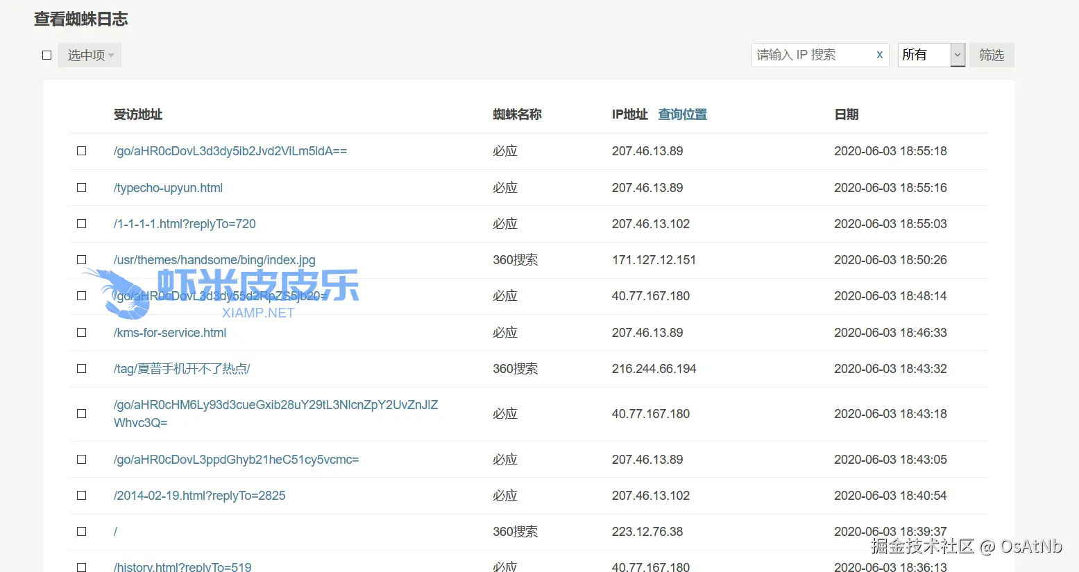
记录蜘蛛爬行日志。

插件功能

  • 可以记录搜索引擎蜘蛛的种类、爬行时间、爬行的页面、来源的IP。
  • 有利于监控站点的被蜘蛛抓取的情况,了解蜘蛛的习惯。
  • 可以为站点的SEO提供很多参考数据。

插件缺点

  • (暂无)

插件截图

插件使用

  • (暂无)

插件历史

  • 本插件原名“Robots”,由 Shion 创建,后面由 YoviSun 修改升级后改名为 RobotsPlus 。
  • 但是年久失修。现在由本博主接手了。

更新日志

  • 2024.05.25 版本 2.0.8 修复 IP 查询 API 不可用
  • 2024.05.10 版本 2.0.7 修复 PHP8.0+ Deprecated
  • 2021.08.14 版本 2.0.6 开始不再加密
  • 2018.10.06 由 Ryan 修正在 typecho 新版中显示异常以及不能删除日志的问题。并改名为RobotsPlusPlus。理论上新版SQLite数据库也能用,没测过。。。。有问题联系我,我再改把。
  • 2020.09.04 兼容PHP7.4 感谢“猫咪”
  • 2020.06.03
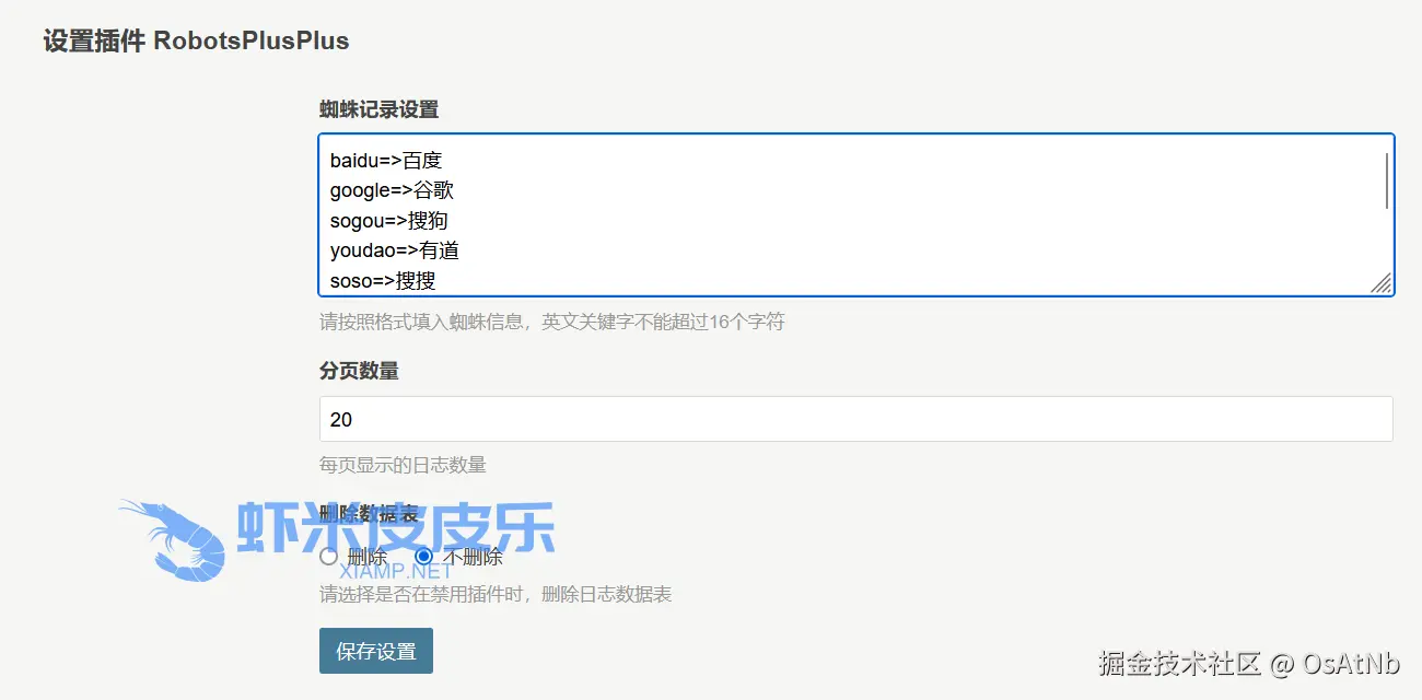
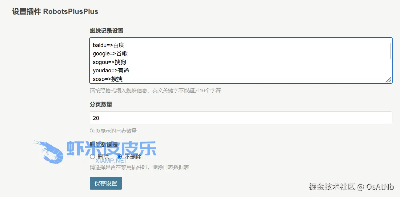
    • 重写查询,完美修正筛选功能,修改查询页面分页方式。
    • 支持自行添加蜘蛛
    • 支持查询IP定位
    • 修正IPv6超长问题
[下载 GitHub 仓库](https://github.com/benzBrake/RobotsPlusPlus)