关于这个原理图,要了解到以下几个知识:
- V7开发板实际外接的芯片是W25Q256JV。
- CS片选最好接上拉电阻,防止意外操作。
- W25Q256的WP引脚用于写保护,低电平有效性,当前是将其作为4方式的IO2。
- HOLD引脚也是低电平有效,当前是将其接到高电平。此引脚的作用是CS片选低电平时,DO引脚输出高阻,忽略CLK和DI引脚上的信号。当前是将其作为4线方式的IO3。
79.3 W25QXX关键知识点整理(重要)
驱动W25QXX前要先了解下这个芯片的相关信息。
79.3.1 W25QXX基础信息
- W25Q256JV是32MB(256Mbit)。
- W25Q256JV支持标准SPI(单线SPI),用到引脚CLK、CS,DI和DO引脚。
支持两线SPI,用到引脚CLK、CS、IO0、IO1 。
支持四线SPI,用到引脚CLK、CS、IO0、IO1,IO2、IO3。
(注:这里几线的意思是几个数据线)。
- W25Q256JV支持的最高时钟是133MHz。
- 每个扇区最少支持10万次擦写,可以保存20年数据。
- 页大小是256字节,支持页编程,也就是一次编写256个字节,也可以一个一个编写。
- 支持4KB为单位的扇区擦除,也可以32KB或者64KB为单位的擦除。
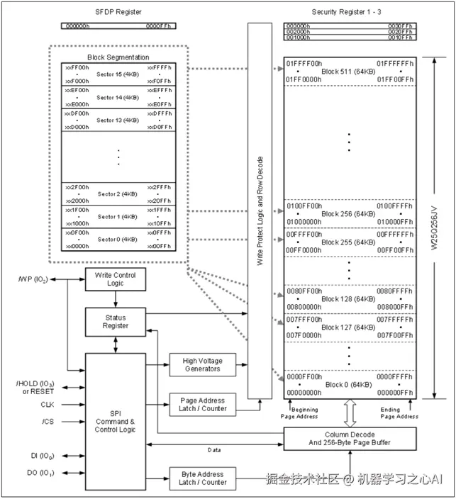
整体框图如下:
W25Q256JV:
- 有512个Block,每个Block大小64KB。
- 每个Block有16个Sector,每个Sector大小4KB。
- 每个Sector有16个Page,每个Page大小是256字节。
79.3.2 W25QXX命令
使用W25Q256的接线方式不同,使用的命令也有所不同,使用的时候务必要注意,当前我们使用的QSPI,即4线SPI,并且用的4字节地址模式,使用的命令如下:
当前主要用到如下几个命令:
#define WRITE_ENABLE_CMD 0x06 /* 写使能指令 */
#define READ_ID_CMD2 0x9F /* 读取ID命令 */
#define READ_STATUS_REG_CMD 0x05 /* 读取状态命令 */
#define BULK_ERASE_CMD 0xC7 /* 整个芯片擦除命令 */
#define SUBSECTOR_ERASE_4_BYTE_ADDR_CMD 0x21 /* 32bit地址扇区擦除指令, 4KB */
#define QUAD_IN_FAST_PROG_4_BYTE_ADDR_CMD 0x34 /* 32bit地址的4线快速写入命令 */
#define QUAD_INOUT_FAST_READ_4_BYTE_ADDR_CMD 0xEC /* 32bit地址的4线快速读取命令 */
79.3.3 W25QXX页编程和页回卷
SPI Flash仅支持页编程(页大小256字节),所有其它大批量数据的写入都是以页为单位。这里注意所说的页编程含义,页编程分为以下三步(伪代码):
bsp_spiWrite1(0x02); ----------第1步发送页编程命令
bsp_spiWrite1((_uiWriteAddr & 0xFF0000) >> 16); ----------第2步发送地址
bsp_spiWrite1((_uiWriteAddr & 0xFF00) >> 8);
bsp_spiWrite1(_uiWriteAddr & 0xFF);
for (i = 0; i < _usSize; i++)
{
bsp_spiWrite1(*_pBuf++); ----------第3步写数据,此时就可以连续写入数据了,
不需要再重新设置地址,地址会自增。这样可以大大加快写入速度。
}
页编程的含义恰恰就体现在第3步了,如果用户设置的“起始地址+数据长度”所确定的地址范围超过了此起始地址所在的页,地址自增不会超过页范围,而是重新回到了此页的首地进行编写。这一点要特别的注意。如果用户不需要使用地址自增效果,那么直接指定地址进行编写即可。可以任意指定地址进行编写,编写前一定要进行擦除。
比如下面就是页内操作(使用前已经进行了扇区擦除,每次擦除最少擦除一个扇区4KB):
uint8_t tempbuf[10] = {0x11,0x22,0x33,0x44,0x55,0x66,0x77,0x88,0x99,0x00};
uint8_t temp1 = 0x10, temp2 = 0x29, temp3 = 0x48;
- 从250地址开始写入10个字节数据 PageWrite(tempbuf, 250, 10);(因为一旦写入超过地址255,就会从0地址开始重新写)。
- 向地址20写入1个字节数据:PageWrite(&temp1, 20, 1);
- 向地址30写入1个字节数据:PageWrite(&temp2, 30, 1);
- 向地址510写入1个字节数据:PageWrite(&temp3, 510, 1) (这里已经是写到下一页了)
下面是将从0地址到511地址读取出来的512个字节数据,一行32字节。
79.3.4 W25QXX扇区擦除
SPI Flash的擦除支持扇区擦除(4KB),块擦除(32KB或者64KB)以及整个芯片擦除。对于扇区擦除和块擦除,使用的时候要注意一点,一般情况下,只需用户给出扇区或者块的首地址即可。
如果给的不是扇区或者块的首地址也没有关系的,只要此地址是在扇区或者块的范围内,此扇区或者块也可以被正确擦除。不过建议使用时给首地址,方便管理。
79.3.5 W25QXX规格参数
这里我们主要了解擦写耗时和支持的时钟速度,下面是擦写时间参数:
- 页编程时间:典型值0.4ms,最大值3ms。
- 扇区擦除时间(4KB):典型值50ms,最大值400ms。
- 块擦除时间(32KB):典型值120ms,最大值1600ms。
- 块擦除时间(64KB):典型值150ms,最大值2000ms。
- 整个芯片擦除时间:典型值80s,最大值400s。
支持的速度参数如下:
可以看到最高支持的读时钟(使用命令03H)速度是50MHz,其它命令速度可以做到133MHz。
79.4 W25QXX驱动设计
W25QXX的程序驱动框架设计如下:
有了这个框图,程序设计就比较好理解了。
79.4.1 第1步:QSPI总线配置
QSPI总线配置如下:
/*
*********************************************************************************************************
* 函 数 名: bsp_InitQSPI_W25Q256
* 功能说明: QSPI Flash硬件初始化,配置基本参数
* 形 参: 无
* 返 回 值: 无
*********************************************************************************************************
*/
void bsp_InitQSPI_W25Q256(void)
{
/* 复位QSPI */
QSPIHandle.Instance = QUADSPI;
if (HAL_QSPI_DeInit(&QSPIHandle) != HAL_OK)
{
Error_Handler(__FILE__, __LINE__);
}
/* 设置时钟速度,QSPI clock = 200MHz / (ClockPrescaler+1) = 100MHz */
QSPIHandle.Init.ClockPrescaler = 1;
/* 设置FIFO阀值,范围1 - 32 */
QSPIHandle.Init.FifoThreshold = 32;
/*
QUADSPI在FLASH驱动信号后过半个CLK周期才对FLASH驱动的数据采样。
在外部信号延迟时,这有利于推迟数据采样。
*/
QSPIHandle.Init.SampleShifting = QSPI_SAMPLE_SHIFTING_HALFCYCLE;
/*Flash大小是2^(FlashSize + 1) = 2^25 = 32MB */
//QSPI_FLASH_SIZE - 1; 需要扩大一倍,否则内存映射方位最后1个地址时,会异常。
QSPIHandle.Init.FlashSize = QSPI_FLASH_SIZE;
/* 命令之间的CS片选至少保持2个时钟周期的高电平 */
QSPIHandle.Init.ChipSelectHighTime = QSPI_CS_HIGH_TIME_2_CYCLE;
/*
MODE0: 表示片选信号空闲期间,CLK时钟信号是低电平
MODE3: 表示片选信号空闲期间,CLK时钟信号是高电平
*/
QSPIHandle.Init.ClockMode = QSPI_CLOCK_MODE_0;
/* QSPI有两个BANK,这里使用的BANK1 */
QSPIHandle.Init.FlashID = QSPI_FLASH_ID_1;
/* V7开发板仅使用了BANK1,这里是禁止双BANK */
QSPIHandle.Init.DualFlash = QSPI_DUALFLASH_DISABLE;
/* 初始化配置QSPI */
if (HAL_QSPI_Init(&QSPIHandle) != HAL_OK)
{
Error_Handler(__FILE__, __LINE__);
}
}
QSPI这部分配置,要特别注意Flash大小的设置,这里做了特别处理,本来是应该填入QSPI_FLASH_SIZE-1,而我们实际上填入的是QSPI_FLASH_SIZE,主要是因为内存映射模式下,最后一个字节访问有问题。
79.4.2 第2步:QSPI总线的查询和MDMA方式设置
本章提供了QSPI Flash的查询和MDMA两种方式的例子,驱动的区别是调用的API不同,查询方式调用的API是HAL_QSPI_Transmit和HAL_QSPI_Receive,而DMA方式使用的API是HAL_QSPI_Transmit_DMA和HAL_QSPI_Receive_DMA。
79.4.3 第3步:W25QXX的读取实现
注:这里以查询方式的API进行说明,DMA方式是一样的。
W25QXX的读取功能是发送的4线快速读取指令0xEC,设置任意地址都可以读取数据,只要不超过芯片容量即可(如果采用的DMA方式,限制每次最大读取65536字节)。
/*
*********************************************************************************************************
* 函 数 名: QSPI_ReadBuffer
* 功能说明: 连续读取若干字节,字节个数不能超出芯片容量。
* 形 参: _pBuf : 数据源缓冲区。
* _uiReadAddr :起始地址。
* _usSize :数据个数, 可以大于PAGE_SIZE, 但是不能超出芯片总容量。
* 返 回 值: 无
*********************************************************************************************************
*/
void QSPI_ReadBuffer(uint8_t * _pBuf, uint32_t _uiReadAddr, uint32_t _uiSize)
{
QSPI_CommandTypeDef sCommand = {0};
/* 基本配置 */
sCommand.InstructionMode = QSPI_INSTRUCTION_1_LINE; /* 1线方式发送指令 */
sCommand.AddressSize = QSPI_ADDRESS_32_BITS; /* 32位地址 */
sCommand.AlternateByteMode = QSPI_ALTERNATE_BYTES_NONE; /* 无交替字节 */
sCommand.DdrMode = QSPI_DDR_MODE_DISABLE; /* W25Q256JV不支持DDR */
sCommand.DdrHoldHalfCycle = QSPI_DDR_HHC_ANALOG_DELAY; /* DDR模式,数据输出延迟 */
sCommand.SIOOMode = QSPI_SIOO_INST_EVERY_CMD; /* 每次传输要发指令 */
/* 读取数据 */
sCommand.Instruction = QUAD_INOUT_FAST_READ_4_BYTE_ADDR_CMD; /* 32bit地址的4线快速读取命令 */
sCommand.DummyCycles = 6; /* 空周期 */
sCommand.AddressMode = QSPI_ADDRESS_4_LINES; /* 4线地址 */
sCommand.DataMode = QSPI_DATA_4_LINES; /* 4线数据 */
sCommand.NbData = _uiSize; /* 读取的数据大小 */
sCommand.Address = _uiReadAddr; /* 读取数据的起始地址 */
if (HAL_QSPI_Command(&QSPIHandle, &sCommand, 10000) != HAL_OK)
{
Error_Handler(__FILE__, __LINE__);
}
/* 读取 */
if (HAL_QSPI_Receive(&QSPIHandle, _pBuf, 10000) != HAL_OK)
{
Error_Handler(__FILE__, __LINE__);
}
}
此时函数使用的指令0xEC对应的W25Q256JV手册说明,注意红色方框位置:
左上角的1-4-4就是指令阶段使用1个IO,地址阶段使用4个IO,数据阶段也是使用4个IO,并且采用的4字节地址方式,反映到程序里面就是:
sCommand.InstructionMode = QSPI_INSTRUCTION_1_LINE;
sCommand.AddressMode = QSPI_ADDRESS_4_LINES;
sCommand.AddressSize = QSPI_ADDRESS_32_BITS;
sCommand.DataMode = QSPI_DATA_4_LINES;
79.4.4 第4步:W25QXX的编程实现
注:这里以查询方式的API进行说明,DMA方式是一样的。
下面实现了一个页编程函数:
/*
*********************************************************************************************************
* 函 数 名: QSPI_WriteBuffer
* 功能说明: 页编程,页大小256字节,任意页都可以写入
* 形 参: _pBuf : 数据源缓冲区;
* _uiWriteAddr :目标区域首地址,即页首地址,比如0, 256, 512等。
* _usWriteSize :数据个数,不能超过页面大小,范围1 - 256。
* 返 回 值: 1:成功, 0:失败
*********************************************************************************************************
*/
uint8_t QSPI_WriteBuffer(uint8_t *_pBuf, uint32_t _uiWriteAddr, uint16_t _usWriteSize)
{
QSPI_CommandTypeDef sCommand={0};
/* 写使能 */
QSPI_WriteEnable(&QSPIHandle);
/* 基本配置 */
sCommand.InstructionMode = QSPI_INSTRUCTION_1_LINE; /* 1线方式发送指令 */
sCommand.AddressSize = QSPI_ADDRESS_32_BITS; /* 32位地址 */
sCommand.AlternateByteMode = QSPI_ALTERNATE_BYTES_NONE; /* 无交替字节 */
sCommand.DdrMode = QSPI_DDR_MODE_DISABLE; /* W25Q256JV不支持DDR */
sCommand.DdrHoldHalfCycle = QSPI_DDR_HHC_ANALOG_DELAY; /* DDR模式,数据输出延迟 */
sCommand.SIOOMode = QSPI_SIOO_INST_ONLY_FIRST_CMD; /* 仅发送一次命令 */
/* 写序列配置 */
sCommand.Instruction = QUAD_IN_FAST_PROG_4_BYTE_ADDR_CMD; /* 32bit地址的4线快速写入命令 */
sCommand.DummyCycles = 0; /* 不需要空周期 */
sCommand.AddressMode = QSPI_ADDRESS_1_LINE; /* 4线地址方式 */
sCommand.DataMode = QSPI_DATA_4_LINES; /* 4线数据方式 */
sCommand.NbData = _usWriteSize; /* 写数据大小 */
sCommand.Address = _uiWriteAddr; /* 写入地址 */
if (HAL_QSPI_Command(&QSPIHandle, &sCommand, 10000) != HAL_OK)
{
//return 0;
Error_Handler(__FILE__, __LINE__);
}
/* 启动传输 */
if (HAL_QSPI_Transmit(&QSPIHandle, _pBuf, 10000) != HAL_OK)
{
//return 0;
Error_Handler(__FILE__, __LINE__);
}
QSPI_AutoPollingMemReady(&QSPIHandle);
return 1;
}
此时函数使用的指令0x34对应的W25Q256JV手册说明,注意红色方框位置:
左上角的1-4-4就是指令阶段使用1个IO,地址阶段使用4个IO,数据阶段也是使用4个IO,并且采用的4字节地址方式,反映到程序里面就是:
sCommand.InstructionMode = QSPI_INSTRUCTION_1_LINE;
sCommand.AddressMode = QSPI_ADDRESS_4_LINES;
sCommand.AddressSize = QSPI_ADDRESS_32_BITS;
sCommand.DataMode = QSPI_DATA_4_LINES;
79.4.5 第5步:W25QXX的扇区擦除实现
注:这里以查询方式的API进行说明,DMA方式是一样的。
通过发送“扇区擦除命令+扇区地址”即可完成相应扇区的擦除,擦除的扇区大小是4KB。
/*
*********************************************************************************************************
* 函 数 名: QSPI_EraseSector
* 功能说明: 擦除指定的扇区,扇区大小4KB
* 形 参: _uiSectorAddr : 扇区地址,以4KB为单位的地址,比如0,4096, 8192等,
* 返 回 值: 无
*********************************************************************************************************
*/
void QSPI_EraseSector(uint32_t _uiSectorAddr)
{
QSPI_CommandTypeDef sCommand={0};
/* 写使能 */
QSPI_WriteEnable(&QSPIHandle);
/* 基本配置 */
sCommand.InstructionMode = QSPI_INSTRUCTION_1_LINE; /* 1线方式发送指令 */
sCommand.AddressSize = QSPI_ADDRESS_32_BITS; /* 32位地址 */
sCommand.AlternateByteMode = QSPI_ALTERNATE_BYTES_NONE; /* 无交替字节 */
sCommand.DdrMode = QSPI_DDR_MODE_DISABLE; /* W25Q256JV不支持DDR */
sCommand.DdrHoldHalfCycle = QSPI_DDR_HHC_ANALOG_DELAY; /* DDR模式,数据输出延迟 */
sCommand.SIOOMode = QSPI_SIOO_INST_EVERY_CMD; /* 每次传输都发指令 */
/* 擦除配置 */
sCommand.Instruction = SUBSECTOR_ERASE_4_BYTE_ADDR_CMD; /* 32bit地址方式的扇区擦除命令,扇区大小4KB*/
sCommand.AddressMode = QSPI_ADDRESS_1_LINE; /* 地址发送是1线方式 */
sCommand.Address = _uiSectorAddr; /* 扇区首地址,保证是4KB整数倍 */
sCommand.DataMode = QSPI_DATA_NONE; /* 无需发送数据 */
sCommand.DummyCycles = 0; /* 无需空周期 */
if (HAL_QSPI_Command(&QSPIHandle, &sCommand, 10000) != HAL_OK)
{
Error_Handler(__FILE__, __LINE__);
}
QSPI_AutoPollingMemReady(&QSPIHandle);
}
此时函数使用的指令0x21对应的W25Q256JV手册说明,注意红色方框位置:
左上角的1-1-1就是指令阶段使用1个IO,地址阶段使用1个IO,数据阶段也是使用1个IO,并且采用的4字节地址方式,反映到程序里面就是:
sCommand.InstructionMode = QSPI_INSTRUCTION_1_LINE;
sCommand.AddressMode = QSPI_ADDRESS_1_LINES;
sCommand.AddressSize = QSPI_ADDRESS_32_BITS;
sCommand.DataMode = QSPI_DATA_1_LINES;
79.4.6 第6步:W25QXX的整个芯片擦除实现
注:这里以查询方式的API进行说明,DMA方式是一样的。
整个芯片的擦除可以通过擦除各个扇区来实现,也可以调用专门的整个芯片擦除指令实现。下面实现方法是发送整个芯片擦除命令实现:
/*
*********************************************************************************************************
* 函 数 名: QSPI_EraseChip
* 功能说明: 整个芯片擦除
* 形 参: 无
* 返 回 值: 无
*********************************************************************************************************
*/
void QSPI_EraseChip(void)
{
QSPI_CommandTypeDef sCommand={0};
/* 写使能 */
QSPI_WriteEnable(&QSPIHandle);
/* 基本配置 */
sCommand.InstructionMode = QSPI_INSTRUCTION_1_LINE; /* 1线方式发送指令 */
sCommand.AddressSize = QSPI_ADDRESS_32_BITS; /* 32位地址 */
sCommand.AlternateByteMode = QSPI_ALTERNATE_BYTES_NONE; /* 无交替字节 */
sCommand.DdrMode = QSPI_DDR_MODE_DISABLE; /* W25Q256JV不支持DDR */
sCommand.DdrHoldHalfCycle = QSPI_DDR_HHC_ANALOG_DELAY; /* DDR模式,数据输出延迟 */
sCommand.SIOOMode = QSPI_SIOO_INST_EVERY_CMD; /* 每次传输都发指令 */
/* 擦除配置 */
sCommand.Instruction = BULK_ERASE_CMD; /* 整个芯片擦除命令*/
sCommand.AddressMode = QSPI_ADDRESS_1_LINE; /* 地址发送是1线方式 */
sCommand.Address = 0; /* 地址 */
sCommand.DataMode = QSPI_DATA_NONE; /* 无需发送数据 */
sCommand.DummyCycles = 0; /* 无需空周期 */
if (HAL_QSPI_Command(&QSPIHandle, &sCommand, 10000) != HAL_OK)
{
Error_Handler(__FILE__, __LINE__);
}
QSPI_AutoPollingMemReady(&QSPIHandle);
}
此时函数使用的指令0xC7对应的W25Q256JV手册说明,注意红色方框位置:
左上角的1-1-1就是指令阶段使用1个IO,地址阶段使用1个IO,数据阶段也是使用1个IO,并且采用的4字节地址方式,反应到程序里面就是:
sCommand.InstructionMode = QSPI_INSTRUCTION_1_LINE;
sCommand.AddressMode = QSPI_ADDRESS_1_LINES;
sCommand.AddressSize = QSPI_ADDRESS_32_BITS;
sCommand.DataMode = QSPI_DATA_1_LINES;
擦除用不到数据阶段,sCommand.DataMode = QSPI_DATA_NONE即可。
79.4.7 第7步:W25QXX内存映射实现
注:这里以查询方式的API进行说明,DMA方式是一样的。
通过内存映射模式,就可以像使用内部Flash一样使用W25QXX,代码实现如下:
/*
*********************************************************************************************************
* 函 数 名: QSPI_MemoryMapped
* 功能说明: QSPI内存映射,地址 0x90000000
* 形 参: 无
* 返 回 值: 无
*********************************************************************************************************
*/
void QSPI_MemoryMapped(void)
{
QSPI_CommandTypeDef s_command = {0};
QSPI_MemoryMappedTypeDef s_mem_mapped_cfg = {0};
/* 基本配置 */
s_command.InstructionMode = QSPI_INSTRUCTION_1_LINE; /* 1线方式发送指令 */
s_command.AddressSize = QSPI_ADDRESS_32_BITS; /* 32位地址 */
s_command.AlternateByteMode = QSPI_ALTERNATE_BYTES_NONE; /* 无交替字节 */
s_command.DdrMode = QSPI_DDR_MODE_DISABLE; /* W25Q256JV不支持DDR */
s_command.DdrHoldHalfCycle = QSPI_DDR_HHC_ANALOG_DELAY; /* DDR模式,数据输出延迟 */
s_command.SIOOMode = QSPI_SIOO_INST_EVERY_CMD; /* 每次传输都发指令 */
/* 全部采用4线 */
s_command.Instruction = QUAD_INOUT_FAST_READ_4_BYTE_ADDR_CMD; /* 快速读取命令 */
s_command.AddressMode = QSPI_ADDRESS_4_LINES; /* 4个地址线 */
s_command.DataMode = QSPI_DATA_4_LINES; /* 4个数据线 */
s_command.DummyCycles = 6; /* 空周期 */
/* 关闭溢出计数 */
s_mem_mapped_cfg.TimeOutActivation = QSPI_TIMEOUT_COUNTER_DISABLE;
s_mem_mapped_cfg.TimeOutPeriod = 0;
if (HAL_QSPI_MemoryMapped(&QSPIHandle, &s_command, &s_mem_mapped_cfg) != HAL_OK)
{
Error_Handler(__FILE__, __LINE__);
}
}
此时函数使用的指令0xEC对应的W25Q256JV手册说明,注意红色方框位置:
左上角的1-4-4就是指令阶段使用1个IO,地址阶段使用4个IO,数据阶段也是使用4个IO,采用的4字节地址方式,反应到程序里面就是:
sCommand.InstructionMode = QSPI_INSTRUCTION_1_LINE;
sCommand.AddressMode = QSPI_ADDRESS_4_LINES;
sCommand.AddressSize = QSPI_ADDRESS_32_BITS;
sCommand.DataMode = QSPI_DATA_4_LINES;
79.4.8 第8步:使用MDMA方式要注意Cache问题
如果使用MDMA方式的话,可以使用TCM RAM,此时不用考虑Cache问题。如果使用的是其它RAM空间,要考虑Cache问题。因为MDMA和CPU同时访问DMA缓冲造成的数据一致性问题,将这块空间关闭读Cache和写Cache,比如使用的AXI SRAM,这样可以方便大家做测试,测试通过后,再根据需要开启Cache。
/* 配置AXI SRAM的MPU属性为NORMAL, NO Read allocate,NO Write allocate */
MPU_InitStruct.Enable = MPU_REGION_ENABLE;
MPU_InitStruct.BaseAddress = 0x24000000;
MPU_InitStruct.Size = MPU_REGION_SIZE_512KB;
MPU_InitStruct.AccessPermission = MPU_REGION_FULL_ACCESS;
MPU_InitStruct.IsBufferable = MPU_ACCESS_NOT_BUFFERABLE;
MPU_InitStruct.IsCacheable = MPU_ACCESS_NOT_CACHEABLE;
MPU_InitStruct.IsShareable = MPU_ACCESS_NOT_SHAREABLE;
MPU_InitStruct.Number = MPU_REGION_NUMBER0;
MPU_InitStruct.TypeExtField = MPU_TEX_LEVEL1;
MPU_InitStruct.SubRegionDisable = 0x00;
MPU_InitStruct.DisableExec = MPU_INSTRUCTION_ACCESS_ENABLE;
HAL_MPU_ConfigRegion(&MPU_InitStruct);
79.5 W25QXX板级支持包(bsp_qspi_w25q256.c)
W25QXX驱动文件bsp_qspi_w25q256.c主要实现了如下几个API供用户调用:
- QSPI_ReadBuffer
- QSPI_WriteBuffer
- QSPI_EraseSector
- QSPI_EraseChip
- QSPI_MemoryMapped
79.5.1 函数QSPI_ReadBuffer
函数原型:
void QSPI_ReadBuffer(uint8_t * _pBuf, uint32_t _uiReadAddr, uint32_t _uiSize);
函数描述:
此函数主要用于从QSPI Flash读取数据,支持任意大小,任意地址,不超过芯片容量即可(如果使用DMA方式,每次最大65536字节)。
函数参数:
- 第1个参数用于存储从QSPI Flash读取的数据。
- 第2个参数是读取地址,不可以超过芯片容量。
- 第3个参数是读取的数据大小,读取范围不可以超过芯片容量。
79.5.2 函数QSPI_WriteBuffer
函数原型:
uint8_t QSPI_WriteBuffer(uint8_t *_pBuf, uint32_t _uiWriteAddr, uint16_t _usWriteSize);
函数描述:
页编程,页大小256字节,任意页都可以写入。注意使用前,务必保证相应页已经做了擦除操作。
函数参数:
- 第1个参数是源数据缓冲区。
- 第2个参数是目标区域首地址,即页首地址,比如0, 256, 512等。
- 第3个参数是数据个数,不能超过页面大小,范围1 – 256,单位字节个数。
- 返回值,返回1表示成功,返回0表示失败。
79.5.3 函数QSPI_EraseSector
函数原型:
void QSPI_EraseSector(uint32_t _uiSectorAddr)
函数描述:
此函数主要用于扇区擦除,一个扇区大小是4KB。
函数参数:
- 第1个参数是扇区地址,比如擦除扇区0,此处填0x0000,擦除扇区1,此处填0x1000,擦除扇区2,此处填0x2000,以此类推。
79.5.4 函数QSPI_EraseChip
函数原型:
void QSPI_EraseChip(void)
函数描述:
此函数主要用于整个芯片擦除。
79.5.5 函数QSPI_MemoryMapped
函数原型:
void QSPI_MemoryMapped(void)
函数描述:
调用了此函数就可以像使用内部Flash一样使用外部Flash。
79.6 W25QXX驱动移植和使用
W25QXX移植步骤如下:
- 第1步:复制bsp_qspi_w25q256.c, bsp_qspi_w25q256.h到自己的工程目录,并添加到工程里面。
- 第2步:根据使用的QSPI引脚,时钟等,修改bsp_qspi_w25q256.c文件开头的宏定义。
/*
STM32-V7开发板接线
PG6/QUADSPI_BK1_NCS AF10
PF10/QUADSPI_CLK AF9
PF8/QUADSPI_BK1_IO0 AF10
PF9/QUADSPI_BK1_IO1 AF10
PF7/QUADSPI_BK1_IO2 AF9
PF6/QUADSPI_BK1_IO3 AF9
W25Q256JV有512块,每块有16个扇区,每个扇区Sector有16页,每页有256字节,共计32MB
*/
/* QSPI引脚和时钟相关配置宏定义 */
#define QSPI_CLK_ENABLE() __HAL_RCC_QSPI_CLK_ENABLE()
#define QSPI_CLK_DISABLE() __HAL_RCC_QSPI_CLK_DISABLE()
#define QSPI_CS_GPIO_CLK_ENABLE() __HAL_RCC_GPIOG_CLK_ENABLE()
#define QSPI_CLK_GPIO_CLK_ENABLE() __HAL_RCC_GPIOF_CLK_ENABLE()
#define QSPI_BK1_D0_GPIO_CLK_ENABLE() __HAL_RCC_GPIOF_CLK_ENABLE()
#define QSPI_BK1_D1_GPIO_CLK_ENABLE() __HAL_RCC_GPIOF_CLK_ENABLE()
#define QSPI_BK1_D2_GPIO_CLK_ENABLE() __HAL_RCC_GPIOF_CLK_ENABLE()
#define QSPI_BK1_D3_GPIO_CLK_ENABLE() __HAL_RCC_GPIOF_CLK_ENABLE()
#define QSPI_MDMA_CLK_ENABLE() __HAL_RCC_MDMA_CLK_ENABLE()
#define QSPI_FORCE_RESET() __HAL_RCC_QSPI_FORCE_RESET()
#define QSPI_RELEASE_RESET() __HAL_RCC_QSPI_RELEASE_RESET()
#define QSPI_CS_PIN GPIO_PIN_6
#define QSPI_CS_GPIO_PORT GPIOG
#define QSPI_CLK_PIN GPIO_PIN_10
#define QSPI_CLK_GPIO_PORT GPIOF
#define QSPI_BK1_D0_PIN GPIO_PIN_8
#define QSPI_BK1_D0_GPIO_PORT GPIOF
#define QSPI_BK1_D1_PIN GPIO_PIN_9
#define QSPI_BK1_D1_GPIO_PORT GPIOF
#define QSPI_BK1_D2_PIN GPIO_PIN_7
#define QSPI_BK1_D2_GPIO_PORT GPIOF
#define QSPI_BK1_D3_PIN GPIO_PIN_6
#define QSPI_BK1_D3_GPIO_PORT GPIOF
- 根据使用的QSPI命令不同,容量不同等,修改bsp_qspi_w25q256.h头文件
/* W25Q256JV基本信息 */
#define QSPI_FLASH_SIZE 25 /* Flash大小,2^25 = 32MB*/
#define QSPI_SECTOR_SIZE (4 * 1024) /* 扇区大小,4KB */
#define QSPI_PAGE_SIZE 256 /* 页大小,256字节 */
#define QSPI_END_ADDR (1 << QSPI_FLASH_SIZE) /* 末尾地址 */
#define QSPI_FLASH_SIZES 32*1024*1024 /* Flash大小,2^25 = 32MB*/
/* W25Q256JV相关命令 */
#define WRITE_ENABLE_CMD 0x06 /* 写使能指令 */
#define READ_ID_CMD2 0x9F /* 读取ID命令 */
#define READ_STATUS_REG_CMD 0x05 /* 读取状态命令 */
#define BULK_ERASE_CMD 0xC7 /* 整个芯片擦除命令 */
#define SUBSECTOR_ERASE_4_BYTE_ADDR_CMD 0x21 /* 32bit地址扇区擦除指令, 4KB */
#define QUAD_IN_FAST_PROG_4_BYTE_ADDR_CMD 0x34 /* 32bit地址的4线快速写入命令 */
#define QUAD_INOUT_FAST_READ_4_BYTE_ADDR_CMD 0xEC /* 32bit地址的4线快速读取命令 */
- 第4步:如果使用MDMA方式的话,可以使用TCM RAM,此时不用考虑Cache问题。如果使用的是其它RAM空间,要考虑Cache问题。因为MDMA和CPU同时访问DMA缓冲造成的数据一致性问题,将这块空间关闭读Cache和写Cache,比如使用的AXI SRAM:
/* 配置AXI SRAM的MPU属性为NORMAL, NO Read allocate,NO Write allocate */
MPU_InitStruct.Enable = MPU_REGION_ENABLE;
MPU_InitStruct.BaseAddress = 0x24000000;
MPU_InitStruct.Size = MPU_REGION_SIZE_512KB;
MPU_InitStruct.AccessPermission = MPU_REGION_FULL_ACCESS;
MPU_InitStruct.IsBufferable = MPU_ACCESS_NOT_BUFFERABLE;
MPU_InitStruct.IsCacheable = MPU_ACCESS_NOT_CACHEABLE;
MPU_InitStruct.IsShareable = MPU_ACCESS_NOT_SHAREABLE;
MPU_InitStruct.Number = MPU_REGION_NUMBER0;
MPU_InitStruct.TypeExtField = MPU_TEX_LEVEL1;
MPU_InitStruct.SubRegionDisable = 0x00;
MPU_InitStruct.DisableExec = MPU_INSTRUCTION_ACCESS_ENABLE;
HAL_MPU_ConfigRegion(&MPU_InitStruct);
- 第5步:初始化QSPI。
/* 针对不同的应用程序,添加需要的底层驱动模块初始化函数 */
bsp_InitQSPI_W25Q256(); /* 配置SPI总线 */
- 第6步:QSPI Flash驱动主要用到HAL库的SPI驱动文件,简单省事些可以添加所有HAL库C源文件进来。
- 第7步:应用方法看本章节配套例子即可。
79.7 实验例程设计框架
通过程序设计框架,让大家先对配套例程有一个全面的认识,然后再理解细节,本次实验例程的设计框架如下:
第1阶段,上电启动阶段:
- 这部分在第14章进行了详细说明。
第2阶段,进入main函数:
- 第1部分,硬件初始化,主要是MPU,Cache,HAL库,系统时钟,滴答定时器和LED。
- 第2部分,应用程序设计部分,实现QSPI Flash的查询和MDMA方式操作。
79.8 实验例程说明(MDK)
配套例子:
V7-029_QSPI读写例程,四线DMA方式,读每秒48MB(V1.1)
V7-059_QSPI读写例程,查询方式
实验目的:
- 学习QSPI Flash的读写测试例程
实验操作:
- 支持以下7个功能,用户通过电脑端串口软件发送数字1-6给开发板即可
- printf("请选择操作命令:\r\n");
- printf("【1 - 读QSPI Flash, 地址:0x%X,长度:%d字节】\r\n", TEST_ADDR, TEST_SIZE);
- printf("【2 - 写QSPI Flash, 地址:0x%X,长度:%d字节】\r\n", TEST_ADDR, TEST_SIZE);
- printf("【3 - 写QSPI Flash前10KB空间, 全0x55】\r\n");
- printf("【4 - 读整个串行Flash, 测试读速度】\r\n");
- printf("【Z - 读取前1K,地址自动减少】\r\n");
- printf("【X - 读取后1K,地址自动增加】\r\n");
- printf("【Y - 擦除整个串行Flash,整片32MB擦除大概300秒左右】\r\n");
- printf("其他任意键 - 显示命令提示\r\n");
上电后串口打印的信息:
波特率 115200,数据位 8,奇偶校验位无,停止位 1。
程序设计:
系统栈大小分配:
RAM****空间用的DTCM:
硬件外设初始化
硬件外设的初始化是在 bsp.c 文件实现:
/*
*********************************************************************************************************
* 函 数 名: bsp_Init
* 功能说明: 初始化所有的硬件设备。该函数配置CPU寄存器和外设的寄存器并初始化一些全局变量。只需要调用一次
* 形 参:无
* 返 回 值: 无
*********************************************************************************************************
*/
void bsp_Init(void)
{
/* 配置MPU */
MPU_Config();
/* 使能L1 Cache */
CPU_CACHE_Enable();
/*
STM32H7xx HAL 库初始化,此时系统用的还是H7自带的64MHz,HSI时钟:
- 调用函数HAL_InitTick,初始化滴答时钟中断1ms。
- 设置NVIV优先级分组为4。
*/
HAL_Init();
/*
配置系统时钟到400MHz
- 切换使用HSE。
- 此函数会更新全局变量SystemCoreClock,并重新配置HAL_InitTick。
*/
SystemClock_Config();
/*
Event Recorder:
- 可用于代码执行时间测量,MDK5.25及其以上版本才支持,IAR不支持。
- 默认不开启,如果要使能此选项,务必看V7开发板用户手册第xx章
*/
#if Enable_EventRecorder == 1
/* 初始化EventRecorder并开启 */
EventRecorderInitialize(EventRecordAll, 1U);
EventRecorderStart();
#endif
bsp_InitDWT(); /* 初始化DWT时钟周期计数器 */
bsp_InitKey(); /* 按键初始化,要放在滴答定时器之前,因为按钮检测是通过滴答定时器扫描 */
bsp_InitTimer(); /* 初始化滴答定时器 */
bsp_InitLPUart(); /* 初始化串口 */
bsp_InitExtIO(); /* 初始化FMC总线74HC574扩展IO. 必须在 bsp_InitLed()前执行 */
bsp_InitLed(); /* 初始化LED */
bsp_InitExtSDRAM(); /* 初始化SDRAM */
/* 针对不同的应用程序,添加需要的底层驱动模块初始化函数 */
bsp_InitQSPI_W25Q256(); /* 配置SPI总线 */}
MPU****配置和Cache配置:
数据Cache和指令Cache都开启。配置了AXI SRAM区(本例子未用到AXI SRAM)和FMC的扩展IO区。
/*
*********************************************************************************************************
* 函 数 名: MPU_Config
* 功能说明: 配置MPU
* 形 参: 无
* 返 回 值: 无
*********************************************************************************************************
*/
static void MPU_Config( void )
{
MPU_Region_InitTypeDef MPU_InitStruct;
/* 禁止 MPU */
HAL_MPU_Disable();
#if 0
/* 配置AXI SRAM的MPU属性为Write back, Read allocate,Write allocate */
MPU_InitStruct.Enable = MPU_REGION_ENABLE;
MPU_InitStruct.BaseAddress = 0x24000000;
MPU_InitStruct.Size = MPU_REGION_SIZE_512KB;
MPU_InitStruct.AccessPermission = MPU_REGION_FULL_ACCESS;
MPU_InitStruct.IsBufferable = MPU_ACCESS_BUFFERABLE;
MPU_InitStruct.IsCacheable = MPU_ACCESS_CACHEABLE;
MPU_InitStruct.IsShareable = MPU_ACCESS_NOT_SHAREABLE;
MPU_InitStruct.Number = MPU_REGION_NUMBER0;
MPU_InitStruct.TypeExtField = MPU_TEX_LEVEL1;
MPU_InitStruct.SubRegionDisable = 0x00;
MPU_InitStruct.DisableExec = MPU_INSTRUCTION_ACCESS_ENABLE;
HAL_MPU_ConfigRegion(&MPU_InitStruct);
#else
/* 配置AXI SRAM的MPU属性为NORMAL, NO Read allocate,NO Write allocate */
MPU_InitStruct.Enable = MPU_REGION_ENABLE;
MPU_InitStruct.BaseAddress = 0x24000000;
MPU_InitStruct.Size = MPU_REGION_SIZE_512KB;
MPU_InitStruct.AccessPermission = MPU_REGION_FULL_ACCESS;
MPU_InitStruct.IsBufferable = MPU_ACCESS_NOT_BUFFERABLE;
MPU_InitStruct.IsCacheable = MPU_ACCESS_NOT_CACHEABLE;
MPU_InitStruct.IsShareable = MPU_ACCESS_NOT_SHAREABLE;
MPU_InitStruct.Number = MPU_REGION_NUMBER0;
MPU_InitStruct.TypeExtField = MPU_TEX_LEVEL1;
MPU_InitStruct.SubRegionDisable = 0x00;
MPU_InitStruct.DisableExec = MPU_INSTRUCTION_ACCESS_ENABLE;
HAL_MPU_ConfigRegion(&MPU_InitStruct);
#endif
/* 配置FMC扩展IO的MPU属性为Device或者Strongly Ordered */
MPU_InitStruct.Enable = MPU_REGION_ENABLE;
MPU_InitStruct.BaseAddress = 0x60000000;
MPU_InitStruct.Size = ARM_MPU_REGION_SIZE_64KB;
MPU_InitStruct.AccessPermission = MPU_REGION_FULL_ACCESS;
MPU_InitStruct.IsBufferable = MPU_ACCESS_BUFFERABLE;
MPU_InitStruct.IsCacheable = MPU_ACCESS_NOT_CACHEABLE;
MPU_InitStruct.IsShareable = MPU_ACCESS_NOT_SHAREABLE;
MPU_InitStruct.Number = MPU_REGION_NUMBER1;
MPU_InitStruct.TypeExtField = MPU_TEX_LEVEL0;
MPU_InitStruct.SubRegionDisable = 0x00;
MPU_InitStruct.DisableExec = MPU_INSTRUCTION_ACCESS_ENABLE;
HAL_MPU_ConfigRegion(&MPU_InitStruct);
/*使能 MPU */
HAL_MPU_Enable(MPU_PRIVILEGED_DEFAULT);
}
/*
*********************************************************************************************************
* 函 数 名: CPU_CACHE_Enable
* 功能说明: 使能L1 Cache
* 形 参: 无
* 返 回 值: 无
*********************************************************************************************************
*/
static void CPU_CACHE_Enable(void)
{
/* 使能 I-Cache */
SCB_EnableICache();
/* 使能 D-Cache */
SCB_EnableDCache();
}
每10ms调用一次按键处理:
按键处理是在滴答定时器中断里面实现,每10ms执行一次检测。
/*
*********************************************************************************************************
* 函 数 名: bsp_RunPer10ms
* 功能说明: 该函数每隔10ms被Systick中断调用1次。详见 bsp_timer.c的定时中断服务程序。一些处理时间要求
* 不严格的任务可以放在此函数。比如:按键扫描、蜂鸣器鸣叫控制等。
* 形 参: 无
* 返 回 值: 无
*********************************************************************************************************
*/
void bsp_RunPer10ms(void)
{
bsp_KeyScan10ms();
}
主功能:
主程序实现如下操作:
- 启动一个自动重装软件定时器,每100ms翻转一次LED2。
- 支持以下7个功能,用户通过电脑端串口软件发送命令给开发板即可
- printf("【1 - 读QSPI Flash, 地址:0x%X,长度:%d字节】\r\n", TEST_ADDR, TEST_SIZE);
- printf("【2 - 写QSPI Flash, 地址:0x%X,长度:%d字节】\r\n", TEST_ADDR, TEST_SIZE);
- printf("【3 - 写QSPI Flash前10KB空间, 全0x55】\r\n");
- printf("【4 - 读整个串行Flash, 测试读速度】\r\n");
- printf("【Z - 读取前1K,地址自动减少】\r\n");
- printf("【X - 读取后1K,地址自动增加】\r\n");
- printf("【Y - 擦除整个串行Flash,整片32MB擦除大概300秒左右】\r\n");
- printf("其他任意键 - 显示命令提示\r\n");
/*
*********************************************************************************************************
* 函 数 名: DemoSpiFlash
* 功能说明: QSPI读写例程
* 形 参:无
* 返 回 值: 无
*********************************************************************************************************
*/
void DemoSpiFlash(void)
{
uint8_t cmd;
uint32_t uiReadPageNo = 0, id;
/* 检测串行Flash OK */
id = QSPI_ReadID();
printf("检测到串行Flash, ID = %08X, 型号: WM25Q256JV\r\n", id);
printf(" 容量 : 32M字节, 扇区大小 : 4096字节, 页大小:256字节\r\n");
sfDispMenu(); /* 打印命令提示 */
bsp_StartAutoTimer(0, 200); /* 启动1个200ms的自动重装的定时器,软件定时器0 */
while(1)
{
bsp_Idle(); /* 这个函数在bsp.c文件。用户可以修改这个函数实现CPU休眠和喂狗 */
/* 判断软件定时器0是否超时 */
if(bsp_CheckTimer(0))
{
/* 每隔200ms 进来一次 */
bsp_LedToggle(2);
}
if (comGetChar(COM1, &cmd)) /* 从串口读入一个字符(非阻塞方式) */
{
switch (cmd)
{
case '1':
printf("\r\n【1 - 读QSPI Flash, 地址:0x%X ,长度:%d字节】\r\n", TEST_ADDR, TEST_SIZE);
sfReadTest(); /* 读串行Flash数据,并打印出来数据内容 */
break;
case '2':
printf("\r\n【2 - 写QSPFlash, 地址:0x%X,长度:%d字节】\r\n", TEST_ADDR, TEST_SIZE);
sfWriteTest(); /* 写串行Flash数据,并打印写入速度 */
break;
case '3':
printf("\r\n【3 - 写QSPI Flash前10KB空间, 全0x55】\r\n");
sfWriteAll(0x55);/* 擦除串行Flash数据,实际上就是写入全0xFF */
break;
case '4':
printf("\r\n【4 - 读整个QSPI Flash, %dM字节】\r\n", QSPI_FLASH_SIZES/(1024*1024));
sfTestReadSpeed(); /* 读整个串行Flash数据,测试速度 */
break;
case 'y':
case 'Y':
printf("\r\n【Y - 擦除整个QSPI Flash】\r\n");
printf("整个Flash擦除完毕大概需要300秒左右,请耐心等待");
sfErase(); /* 擦除串行Flash数据,实际上就是写入全0xFF */
break;
case 'z':
case 'Z': /* 读取前1K */
if (uiReadPageNo > 0)
{
uiReadPageNo--;
}
else
{
printf("已经是最前\r\n");
}
sfViewData(uiReadPageNo * 1024);
break;
case 'x':
case 'X': /* 读取后1K */
if (uiReadPageNo < QSPI_FLASH_SIZES / 1024 - 1)
{
uiReadPageNo++;
}
else
{
printf("已经是最后\r\n");
}
sfViewData(uiReadPageNo * 1024);
break;
default:
sfDispMenu(); /* 无效命令,重新打印命令提示 */
break;
**收集整理了一份《2024年最新物联网嵌入式全套学习资料》,初衷也很简单,就是希望能够帮助到想自学提升的朋友。**


**[如果你需要这些资料,可以戳这里获取](https://gitee.com/vip204888)**
**一个人可以走的很快,但一群人才能走的更远!不论你是正从事IT行业的老鸟或是对IT行业感兴趣的新人**
**都欢迎加入我们的的圈子(技术交流、学习资源、职场吐槽、大厂内推、面试辅导),让我们一起学习成长!**