小程序预览文件

839 阅读1分钟
1.下载预览文件;

src是网络的PPT链接;wx.openDocument的文件只能是临时文件,所以需要先用wx.downloadFile下载得到一个临时文件,再用wx.openDocument预览打开这个临时文件;
wx.openDocument会是一个新页面打开文件;想要显示右上角的菜单,需要showMenu设置为true;右上角菜单可以做下面这些操作;
1725506381470.png
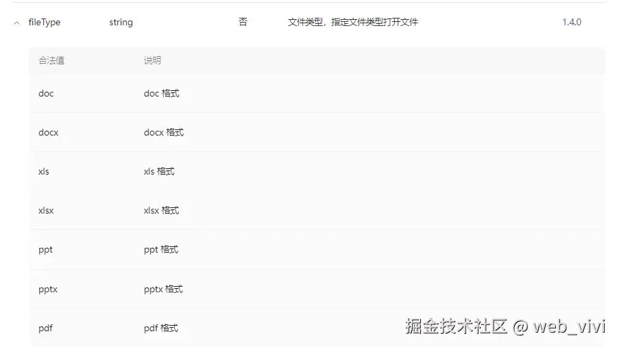
wx.openDocument这里fileType这个是文件类型,可以预览下面这些类型;
但是PC端不支持wx.openDocument打开文档
1725505831285.png

downLoad(src) {			
    let _that = this;    
    wx.downloadFile({
        url: src,       
        success: function(res) {
            wx.openDocument({
                    filePath:res.tempFilePath, //临时文件
                    fileType: 'pptx',
                    showMenu: true,
                    success: function(res) {
                            console.log(res);
                    }
            });						
        },
        fail(res) {	
            console.log("fail",res)
            uni.showToast({
                    title: res.errMsg,
                    duration: 5000
            });
        }
})
},

这种方式有一个问题,就是打开的文件名是很长一段的临时文件名; 1725506092549.png

2.解决文件名;

在wx.downloadFile添加filePath(指定文件下载后存储的路径,自定义存储本地的路径); decodeURIComponent(src)是转义src的中文;
wx.openDocument里面这个filePath就需要用指定的文件路径

downLoad(src) {
let file = this.getFilePathName(decodeURIComponent(src));
console.log(file); //会打印最后一个/后面的文件名称,比如我的链接是https://www.wenjian.com/姐姐们.pptx;就会打印姐姐们.pptx;		
let _that = this;
wx.downloadFile({
        url: src,
        filePath:wx.env.USER_DATA_PATH+'/'+file,
        success: function(res) {
                wx.openDocument({
                    filePath: res.filePath,//指定的文件路径
                    fileType: 'pptx',
                    showMenu: true,
                    success: function(res) {
                            console.log(res);
                    }
                });						
        },
        fail(res) {	
                console.log("fail",res)
                uni.showToast({
                        title: res.errMsg,
                        duration: 5000
                });
        }
})
},
getFilePathName(path) {
        let pos1 = path.lastIndexOf('/');
        let pos2 = path.lastIndexOf('\\');
        let position = Math.max(pos1,pos2);
        console.log(position);
        if(position<0) return path;
        else return path.substring(position+1);
}

处理结果:
1725506652506.png

3.在电脑端预览文件;

这个官方显示是保存文件系统的文件到用户磁盘,仅在 PC 端支持;
但是其实只有预览功能,而且只能预览,不能显示右上角的菜单;

downLoad(src) {  
    wx.saveFileToDisk({
        filePath: src,
        success: function(res) {
                console.log(res);
        }
    })
 };