建筑工程项目管理系统-计算机毕设Java|springboot实战项目

70 阅读4分钟

🍊作者:计算机毕设匠心工作室 🍊简介:毕业后就一直专业从事计算机软件程序开发,至今也有8年工作经验。擅长Java、Python、微信小程序、安卓、大数据、PHP、.NET|C#、Golang等。 擅长:按照需求定制化开发项目、 源码、对代码进行完整讲解、文档撰写、ppt制作。 🍊心愿:点赞 👍 收藏 ⭐评论 📝 👇🏻 精彩专栏推荐订阅 👇🏻 不然下次找不到哟~

Java实战项目

Python实战项目

微信小程序|安卓实战项目

大数据实战项目

PHP|C#.NET|Golang实战项目

🍅 ↓↓文末获取源码联系↓↓🍅

建筑工程项目管理系统-选题背景

随着经济的快速发展和城市化进程的加速,建筑工程项目日益增多,其管理的复杂性也随之增加。传统的建筑工程项目管理方法已经难以满足现代建筑行业的需求,特别是在资源配置、进度控制、质量监管等方面。因此,开发一个基于SpringBoot的建筑工程项目管理系统显得尤为必要,它能够利用现代信息技术提高项目管理的效率和准确性。

尽管市场上存在一些建筑工程项目管理软件,但它们往往存在功能不完善、用户体验差、数据集成度低等问题。这些问题导致了项目管理过程中的信息孤岛现象,影响了决策的及时性和准确性。此外,现有系统在应对大型复杂项目时,常常表现出性能瓶颈,无法满足日益增长的业务需求。

本课题旨在开发一个高效、可靠、易于使用的基于SpringBoot的建筑工程项目管理系统。该系统将整合项目管理的各个方面,包括但不限于资源规划、进度跟踪、成本控制和质量保证。理论意义上,本课题将推动项目管理理论的发展,特别是在信息技术与传统建筑行业的融合方面。实际意义上,该系统将帮助建筑企业提升项目管理水平,降低成本,提高工程质量和客户满意度。

建筑工程项目管理系统-技术选型

开发语言:Java 数据库:MySQL 系统架构:B/S 后端框架:Spring Boot/SSM(Spring+Spring MVC+Mybatis) 前端:Vue+ElementUI 开发工具:IDEA

建筑工程项目管理系统-视频展示

建筑工程项目管理系统-视频

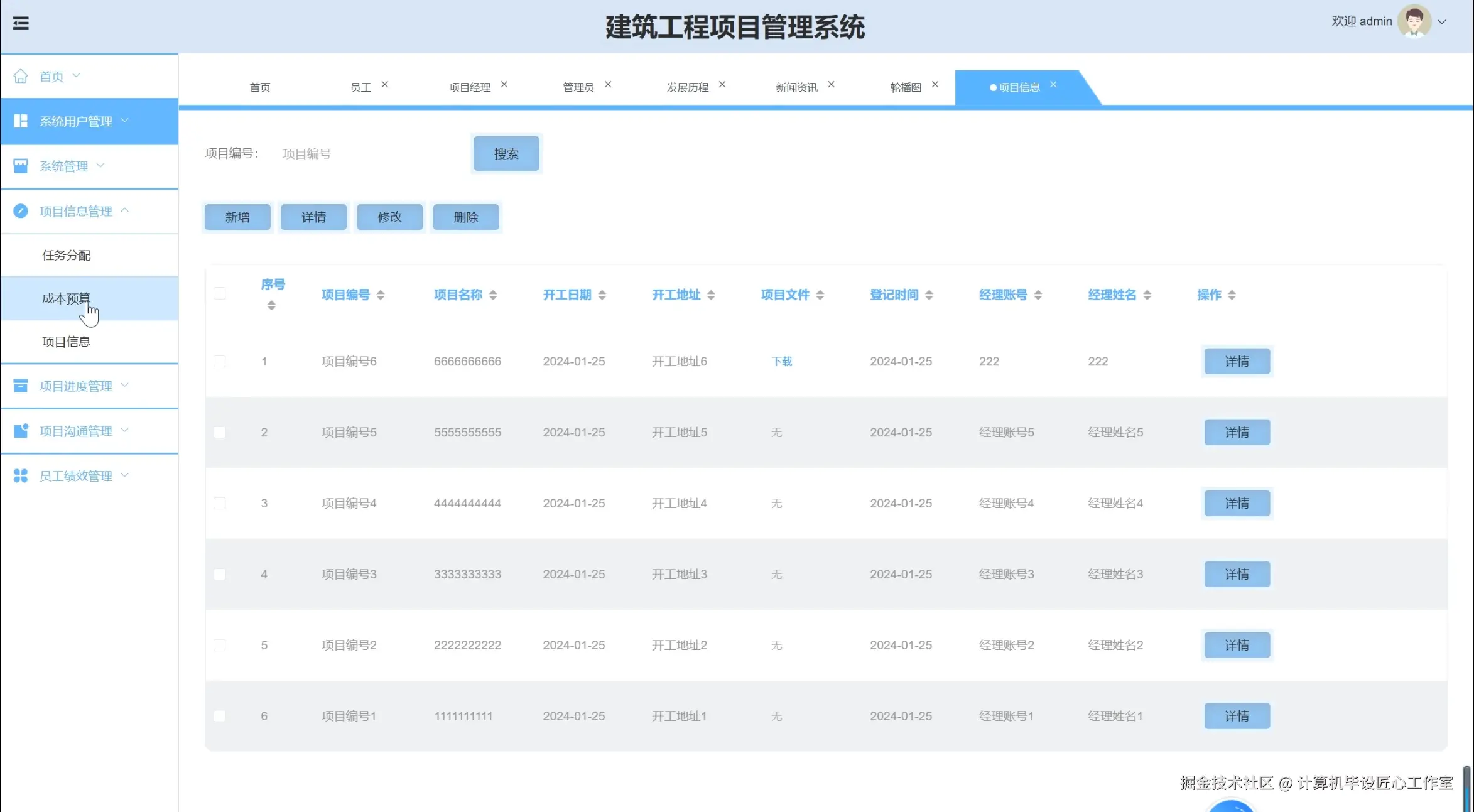
建筑工程项目管理系统-图片展示

封面.png

0.png

1.png

2.png

3.png

4.png

5.png

建筑工程项目管理系统-代码展示

import com.baomidou.mybatisplus.core.conditions.query.QueryWrapper;
import com.baomidou.mybatisplus.extension.plugins.pagination.Page;
import org.springframework.beans.factory.annotation.Autowired;
import org.springframework.web.bind.annotation.*;
import your.package.name.ProjectService; // 替换为你的项目服务接口的包名
import your.package.name.entity.Project; // 替换为你的项目实体类的包名
import your.package.name.vo.ProjectQueryVO; // 替换为你的项目查询视图对象的包名

import java.util.List;

@RestController
@RequestMapping("/projects")
public class ProjectController {

    @Autowired
    private ProjectService projectService;

    // 获取所有项目列表
    @GetMapping
    public List<Project> listAllProjects() {
        return projectService.listAll();
    }

    // 分页获取项目列表
    @GetMapping("/page")
    public Page<Project> listProjectsByPage(
            @RequestParam(defaultValue = "1") Integer current,
            @RequestParam(defaultValue = "10") Integer size) {
        Page<Project> page = new Page<>(current, size);
        return projectService.page(page);
    }

    // 根据条件查询项目
    @GetMapping("/search")
    public List<Project> searchProjects(@RequestBody ProjectQueryVO queryVO) {
        QueryWrapper<Project> queryWrapper = new QueryWrapper<>();
        if (queryVO.getName() != null) {
            queryWrapper.like("name", queryVO.getName());
        }
        if (queryVO.getStatus() != null) {
            queryWrapper.eq("status", queryVO.getStatus());
        }
        // 可以继续添加其他条件
        return projectService.list(queryWrapper);
    }

    // 创建新项目
    @PostMapping
    public Project createProject(@RequestBody Project project) {
        return projectService.saveProject(project);
    }

    // 更新项目信息
    @PutMapping("/{id}")
    public Project updateProject(@PathVariable Long id, @RequestBody Project project) {
        project.setId(id);
        projectService.updateProject(project);
        return project;
    }

    // 删除项目
    @DeleteMapping("/{id}")
    public void deleteProject(@PathVariable Long id) {
        projectService.deleteProject(id);
    }
}

建筑工程项目管理系统-文档展示

文档.png

建筑工程项目管理系统-结语

在本课题的探索过程中,我们深入分析了建筑工程项目管理的现状和挑战,并提出了基于SpringBoot的解决方案。我们相信,这一系统将为建筑行业带来革命性的变化,提高项目管理的效率和效果。

我们诚挚地邀请各位同学、同行和行业专家,通过一键三连(点赞、分享、收藏)来支持我们的研究,并在评论区留下您宝贵的意见和建议。您的每一次互动都是对我们工作的肯定,也是推动我们不断前进的动力。让我们共同探讨和交流,为建筑工程项目管理领域的发展贡献智慧和力量。

👇🏻 精彩专栏推荐订阅 👇🏻 不然下次找不到哟~

Java实战项目

Python实战项目

微信小程序|安卓实战项目

大数据实战项目

PHP|C#.NET|Golang实战项目

🍅 获取源码联系🍅