Python数据分析实战 —— 天猫订单数据

244 阅读15分钟

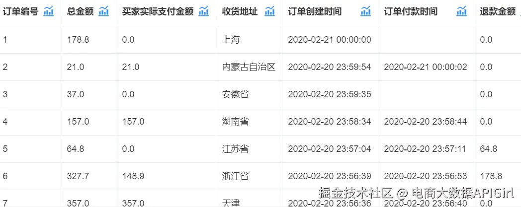
数据集简介

本数据集包含以下字段

['订单编号', '总金额', '买家实际支付金额', '收货地址', '订单创建时间', '订单付款时间 ', '退款金额']

7个字段说明

(1)订单编号:订单编号;

(2)总金额:订单总金额;

(3)买家实际支付金额:总金额 - 退款金额(在已付款的情况下)。金额为0(在未付款的情况下);

(4)收货地址:各个省份;

(5)订单创建时间:下单时间;

(6)订单付款时间:付款时间;

(7)退款金额:付款后申请退款的金额。如无付过款,退款金额为0。

数据概览:

图片

3、相关库、函数和数据的导入

# 相关库和函数的导入
import numpy as npfrom sklearn import metricsimport mathimport copyimport pandas as pd          import scipy as spimport matplotlib.pyplot as plt               # 导入常用的基本库
import datetime as date                                 # 导入datetime库import seaborn as sns                                   # 导入seaborn库,用于数据可视化from IPython.display import display                     # 载入数据查看时需要使用的函数from sklearn.model_selection import train_test_split    # 导入数据集划分时需要使用的函数from sklearn.metrics import confusion_matrix            # 导入生成混淆矩阵的函数from sklearn.preprocessing import LabelEncoder          # 导入分类变量编码时需要使用的函数from sklearn.metrics import classification_report       # 导入分类结果评价时要用到的函数
from sklearn.discriminant_analysis import LinearDiscriminantAnalysis     # 导入LDA判别时需要使用的函数from sklearn.naive_bayes import MultinomialNB           # 导入朴素贝叶斯时需要使用的额函数from sklearn.neighbors import KNeighborsClassifier      # 导入KNN判别时需要使用的函数from sklearn.tree import DecisionTreeClassifier         # 导入决策树函数from sklearn.neural_network import MLPClassifier        # 导入神经网络函数from sklearn import svm                                 # 导入支持向量机函数
from sklearn.model_selection import GridSearchCV        # 导入模型优化方法中的网格搜索法需要用到的函数from sklearn.cross_validation import KFold              # 导入模型评估时使用的函数
# 数据导入
dt = pd.read_csv('D:资料/数据分析/数据分析与数据挖掘/实战演练/5(tmall_order_report)/tmall_order_report.csv',encoding='gbk',engine='python')

4、数据检查与清洗

首先,查看一下数据集的变量类型:

dt.dtypes                                               # 查看数据集有哪些变量

图片

然后,将变量中右侧的空格去除(以免影响后续调用变量),并进行重复值和缺失值检查:

dt.columns = dt.columns.str.rstrip()                    # 去除列名右侧的空格dt.duplicated().sum()                                   # 检查数据是否有重复值,发现并没有重复值display(sum(dt.isnull().sum()))                         # 检查数据集是否有缺失值

图片

检查出来有缺失值(约占数据总量的12-15%),考虑原数据中是否是因为“订单付款时间”这一列存在缺失值而导致产生这样的检查结果:

col = dt.columns.values.tolist()                        # 提取数据集中的所有列变量的名称col.remove('订单付款时间')                               # 将订单付款时间这一列去除display(sum(dt[col].isnull().sum()))                    # 再次检查是否有缺失值,发现并没有缺失值,也就是缺失值均来自“订单付款时间”这一列

图片

结果表明,缺失值仅来自“订单付款时间”这一列。接下来就是处理缺失值,处理的思路可以是先计算出各订单付款时间和下单时间的平均值,然后用下单时间 + 平均值,作为缺失值的填补对象:

c = np.array(['订单创建时间','订单付款时间'])             # 提取订单创建时间、付款时间这两列的列名for i in c:    dt[i] = pd.to_datetime(dt[i])                       # 将订单创建时间、付款时间由object类型转为datetime类型,方便运算for i in range(0,dt.shape[0]):    if (dt['订单付款时间'].iloc[i] < dt['订单创建时间'].iloc[i]) == True:        dt['订单付款时间'].iloc[i] = dt['订单付款时间'].iloc[i] + date.timedelta(days=1)     # 将订单付款时间 < 订单创建时间的时间数据往后加1天(因为原数据中没有考虑日期差异情况) mu = np.mean(dt['订单付款时间']-dt['订单创建时间'])       # 计算时间差的均值,用于之后进行缺失值替换for i in range(0,dt.shape[0]):    if pd.isnull(dt['订单付款时间'].iloc[i]) == True:    # 进行缺失值填补        dt['订单付款时间'].iloc[i] = dt['订单创建时间'].iloc[i] + mu

在填补完成之后,再次检查缺失值和重复值的情况:

display(sum(dt.isnull().sum()))                         # 再次检查数据集是否有缺失值,发现已经处理完了,但是还要检查是否增加正确display(dt.duplicated().sum())                          # 再次检查数据是否有重复值,发现并没有重复值,发现也没有重复值

图片

结果显示已经没有缺失值和重复值了。

5、描述性分析

首先,对订单总金额进行描述性分析:

display(dt['总金额'].describe())                        # 查看订单总金额的情况,发现最大的订单价格达到了188320元,最小的则只有1元,平均订单价为107元左右

图片

从描述统计的结果中可以看到,最大的订单价格达到了188320元,最小的只有1元,平均订单价在107元左右,中位数为1元,说明应该是一个左偏分布,即大部分订单的价格应该都不高。然后查看买家实际支付金额为0(支付未完成)的订单比例:

sum(dt['买家实际支付金额']==0) / dt.shape[0]             # 查看买家实际支付金额为0(也就是支付未完成)的订单比例,占比约为32.3%

图片

从结果中可以看到,大概有32.3%的买家未完成支付,这一比例还是比较高的。再看看订单付款时间相比于订单创建时间的延迟情况:

display((dt['订单付款时间']-dt['订单创建时间']).describe())     # 查看订单付款时间相比于订单创建时间的延迟情况,发现最慢的支付延迟了接近1天,而大部分订单在10分钟内就完成了支付

图片

从中可以看到,最慢的支付延迟了接近1天,而大部分订单在10分钟内就完成了支付。最后,来对收货地址情况进行描述性分析:

siz = dt.groupby(dt['收货地址']).size()                 # 对收货地址进行分组统计idx_sort = np.argsort(-siz)                            # 对分组统计的结果进行降序排序display(siz[idx_sort].head())                          # 查看降序排序的结果的前5名,发现收货地址选择上海、广东、江苏、浙江、北京的最多siz[idx_sort].tail()                                   # 查看降序排序的结果的最后5名,发现收货地址选择湖北、新疆、宁夏、青海和西藏的最少,其中湖北可能受疫情影响所致

图片

从结果中可以看到,收货地址选择上海、广东、江苏、浙江、北京的最多,而选湖北、新疆、宁夏、青海和西藏的最少,其中湖北可能受疫情影响所致。

6、建模预处理

首先,进行特征构建,并生成用于建模的数据集,处理过程如下:

d1 = (dt['订单付款时间']-dt['订单创建时间'])            # 输出订单付款和创建之间的时间差,作为一个新变量d1 = (d1 / np.timedelta64(1, 's')).astype(int)        # 将时间差的格式进行转换,转换为按秒计数,并把格式变为int类型le_train = LabelEncoder()                             # 使用从sklearn.preprocessing中import的LabelEncoder对分类数据进行编码,以便于后续使用交叉验证建模 le_train.fit(dt['收货地址'].tolist())                  # 对模型进行训练d2 = le_train.transform(dt['收货地址'].tolist())       # 转化数据,作为第2个变量d3 = np.zeros(dt.shape[0])                            # 构建一个全为0的数组for i in range(0,dt.shape[0]):    if (dt['总金额'].iloc[i]-dt['买家实际支付金额'].iloc[i]) == dt['退款金额'].iloc[i]:        d3[i] = 1                                     # 生成一个新变量(类别变量),当买家有支付(无论退不退款)时为1,没有支付时为0(无支付时上述等式不成立,实际支付金额和退款金额均为0),表明支付的情况dt_use = np.vstack((d1,d2,d3)).T                      # 生成用于建模分析的数据集,np.vstack用于数组的垂直连接   

然后是对数据集进行划分,形成训练集和测试集,为之后的建模做准备:

x_train,x_test, y_train, y_test = train_test_split(dt_use[:,0:2],dt_use[:,2:3],test_size=0.25, random_state=0)     # 使用从sklearn.model_selection中import的train_test_split函数进行训练集、测试集的划分print('训练集的自变量数据的维度',x_train.shape)print('训练集的因变量量数据的维度',x_test.shape)print('测试集的自变量数据的维度',y_train.shape)          print('测试集的因变量数据的维度',y_test.shape)          # 查看数据集划分后的维度情况

图片

7、数据建模

首先,构建初始的模型,这里完成的是分类预测任务,选择经典的几个模型,分别是 SVM、LDA、朴素贝叶斯NB、KNN判别、决策树Detree和神经网络Network:

models = {}                                           # 构建一个models集合models['SVM'] = svm.SVC()                             # 支持向量机模型models['LDA'] = LinearDiscriminantAnalysis()          # LDA判别模型models['NB'] = MultinomialNB()                        # 朴素贝叶斯模型models['KNN'] = KNeighborsClassifier()                # KNN判别模型models['Detree'] = DecisionTreeClassifier()           # 决策树模型models['Network'] = MLPClassifier()                   # 神经网络模型

然后,对模型进行训练和分析:

target_names = ['有支付','没有支付']                   # 生成类别的名称for key in models:    models[key].fit(x_train,y_train)                  # 模型训练    display(confusion_matrix(y_test,models[key].predict(x_test)))                                               # 对y_test进行预测,输出混淆矩阵    print(classification_report(y_test,models[key].predict(x_test),target_names=target_names))                  # 对y_test进行预测,输出预测的分类评价    print('\n')    

SVM模型的混淆矩阵和准确率:

图片

LDA模型的混淆矩阵和准确率:

图片

朴素贝叶斯NB模型的混淆矩阵和准确率:

图片

KNN判别模型的混淆矩阵和准确率:

图片

决策树Detree模型的混淆矩阵和准确率:

图片

神经网络Network模型的混淆矩阵和准确率:

图片

从上述结果中可以看到,SVM和KNN的准确率较高。下面对朴素贝叶斯NB模型进行调参,看是否能改善其预测准确率:

param_grid_nb = {'alpha':[0,0.1,0.2,0.3,0.4,0.5,0.6,0.7,0.8,0.9,1.0]}    # 设定贝叶斯模型中不同alpha值model_nb_ty = MultinomialNB()                          # 设定贝叶斯的模型kfold = KFold(106)                                   # 采用10折交叉验证,初始随机起点为6grid = GridSearchCV(estimator=model_nb_ty,                     param_grid=param_grid_nb, scoring='neg_mean_squared_error', cv=kfold)         # 设置网格搜索的模型grid_result = grid.fit(x_train, y_train)               # 利用构建好的模型对数据集进行训练,搜索最优的k值print('最优:%s 使用%s' % (grid_result.best_score_, grid_result.best_params_))                     # 输出最优的参数情况nb_model = MultinomialNB(alpha=0)                      # 根据模型调参的结果,重新设定朴素贝叶斯模型nb_model.fit(x_train,y_train)                          # 模型训练display(confusion_matrix(y_test,nb_model.predict(x_test)))                                        # 对y_test进行预测,输出混淆矩阵print(classification_report(y_test,nb_model.predict(x_test),target_names=target_names))           # 对y_test进行预测,输出预测的分类评价,发现并没有什么改进

图片

调参后的结果和调参前并没有多少改善,说明NB模型在本次预测中受限于数据情况,而不是模型参数。

最后放上全过程的代码,供大家学习使用

### 数据分析前期准备工作 ###
# 相关库和函数的导入
import numpy as npfrom sklearn import metricsimport mathimport copyimport pandas as pd          import scipy as spimport matplotlib.pyplot as plt               # 导入常用的基本库
import datetime as date                                 # 导入datetime库import seaborn as sns                                   # 导入seaborn库,用于数据可视化from IPython.display import display                     # 载入数据查看时需要使用的函数from sklearn.model_selection import train_test_split    # 导入数据集划分时需要使用的函数from sklearn.metrics import confusion_matrix            # 导入生成混淆矩阵的函数from sklearn.preprocessing import LabelEncoder          # 导入分类变量编码时需要使用的函数from sklearn.metrics import classification_report       # 导入分类结果评价时要用到的函数  
from sklearn.discriminant_analysis import LinearDiscriminantAnalysis     # 导入LDA判别时需要使用的函数from sklearn.naive_bayes import MultinomialNB           # 导入朴素贝叶斯时需要使用的额函数from sklearn.neighbors import KNeighborsClassifier      # 导入KNN判别时需要使用的函数from sklearn.tree import DecisionTreeClassifier         # 导入决策树函数from sklearn.neural_network import MLPClassifier        # 导入神经网络函数from sklearn import svm                                 # 导入支持向量机函数
from sklearn.model_selection import GridSearchCV        # 导入模型优化方法中的网格搜索法需要用到的函数from sklearn.cross_validation import KFold              # 导入模型评估时使用的函数
# 全局设定
plt.rcParams['font.sans-serif']=['SimHei']              # 设定中文字符的显示设定
# 数据导入
dt = pd.read_csv('D:资料/数据分析/数据分析与数据挖掘/实战演练/5(tmall_order_report)/tmall_order_report.csv',encoding='gbk',engine='python')


### 数据整理与查看 ###
# 数据检查与清洗
dt.dtypes                                               # 查看数据集有哪些变量
dt.columns = dt.columns.str.rstrip()                    # 去除列名右侧的空格
dt.duplicated().sum()                                   # 检查数据是否有重复值,发现并没有重复值
display(sum(dt.isnull().sum()))                         # 检查数据集是否有缺失值
col = dt.columns.values.tolist()                        # 提取数据集中的所有列变量的名称
col.remove('订单付款时间')                               # 将订单付款时间这一列去除
display(sum(dt[col].isnull().sum()))                    # 再次检查是否有缺失值,发现并没有缺失值,也就是缺失值均来自“订单付款时间”这一列
c = np.array(['订单创建时间','订单付款时间'])             # 提取订单创建时间、付款时间这两列的列名
for i in c:    dt[i] = pd.to_datetime(dt[i])                       # 将订单创建时间、付款时间由object类型转为datetime类型,方便运算
for i in range(0,dt.shape[0]):    if (dt['订单付款时间'].iloc[i] < dt['订单创建时间'].iloc[i]) == True:        dt['订单付款时间'].iloc[i] = dt['订单付款时间'].iloc[i] + date.timedelta(days=1)     # 将订单付款时间 < 订单创建时间的时间数据往后加1天(因为原数据中没有考虑日期差异情况) 
mu = np.mean(dt['订单付款时间']-dt['订单创建时间'])       # 计算时间差的均值,用于之后进行缺失值替换
for i in range(0,dt.shape[0]):    if pd.isnull(dt['订单付款时间'].iloc[i]) == True:    # 进行缺失值填补        dt['订单付款时间'].iloc[i] = dt['订单创建时间'].iloc[i] + mu
display(sum(dt.isnull().sum()))                         # 再次检查数据集是否有缺失值,发现已经处理完了,但是还要检查是否增加正确
display(dt.duplicated().sum())                          # 再次检查数据是否有重复值,发现并没有重复值,发现也没有重复值
# 描述性分析
display(dt['总金额'].describe())                        # 查看订单总金额的情况,发现最大的订单价格达到了188320元,最小的则只有1元,平均订单价为107元左右
sum(dt['买家实际支付金额']==0) / dt.shape[0]             # 查看买家实际支付金额为0(也就是支付未完成)的订单比例,占比约为32.3%
display((dt['订单付款时间']-dt['订单创建时间']).describe())     # 查看订单付款时间相比于订单创建时间的延迟情况,发现最慢的支付延迟了接近1天,而大部分订单在10分钟内就完成了支付
siz = dt.groupby(dt['收货地址']).size()                 # 对收货地址进行分组统计idx_sort = np.argsort(-siz)                            # 对分组统计的结果进行降序排序display(siz[idx_sort].head())                          # 查看降序排序的结果的前5名,发现收货地址选择上海、广东、江苏、浙江、北京的最多siz[idx_sort].tail()                                   # 查看降序排序的结果的最后5名,发现收货地址选择湖北、新疆、宁夏、青海和西藏的最少,其中湖北可能受疫情影响所致


### 建模预处理 ###
# 特征构建
d1 = (dt['订单付款时间']-dt['订单创建时间'])            # 输出订单付款和创建之间的时间差,作为一个新变量d1 = (d1 / np.timedelta64(1, 's')).astype(int)        # 将时间差的格式进行转换,转换为按秒计数,并把格式变为int类型
le_train = LabelEncoder()                             # 使用从sklearn.preprocessing中import的LabelEncoder对分类数据进行编码,以便于后续使用交叉验证建模 le_train.fit(dt['收货地址'].tolist())                  # 对模型进行训练d2 = le_train.transform(dt['收货地址'].tolist())       # 转化数据,作为第2个变量
d3 = np.zeros(dt.shape[0])                            # 构建一个全为0的数组
for i in range(0,dt.shape[0]):    if (dt['总金额'].iloc[i]-dt['买家实际支付金额'].iloc[i]) == dt['退款金额'].iloc[i]:        d3[i] = 1                                     # 生成一个新变量(类别变量),当买家有支付(无论退不退款)时为1,没有支付时为0(无支付时上述等式不成立,实际支付金额和退款金额均为0),表明支付的情况
dt_use = np.vstack((d1,d2,d3)).T                      # 生成用于建模分析的数据集,np.vstack用于数组的垂直连接   
# 数据集划分
x_train,x_test, y_train, y_test = train_test_split(dt_use[:,0:2],dt_use[:,2:3],test_size=0.25, random_state=0)     # 使用从sklearn.model_selection中import的train_test_split函数进行训练集、测试集的划分
print('训练集的自变量数据的维度',x_train.shape)print('训练集的因变量量数据的维度',x_test.shape)print('测试集的自变量数据的维度',y_train.shape)          print('测试集的因变量数据的维度',y_test.shape)          # 查看数据集划分后的维度情况


### 数据建模 ###
# 初始模型构建
models = {}                                           # 构建一个models集合
models['SVM'] = svm.SVC()                             # 支持向量机模型
models['LDA'] = LinearDiscriminantAnalysis()          # LDA判别模型
models['NB'] = MultinomialNB()                        # 朴素贝叶斯模型
models['KNN'] = KNeighborsClassifier()                # KNN判别模型
models['Detree'] = DecisionTreeClassifier()           # 决策树模型
models['Network'] = MLPClassifier()                   # 神经网络模型
# 模型训练与分析
target_names = ['有支付','没有支付']                   # 生成类别的名称
for key in models:    models[key].fit(x_train,y_train)                  # 模型训练    display(confusion_matrix(y_test,models[key].predict(x_test)))                                               # 对y_test进行预测,输出混淆矩阵    print(classification_report(y_test,models[key].predict(x_test),target_names=target_names))                  # 对y_test进行预测,输出预测的分类评价    print('\n')    # 模型调参(NB模型)
param_grid_nb = {'alpha':[0,0.1,0.2,0.3,0.4,0.5,0.6,0.7,0.8,0.9,1.0]}    # 设定贝叶斯模型中不同alpha值
model_nb_ty = MultinomialNB()                          # 设定贝叶斯的模型
kfold = KFold(10, 6)                                   # 采用10折交叉验证,初始随机起点为6
grid = GridSearchCV(estimator=model_nb_ty,                     param_grid=param_grid_nb, scoring='neg_mean_squared_error', cv=kfold)         # 设置网格搜索的模型
grid_result = grid.fit(x_train, y_train)               # 利用构建好的模型对数据集进行训练,搜索最优的k值
print('最优:%s 使用%s' % (grid_result.best_score_, grid_result.best_params_))                     # 输出最优的参数情况
nb_model = MultinomialNB(alpha=0)                      # 根据模型调参的结果,重新设定朴素贝叶斯模型
nb_model.fit(x_train,y_train)                          # 模型训练
display(confusion_matrix(y_test,nb_model.predict(x_test)))                                        # 对y_test进行预测,输出混淆矩阵
print(classification_report(y_test,nb_model.predict(x_test),target_names=target_names))           # 对y_test进行预测,输出预测的分类评价,发现并没有什么改进