Java 学成到家项目基础搭建

319 阅读6分钟

一.项目介绍👓

学成到家项目是一个家政服务o2o平台,互联网+家政是继打车、外卖后的又一个风口,创业者众多,比如:58到家,天鹅到家等,o2o(Online To Offline)是将线下商务的机会与互联网的技术结合在一起,让互联网成为线下交易的前台,同时起到推广和成交的作用。

二.项目使用的开发工具版本✔

image.png 转存失败,建议直接上传图片文件 alt="" width="70%" /> > ps:博主使用了云服务器部署docker搭建项目基本开发工具,本地的电脑怕写到后面带不动🤣

三.基本模块

image.png

四.docker安装mysql


1.默认拉取最新版本mysql

docker pull mysql

2.拉取指定版本mysql_5.7

sudo docker pull mysql:5.7

3.在镜像中创建MySQL容器

docker run -d -p 3306:3306 -e MYSQL_ROOT_PASSWORD=123456 --name=mysql --privileged docker.io/mysql:8

image.png

导入MySQL文件

ps:这只是部分sql语句

CREATE DATABASE /*!32312 IF NOT EXISTS*/ `jzo2o-foundations` /*!40100 DEFAULT CHARACTER SET utf8mb4 COLLATE utf8mb4_general_ci */ /*!80016 DEFAULT ENCRYPTION='N' */;

USE `jzo2o-foundations`;

--
-- Table structure for table `city_directory`
--

DROP TABLE IF EXISTS `city_directory`;
/*!40101 SET @saved_cs_client     = @@character_set_client */;
/*!50503 SET character_set_client = utf8mb4 */;
CREATE TABLE `city_directory` (
  `parent_code` varchar(255) CHARACTER SET utf8mb4 COLLATE utf8mb4_0900_ai_ci DEFAULT NULL COMMENT '上级归属',
  `type` int DEFAULT NULL COMMENT '类型,1:省,2:市',
  `city_name` varchar(255) CHARACTER SET utf8mb4 COLLATE utf8mb4_0900_ai_ci DEFAULT NULL COMMENT '城市名称',
  `city_code` varchar(255) CHARACTER SET utf8mb4 COLLATE utf8mb4_0900_ai_ci DEFAULT NULL COMMENT '城市编码',
  `sort_num` int DEFAULT NULL COMMENT '排序字段',
  `pinyin_initial` varchar(10) CHARACTER SET utf8mb4 COLLATE utf8mb4_0900_ai_ci DEFAULT NULL COMMENT '城市名称拼音首字母',
  `id` varchar(64) NOT NULL,
  PRIMARY KEY (`id`)
) ENGINE=InnoDB DEFAULT CHARSET=utf8mb4 COLLATE=utf8mb4_0900_ai_ci ROW_FORMAT=DYNAMIC COMMENT='城市编码表';

image.png

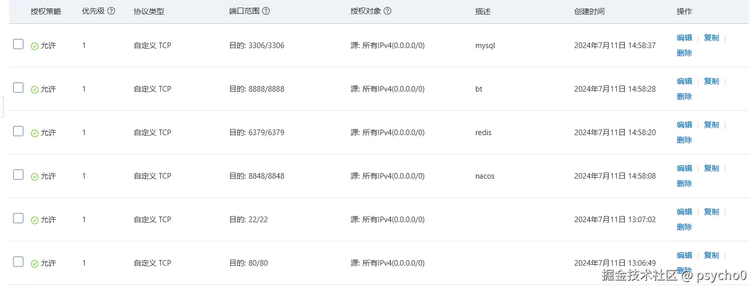
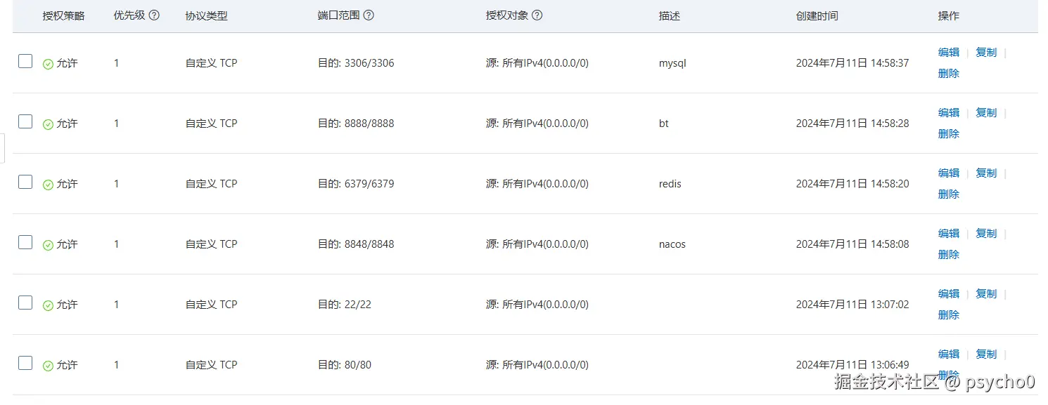
四.如果使用的云服务器记得开启端口

image.png

五. 配置redis环境

启动前需要先创建Redis外部挂载的配置文件 ( /home/redis/conf/redis.conf ) 之所以要先创建 , 是因为Redis本身容器只存在 /etc/redis 目录 , 本身就不创建 redis.conf 文件 当服务器和容器都不存在 redis.conf 文件时, 执行启动命令的时候 docker 会将 redis.conf 作为目录创建 , 这并不是我们想要的结果。

安装参考:blog.csdn.net/BThinker/ar…

# sudo systemctl daemon-reload
# sudo systemctl restart docker
# ## 创建目录
# mkdir -p /opt/redis/conf
# mkdir -p /opt/redis/data
## 创建文件
# touch /opt/redis/conf/redis.conf

创建redis容器

  • –name redis 启动容器的名字
  • -d 后台运行
  • -p 6379:6379 将容器的 6379(后面那个) 端口映射到主机的 6379(前面那个) 端口
  • –restart unless-stopped 容器重启策略
  • -v /home/redis/data:/data 将Redis储存文件夹挂在到主机
  • -v /home/redis/conf/redis.conf:/etc/redis/redis.conf 将配置文件夹挂在到主机
  • -d redis:bullseye 启动哪个版本的 Redis (本地镜像的版本)
  • redis-server /etc/redis/redis.conf Redis 容器中设置 redis-server 每次启动读取 /etc/redis/redis.conf 这个配置为准
  • --appendonly yes 在Redis容器启动redis-server服务器并打开Redis持久化配置
  • \ shell 命令换行
docker run \
-d \
--name redis \
-p 6379:6379 \
--restart unless-stopped \
-v /home/redis/data:/data \
-v /home/redis/conf/redis.conf:/etc/redis/redis.conf \
redis-server /etc/redis/redis.conf \

六.配置nacos

嘿嘿嘿😉 为了偷懒用的宝塔可视化界面,增加nacos容器,记得暴露接口

1.安装脚本

docker run -d --name nacos -p 8848:8848 -e PREFER_HOST_MODE=hostname -e MODE=standalone nacos/nacos-server

2.命令含义

  • -d: 以后台模式运行容器。
  • –name nacos: 为容器指定一个名称,这里为"nacos"。
  • -p 8848:8848: 将容器内的8848端口映射到主机的8848端口,使得在主机上可以通过访问主机的8848端口来访问运行在容器内的Nacos服务器。
  • -e PREFER_HOST_MODE=hostname: 设置环境变量PREFER_HOST_MODE的值为"hostname",这表示Nacos服务器将优先使用主机模式(Host Mode)运行。
  • -e MODE=standalone: 设置环境变量MODE的值为"standalone",这表示以独立模式运行Nacos服务器。
  • nacos/nacos-server: 指定要运行的Docker镜像的名称和标签,这里使用的是Nacos官方提供的Nacos服务器镜像。

3.访问Nacos

  1. 首先你可以通过docker images nacos和docker ps 查看Nacos服务是否安装成功,并且通过docker logs nacos查看Nacos的启动日志 image.png

使用链接访问 Nacos可视化界面:http://127.0.0.0:8848/nacos/#/login

4. 导入配置文件

选择课程资料中“nacos配置文件”目录下的nacos_config_export.zip 进行导入。

导入配置文件后注意修改数据库的 IP 地址、 Redis IP 地址、 RabbitMQ IP 地址等配置信息。

以下是部分配置文件:

  • 数据库配置文件:shared-mysql.yaml
  • Redis配置文件:shared-redis-cluster.yaml
  • XXL-Job配置文件:shared-xxl-job.yaml
  • MQ配置文件:shared-rabbitmq.yaml
  • ES配置文件:shared-es.yaml

当前阶段需要修改shared-mysql.yaml、shared-redis-cluster.yaml中的IP地址为虚拟机的IP地址。

image.png

七.引入项目文件

记得修改maven地址👌

image.png

✍创建网关工程

jzo2o-gateway工程是项目的网关工程,使用Spring Cloud gateway实现,负责请求拦截、请求路由与负载均衡。

jzo2o-gateway创建完成需要注意nacos的ip地址

如果parent maven依赖install 报错,注意如下的问题

1.将jzo2o-mvc里的pom文件,记得注释掉以下的代码,因为此时还没有导入api工程

<!--        <dependency>-->
<!--            <groupId>com.jzo2o</groupId>-->
<!--            <artifactId>jzo2o-api</artifactId>-->
<!--        </dependency>-->

❗❗❗❗后续记得将注释删除

2.将seata服务内的pom修改

因为原pom文件中并没有写父工程的地址,所以会报错

< relativePath>../jzo2o-parent < /relativePath>

<parent>
    <groupId>com.jzo2o</groupId>
    <artifactId>jzo2o-parent</artifactId>
    <version>1.0-SNAPSHOT</version>
    <relativePath>../jzo2o-parent</relativePath>
</parent>
<modelVersion>4.0.0</modelVersion>
<artifactId>jzo2o-seata</artifactId>

3.注释keife4j模块

image.png

八.创建jzo2o-foundations模块

🕵️‍ ps: 运营基础服务工程jzo2o-foundations提供了运营端的接口支持,由于运营基础服务工程在课堂上我们需要开发维护,使用Git管理代码。

注意:前边创建的jzo2o-framework工程和jzo2o-gateway工程代码我们不用开发,所以不需要使用Git去管理代码。

下边我们通过Git去管理jzo2o-foundations,在企业开发中正常的流程如下:📃

1.  先克隆仓库到自己的电脑。

2.  再编辑工程代码

3.  提交代码到本地仓库

4.  将代码推送到远程仓库。


  1. 首先从Git仓库克隆jzo2o-foundations仓库到代码目录。
image.png 2. 输入git仓库地址

image.png

点击:Clone

九.api工程同理

和framework一样需要将api打包jar包上传到maven仓库被其它工程依赖。

接下来将API工程打包jar上传到maven仓库,如下图:

image.png

❗ 后续还要配置jzo2o-foundations的nacos,mysql和redis的地址,需要保证mysql和redis启动成功。

十.安装前端环境

启动成功❗❗❗

image.png