记录一次windows自查行为

70 阅读1分钟

近期发现本地日志出现大量日志

image.png

开始排查

查看进程

image.png

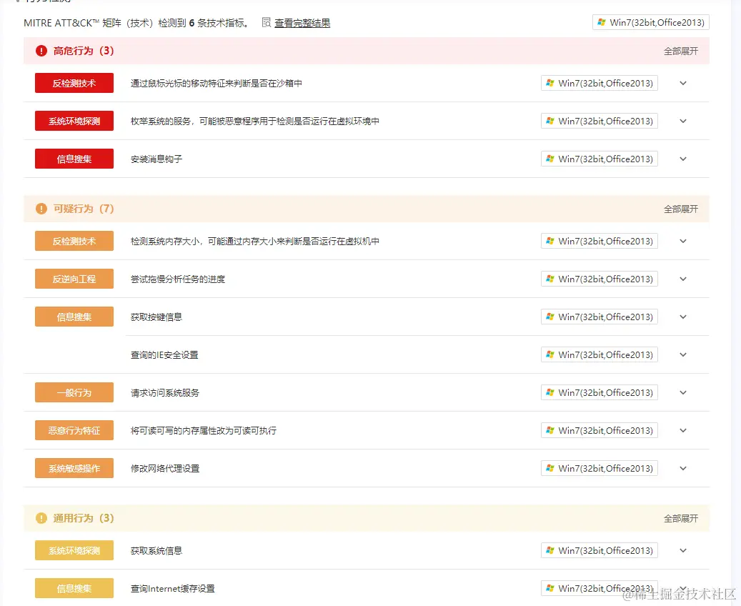
使用云沙箱分析 s.threatbook.com/

image.png

image.png

image.png

发现是微软搜集信息的行为,虚惊一场!