如何像在快递柜拿快递一样随时拿取寄给自己的文件

98 阅读4分钟

前言

互联网时代,大家的文件越来越多,互相发送文件的需求也越来越大,在社交软件上发送这些文件要么占用一大堆内存,望着爆红的硬盘苦不堪言;要么就是发了很多文件最后不知道发给了谁,杂乱无章;要么就是想发给多个人还要选择不同的平台,发送和取用都很麻烦。如果你说我用网盘,也有很多痛点,比如文件不安全,举个例子,即便是正常合法的医学类资源也有可能被和谐;还有如果不开通会员下载下来就会非常的缓慢,对于大文件来说非常不友好。所以,一款跨平台,跨设备,只要有网络就能随存随取的Web应用横空出世——文件快递柜,接下来我就教大家如何搭建使用这款文件快递柜。

特色

  • 轻量简洁:Fastapi+Sqlite3+Vue2+ElementUI
  • 轻松上传:复制粘贴,拖拽选择
  • 多种类型:文本,文件
  • 防止爆破:错误次数限制
  • 防止滥用:IP限制上传次数
  • 口令分享:随机口令,存取文件,自定义次数以及有效期
  • 国际化:支持中文和英文
  • 匿名分享:无需注册,无需登录
  • 管理面板:查看所有文件,删除文件
  • 一键部署:docker一键部署
  • 自由拓展:S3协议、本地文件流,可根据需求在storage文件中新增存储引擎
  • 简单明了:适合新手练手项目
  • 终端下载:wget share.lanol.cn/share/selec…

教程

如果你想使用自己的NAS或者家用电脑也可以,采用Docker一键安装(有NAS默认你懂了一些Docker的知识,使用后面的命令直接安装即可)

如果你没有NAS,也想用最低的成本来使用属于自己的文件快递柜,那不妨趁着618选购一波腾讯云的轻量应用服务器,618新老用户力度都很大,有需要的可以去看一下

活动内容:(有28元一年的轻量服务器抢购)

image-20240610103702215

image-20240610104217465

选择镜像

因为本篇文章针对小白,所以镜像直接选用宝塔镜像,如果你懂相关知识可以选纯净系统或者自行安装宝塔。

购买服务器时选择宝塔Linux面板,如果你买的时候选错了也没关系,可以在控制台一键重装系统。

image-20240610110900106

购买完成之后耐心等待3-5分钟左右,后台会初始化服务器资源配置,在此期间暂时无法登录服务器。

等待资源初始化完成之后我们进入服务器的控制台,找到应用管理,查看宝塔后台的地址,打开到浏览器访问

image-20240610112357119

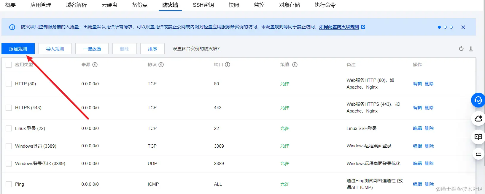
如果,你还没有打开防火墙端口,可以点击蓝色字体防火墙放行端口。

image-20240610112548984

image-20240610112614264

使用 sudo /etc/init.d/bt default命令来获取账号密码,我们点击蓝色字体的登录按钮,使用腾讯云OrcaTerm 登录到服务器,输入命令得到账号密码。

image-20240610112945692

image-20240610113048065

登录成功之后我们安装相关套件,对于文件快递柜来说只需要Nginx ,如果你后期也想搭建其他项目,建议全部安装。

image-20240610113226622

安装完成之后我们进入Docker选项卡开始安装Docker,点击立即安装。

image-20240610113637083

文件快递柜安装

全部安装成功后我们返回到Orca Term,输入下面命令进行拉取镜像

一键安装

docker run -d --restart=always -p 12345:12345 -v /opt/FileCodeBox/:/app/data --name filecodebox lanol/filecodebox:beta

一键更新

docker pull lanol/filecodebox:beta && docker stop filecodebox && docker rm filecodebox && docker run -d --restart=always -p 12345:12345 -v /opt/FileCodeBox/:/app/data --name filecodebox lanol/filecodebox:beta

其中端口和挂载路径可以自行修改。

image-20240610160223012

先使用ip:12345访问是否可以正常访问,如果没有放行端口安装之前的操作去控制台防火墙放行端口。

image-20240610160850203

如图显示便是正常使用,可以访问后台管理进行相关设置。

image-20240610160940041

默认信息

后端地址:/#/admin

后台密码:FileCodeBox2023

如果你想使用域名访问的话就登录宝塔,新增网站,输入你想使用的域名,确认添加。如果使用国内服务器要记得先进行备案处理。

image-20240610161342763

image-20240610161255070

然后点击设置:

image-20240610161435089

点击反向代理,添加反向代理:

image-20240610161530813

代理名称看你方便,目标URL填写127.0.0.1:你部署的端口,如果你是一直按照我的操作来的就是12345。

image-20240610161707123

然后就可以使用域名访问啦,快和你的小伙伴一起分享文件吧!