CQ 社区版 2.12.3 | 任务中心、访问申请、数据变更等多个模块大改版!

82 阅读8分钟

它来了它来了 又到CQ社区版更新时间啦!让新版本2.12.3陪大家开启这个夏天吧~ 本次版本,我们针对任务中心、访问申请、数据变更三大模块做了改版,同时增加多个新功能点!赶紧看看~

ps:结尾有新的社区预告,要看到最后奥~

「任务中心」全新改版

| 任务中心入口调整

原来「任务中心」隶属于「个人」模块,但在实际操作过程中,产生任务的模块多在数据操作。因此,本次更新,我们在「数据操作」模块左侧增加了「任务中心」入口,可以切换数据源和任务。

image.png

| 对原任务类型的功能优化

在「任务中心」主页面,我们根据不同的任务类型分成tab展示,同时以列表的形式来展示任务信息。

新版本中,任务中心将包含导出、文本导入、批量执行和同步数据字典四大类。

• 导出模块

在导出模块,增加了列表字段导出资源选项和导出状态。同时可查看查看具体的导出任务信息,支持导出文件再下载。

image.png

• 文本导入

原先版本中,在创建完文本导入任务后,导入成功即成功、失败即失败,界面上不会呈现文本导入状态。本次版本,增加了导入状态记录,在任务信息中可查看详细的导入任务信息、导入文件、导入配置以及导入时的映射关系。

image.png

• 批量执行

在过去版本中,我们新建批量执行需要先从SDT树连接层级点击右键进入批量执行任务中心,再进行新建批量任务。本次更新,新建批量任务页面以侧拉弹框形式出现,在连接层级右键点击「新建批量任务」就能进入。在此完成批量任务创建后,可到任务中心查看。

在批量执行的任务tab中,我们将原来的卡片形式调整为列表形式,更便于大家查看。同时,新增了删除操作,支持查看任务详情和任务信息,并在任务信息中增加了任务类型。

2.12.0批量操作.gif

| 新增「同步数据字典」

目前,同步数据字典有三种方式:

  • 自动同步:根据配置文件中配置的时间自动同步
  • 资源开启时同步:连接管理-资源管理中开启资源时自动同步
  • 手动同步:数据操作模块SDT右键菜单-同步数据字典

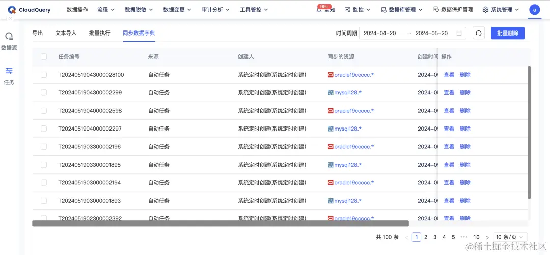
不管通过什么方式同步数据字典,在过去版本中,都无法从界面上查看同步结果以及同步进度。因此在本次版本更新中,我们在任务中心增加了「同步数据字典」的任务类型。通过以上三种任意方式出发的同步数据字典任务,都会记录在任务中心中。

同步数据字典任务主界面以列表方式展示每一次的任务信息,包括任务编号、来源(自动同步、开启资源时同步、手动同步)、创建人(自动任务创建人为 【系统定时创建】)、同步的资源、创建时间、状态,同时增加查看和删除操作。

image.png

流程中访问申请改造,支持所有层级的权限申请、批量提权

众所周知,目前CQ系统的权限体系将权限划分成了粗粒度和细粒度。粗粒度即在schema层级以上层级的权限,细粒度权限就是具体的数据库对象权限。

在我们的授权体系中,一个入口就能同时完成粗粒度授权和细粒度授权,能够直观地查看具体对象上的授权详情。但在提权体系中,目前粗粒度提权与细粒度提权并未完成入口统一,粗粒度提权在访问申请中进行,细粒度授权则在数据操作模块进行。

考虑到使用便捷性,本次更新,我们对访问申请进行了改造优化,用户可在访问申请中,同时实现粗粒度提权和细粒度提权。

👇🏻 更新后的访问申请流程 👇🏻

step 1: 进入访问申请,找到想要提权的资源,在连接层级选择粗粒度权限,如权限等级选择“仅访问”,选择工具权限,点击「加入申请单」。如需一次性勾选大量资源,可选择批量操作。 step 2: 在「申请单」页面中,可查看你申请的权限详情。 💡 需要注意的是,如果你在提权时只选择了连接层级的权限,没有选择下一层级的资源权限,那么申请清单中则不会展示下一层级的资源。 step3: 在申请单中可再次进行全新修改或删除,修正在上一步骤中权限选择错误的情况。

2.12.0访问申请.gif

数据变更流程优化,工单详情UI优化

本次更新,在数据变更模块对整体UI进行了优化调整。

申请变更页面,之前的界面是整个页面下滑滚动。本次版本中,我们按步骤对界面进行了划分。

step1 申请数据变更: 填写数据库信息及变更SQL语句 step2 SQL审核: 查看SQL审核结果,如果审核结果出现error等级,则无法点击进入下一步;只有当审核结果无error才允许进入下一步 step3 模拟环境验证(仅发布变更有): 支持选择回退验证/执行验证,不选择也支持下一步操作 step4 选择执行方式: sql审核通过后再次选择执行方式、执行时间,提交即可。

2.12.0数据变更.gif

在工单详情页上,我们也做了UI优化,底部申请按钮成悬浮状态,避免原先因业务数据过多而需要页面下滑才能进行操作。同时,在详情页中增加了sql脚本下载的功能。

image.png

脱敏扫描支持在数据库层、连接层创建扫描任务

在数据保护-脱敏扫描模块,过往版本CQ支持在表层级或schema层级新建扫描任务。本次更新,我们将次功能拓展至数据库层级和连接层级。因此新版本中,大家在“连接-数据库-schema-数据库对象组-数据库对象”每一层级都可建立扫描任务。

image.png

此外,针对扫描结果,我们的搜索功能支持按表名进行检索。

新增用户时的默认角色支持自定义

在用户管理-新增用户时,系统角色不填的情况下默认是普通用户,但随着自定义角色的开发,内置角色中选定默认角色很多时候已无法满足大家的业务需求。有不少用户提出建议默认角色可进行自定义。

本次更新,我们就开放默认角色的自定义权限。大家可通过“用户参数管理-系统角色-更改默认值”进行修改。

image.png

同时,在组织架构页面,我们对检索功能进行了优化,新版本中,CQ支持通过部门、用户名、id以及公司名称进行检索。

其他一些新增功能

  • 数据字典新增支持DB2、MongoDB数据源
  • 规则管理新增OracleCDB数据源模板
  • 系统设置-访问设置检索功能支持按来源检索
  • 权限看板新增按资源进行模糊检索
  • 数据备份新增支持多表变更的备份

本次更新的其他优化

  • 数据操作SDT后端检索过滤无权限连接
  • Oracle数据源LSP优化,提示时能准确到此字段是什么对象类型
  • 系统设置-访问设置增减按来源进行检索
  • 连接管理中增加创建连接时间字段
  • 连接管理连接名称字段支持自定义宽度
  • 个人中心中执行历史明细看齐审计

Bugfix

  • 修复SQLServer数据变更执行.sql附件异常的问题
  • 修复通过UI创建表置字段默认值又删掉,生成的SQL不会自动删除default标识的问题
  • 修复高危资源走数据订正创建的申请,审批人不是自定义流程中指定的人的问题
  • 修复数据订正流程在通知里有,在我的审批中没有的问题
  • 优化了获取“高危操作设置”的操作类型列表响应慢(10秒)的情况
  • 修复了主体授权-授权时资源选择表组报“请求参数格式不符”的问题
  • 修复了主体授权-授权时选择表组、视图组、函数组等数据库对象组时数据显示问题

新版本下载

下载地址:www.cloudquery.club/download 帮助文档:bintools.yuque.com/org-wiki-bi…

用户反馈

工单入口:www.cloudquery.club/login

社区预告

来记得我们社区的另一款产品DpEasy吗? DpEasy社区版在经过半年产品改造后,“华丽变身”数据库特权账号管理平台(database privilege easy),即将发布v1.4.0全新社区版本! 下周我们将在社区发出新版本功能预告,敬请期待~