简单一招,加速访问github

3,833 阅读1分钟

访问github慢的主要原因

DNS的问题,很多时候我们在国内访问github慢的主要原因在于你的机器作为网络的DNS服务器遭到了污染,当然这里面有很多原因

当然大家也可以爬梯子,但是不推荐大家这么做,本文就介绍大家一个简单的小技巧

关于DNS污染等问题,大家可以查阅下专业的文档

DNS污染

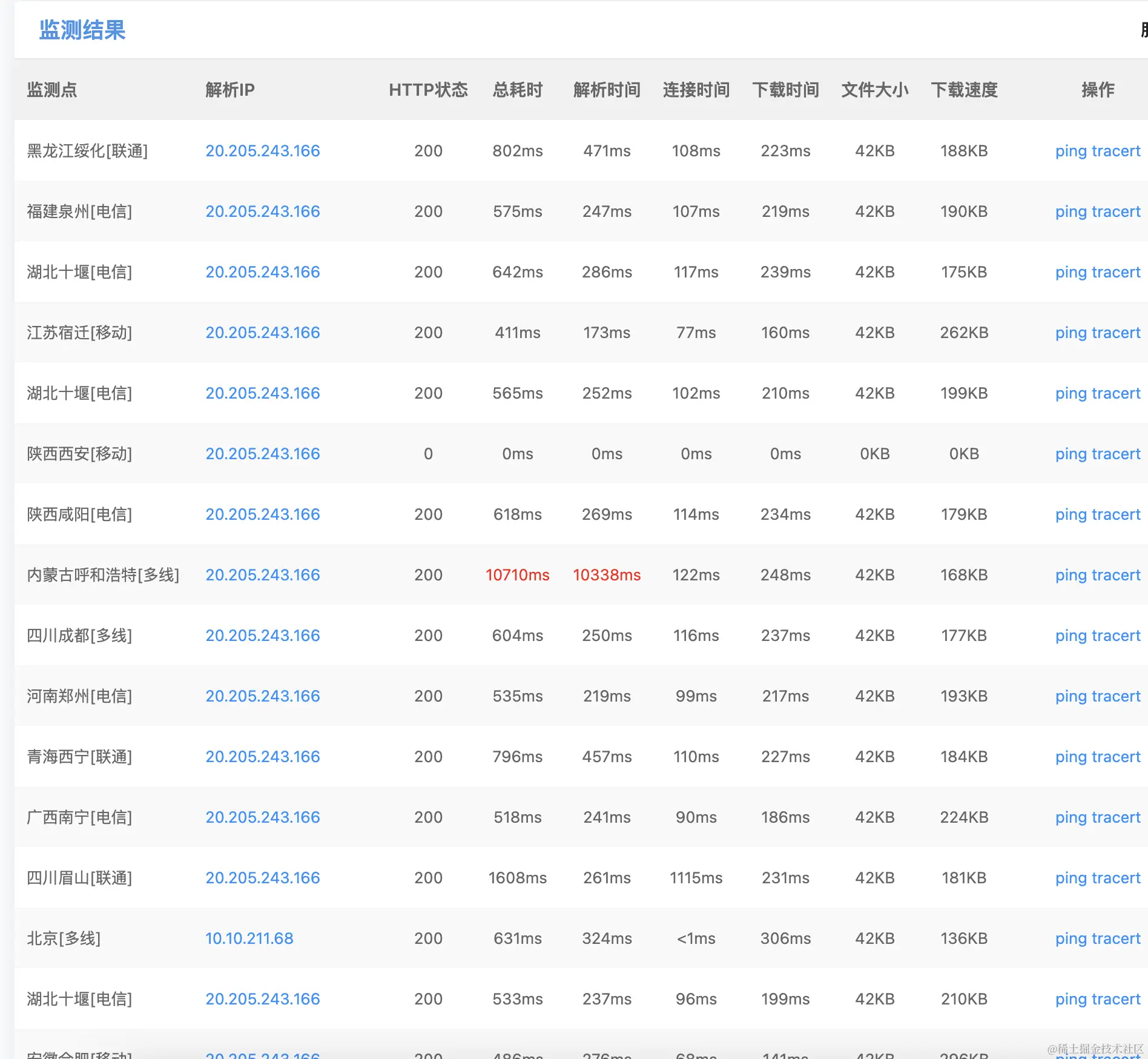
如何得知国内当前github.com访问情况

点击访问站长工具

image-20240522174304705

image-20240522174338122

由图上可以看出,国内大部分区域访问github.com DNS服务解析的结果是20.205.243.166,然后我们本地修改下host文件

修改hosts

这里以macos为例

# 可能需要sudo
vi /etc/hosts 

添加一条

20.205.243.166 github.com

的解析记录

看下效果

ping github.com

image-20240522174826990

从这个连通性效果看的话,就能够正常使用啦,如果这个ip访问效果在你的区域效果不理想,也可以尝试更换下。