飞搭系列 | 告别繁琐!低代码助力高效搭建租赁系统

342 阅读6分钟

前言 Preface

汉得飞搭aPaaS低代码平台(FEIDA,以下简称“飞搭”)是基于低代码理念打造的融合 aPaaS 平台,助力企业快速搭建业务应用。作为 HZERO 生态的重要组成部分,致力于充分融合 HZERO 的各平台能力,提供企业用户在线化灵活搭建业务应用的能力,支撑企业普惠化(低门槛、高协作)、敏态化(高效率)低成本化地快速响应市场变化,加速复杂业务场景落地。

概要介绍

从事租赁业务的公司通过搭建线上租赁系统,可以极大提高租赁资源管理效率、简化租赁流程、增强客户体验、降低运营成本等等,推动租赁业务的可持续发展。

用户可通过线索管理功能维护通过不同渠道获取的线索并跟进;商机管理功能下可以将线索转为商机;商机赢单后可以通过项目管理功能进行立项申请;立项申请通过后,可在项目创建合同功能下将项目创建为合同。

本篇将通过租赁系统中使用飞搭搭建的以下几个模块功能的实现效果,对飞搭的能力进行介绍:

● 线索及商机管理:

通过飞搭的树组件清晰展示线索来源分类,列表组件快速维护线索来源,以及字段赋值配置快速实现线索转为商机时数据自动带出,并可在商机信息维护时通过配置字段显隐条件实现赢单或输单信息的维护;

● 项目管理:

通过数据范围控制实现新建项目时仅能选择到赢单的商机,事务处理流实现默认带出当前新建项目的项目经理及所属公司部门等基础信息;补充完整立项必需的信息后,可以提交立项申请审批;

项目创建合同:

通过配置按钮条件禁用实现仅立项申请审批通过的项目可以创建合同,如将项目的主报价方案拆分为辅助报价,可以通过事务处理流及条件控制辅助报价总和不超过主报价。

一 线索及商机管理

01. 场景说明

线索及商机管理功能用于评估及跟踪商机,帮助企业更好地了解市场需求和潜在机会,抢占市场份额,从而增加收益。

02. 实现效果

/ / 线索来源管理

● 通过树组件维护线索来源分类,分类下还可以维护子分类,比如“线上活动”分类下增加子分类“微信公众号”;

● 选中某个分类,可以在右侧列表内维护该分类下的具体线索来源,例如微信公众号分类下的线索来源有“2.6版本发布公告”和“2.7版本发布公告”;

● 如某线索来源分类暂时取消,则可以选择禁用或删除该分类。

/ / 线索管理

● 维护线索时需要选择线索来源,并维护预测采购、线索负责人、客户等必要信息;

● 未成功的线索可以选择回收并废弃。

/ / 商机管理

● 跟进中的线索可以转为商机继续跟进,并实时更新商机状态;

● 如赢单,则需要级联维护赢单金额,并支持申请立项。

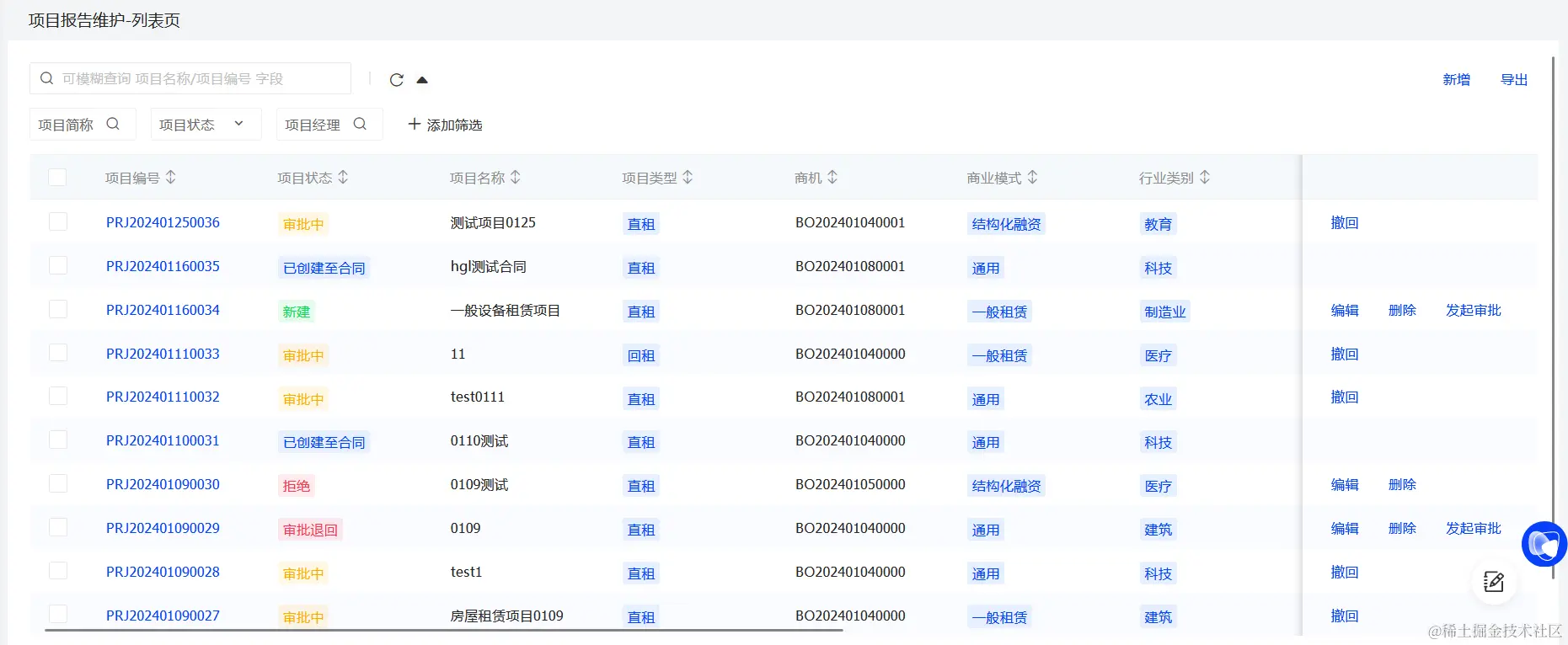
二 项目管理

01. 场景说明

项目管理功能主要在于明确项目的具体内容和目标,评估项目的可行性,并制定项目的实施计划和预算,为后续的市场调研、产品设计、营销推广等工作提供有力的支持。

02. 实现效果

/ / PC端

● 商机负责人可以查询到所有自己创建的数据,并支持新建、编辑、发起审批申请;

● 新建项目时,根据所选商机带出已有数据,并需要补充项目基本信息、承租人信息、报价方案及所需资料,其中报价方案信息包括租赁物信息、供应商信息、抵质押信息、担保人信息、报价配置,并生成租金方案;

● 完整维护项目数据后,可以直接提交申请审批。

/ / 移动端

● 商机负责人可以查询到所有自己未发起、已发起或被退回的项目数据,并可以看到审批中的立项申请的审批历史;

● 部门负责人可以在移动端查看并审批立项申请。

项目创建合同

01. 场景说明

立项申请审批通过的项目,可以选择创建为合同,所有租赁事项都需要通过合同进行记录和管理,实现管理规范化,便于后续的跟踪和查询;也能确保租赁活动的合法性和规范性。

在创建合同时,如果主报价价格过高,可以选择拆分为辅助报价,并分别创建为合同。已创建为合同的项目不允许再次创建。

在合同列表页可以查询到所有合同数据,也可以跳转至表单页查看合同详情。

02. 实现效果

结语 Ending

飞搭低代码平台作为 HZERO 生态的重要组成部分,致力于充分融合 HZERO 的各平台能力,提供企业用户在线化灵活搭建业务应用的能力,支撑企业普惠化(低门槛、高协作)敏态化(高效率)低成本化地快速响应市场变化,加速复杂业务场景落地。

本篇介绍了通过飞搭低代码平台搭建租赁系统的实现效果。通过线上租赁系统的自动化流程、实时更新信息、线上审批等功能,极大地简化了租赁流程,并增强了用户体验

接下来,我们将持续推出飞搭平台专题系列教程,帮助您更好地掌握飞搭平台的使用技巧,敬请期待!

联系我们 CONTACT US

1 如果您想了解飞搭更详细的功能介绍和产品信息请查阅我们的产品文档:

请在PC端打开 👉汉得焱牛开放平台

open.hand-china.com/document-ce…

2 如果您有疑问或者建议,可以通过开放平台进行工单反馈,问题分类请选择【产品/汉得aPaaS平台-飞搭】:

请在PC端打开👉汉得焱牛开放平台

open.hand-china.com/

3 相关产品咨询或更多信息了解,欢迎联系我们

邮箱:openhand@vip.hand-china.com