驾驶证识别 API:让数据处理更智能

64 阅读3分钟

ddb415e3c472f5a28a6a8cf2f2221ab.png

在现代社会中,机动车已经成为了人们生活中必不可少的交通工具。而驾驶证作为开车者的身份证明和合法驾驶的凭据,也变得越来越重要。为了提高驾驶证的识别效率和准确性,大量的人工智能技术被应用于驾驶证的识别中。

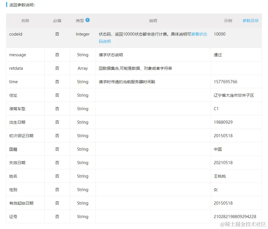
驾驶证识别 API 是一项极具前景和实用价值的人工智能技术。该 API 可以对机动车驾驶证正本的所有9个字段进行结构化识别,包括证号、姓名、性别、国籍、住址、出生日期、初次领证日期、准驾车型和有效期限。使用这个 API 可以大大提高数据处理的智能化,提高工作效率,减少人工操作的错误。

3e132a61618ba5e49d97aeeb09a10aa.png

驾驶证识别 API 的使用非常简单。首先,我们需要在挖数据平台注册一个账号,并获取 API 的访问密钥。接下来,我们可以使用 HTTP POST 请求来调用该 API。请求需要包含图片的 Base64 编码和相应的参数。调用 API 后,我们将得到一个 JSON 格式的返回结果,其中包含了驾驶证的所有字段识别结果。这样,我们就可以轻松地将驾驶证的信息提取出来,并进行后续的数据处理和应用。

接下来,我们来看一段 Python 代码的示例,展示如何使用驾驶证识别 API:

import requests
import base64

# 将图片进行 Base64 编码
with open("driving_license.jpg", "rb") as image_file:
    encoded_image = base64.b64encode(image_file.read()).decode('utf-8')

# 设置 API 访问地址和密钥
api_url = "https://api.wapi.cn/v1/ocr/driving_license"
api_key = "your_api_key"

# 构建请求参数
data = {
    "image": encoded_image,
    "api_key": api_key
}

# 发送 POST 请求
response = requests.post(api_url, data=data)

# 解析返回结果
result = response.json()

# 打印驾驶证识别结果
print(result)

在这段代码中,我们首先将要识别的驾驶证图片进行 Base64 编码,然后设置 API 的访问地址和密钥。接着,我们构建请求参数,并发送 POST 请求。最后,我们解析返回结果,并打印驾驶证的识别结果。

使用驾驶证识别 API 可以在很大程度上提高数据处理的效率和准确性。无论是在交通管理、保险理赔还是其他领域,都可以通过驾驶证识别 API 实现自动化的数据处理和应用。通过结合人工智能技术,我们可以让数据处理更加智能,提高工作效率,减少人工操作的错误。

image.png

总之,驾驶证识别 API 是一项非常实用的人工智能技术。通过该 API,我们可以轻松地对驾驶证的各个字段进行结构化识别,为后续的数据处理提供了便利。希望随着技术的不断进步,驾驶证识别 API 能够在更多的领域得到应用,让数据处理变得更智能、更高效。