4.22-23 系统与日志

72 阅读2分钟

文件系统

inode号

查看inode号

ls -i

stat 文件

三个主要的时间属性

atime:访问文件时间,需要打开文件时间才会发生变化

mtime:最近更改时间,文件内容发生改变,时间才会变化

ctime:最近改动时间,文件的元信息发生改变,时间才会改动 属主 属组 大小

在使用 find 找文件时间时建议用 mtime

inode号的特殊作用

inode号 是有限资源,如果消耗完毕,无法继续新建文件,解决方法就是删除空文件 没有用的文件

inode号 在同一设备中是唯一的

在不同设备中inode号是可以相同的

日志

日志保存位

默认位在:/var/log目录下

日志消息级别

image-20240422143406738.png

日志文件

内核及公共消息日志:/var/log/messages

计划任务日志:/var/log/cron

系统引导日志:/var/log/dmesg

邮件系统日志:/var/log/maillog

用户登录日志

image-20240422151707423.png

日志管理工具

rsyslog配置文件

/etc/rsyslog.conf 配置文件格式:由三部分组成

MODULES:相关模块配置

GLOBAL DIRECTIVES:全局配置

RULES:日志记录相关的规则配置

1.有些软件程序 时没有单独的日志服务,我们可以利用 rsyslo g软件给一些重要的程序生成独立的日志文件

ssh 远程登录程序的日志独立出来

ssh 软件默认的日志在 /var/log/secure 是很多程序一起使用,并不是独立的

配置文件中的rules

通式:

服务程序.记录的日志级别 日志的位置绝对路径

local0 - local7 给你自定义使用

local0 - local6

系统四步

1安装软件

2修改配置文件

3重启服务

4验证结果

两个@代表使用tcp

一个@代表使用udp

利用rsyslog 对某些程序生成独立的

vim /etc/ssh/sshd_config

第33行前半段复制第32行的,后半段写local6 然后并开启第33行 关闭32行

image-20240422172804024.png

vim /etc/rsyslog.conf

第73行的 local7 变成第74行的 local6,后半段写目录

image-20240422171608899.png

systemctl restart sshd rsyslog.service(重启服务)

ssh 自己的ip 就可以切换登录

image-20240423102926402.png

搭建日志服务器

所有的日志汇聚到一台服务器

先关闭防火墙

systemctl stop firewalld

setenforce 0

vim /etc/rsyslog.conf

开启19 20行 两端都要打开

image-20240423100823116.png

第55行前半段复制54行的,后半段写端口号和要到另一个主机的IP

image-20240423100939572.png

systemctl restart rsyslog.service(重启服务)

用 ss -natp |grep 514 查看514端口是否打开

image-20240423101428673.png

服务端输入

image-20240423102017646.png

客户端显示

image-20240423102117372.png

日志管理工具 journalctl

配置文件:/etc/systemd/journald.conf

journald

-k 仅显示内核日志

-u 仅显示属于特定单元的日志

image-20240423152116177.png

服务器起不来 日志

systemctl status 服务

journactl -xe --nopager

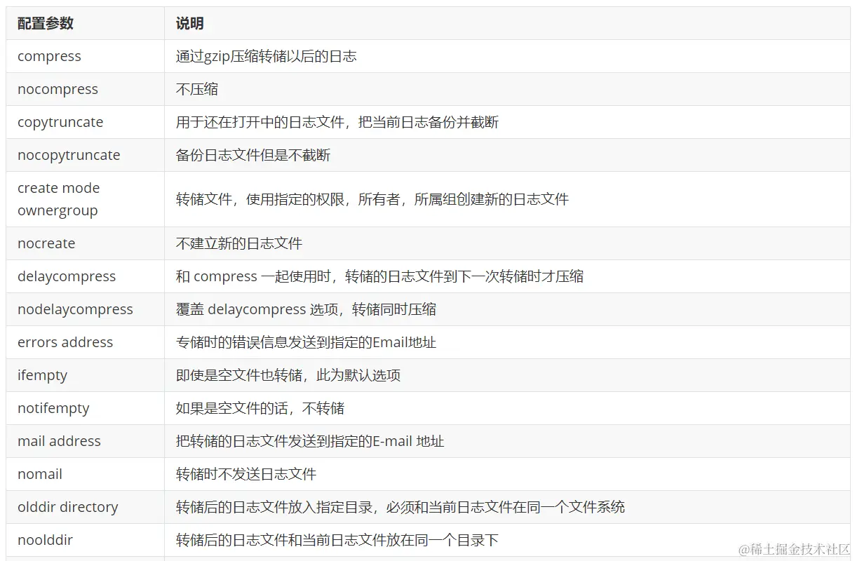
日志转储 logrotate

配置文件: /etc/logrotate.conf

image-20240423164512210.png

image-20240423164551457.png