ssm停车场管理系统

148 阅读23分钟

点赞+收藏+关注 → 私信领取本源代码、数据库

摘 要

随着科学技术的飞速发展,各行各业都在努力与现代先进技术接轨,通过科技手段提高自身的优势;对于停车场管理系统当然也不能排除在外,随着网络技术的不断成熟,带动了停车管理、缴费管理、投诉管理、违规处罚等等,它彻底改变了过去传统的管理方式,不仅使服务管理难度变高了,还提升了管理的灵活性。这种个性化的平台特别注重交互协调与管理的相互配合,激发了管理人员的创造性与主动性,对停车场管理而言非常有利。

停车场管理系统,主要的模块包括查看;管理员;首页、个人中心、车位分类管理、车位信息管理、用户管理、入场停车管理、出场缴费管理、投诉建议管理、违规处罚管理、论坛交流、管理员管理、系统管理。用户权限;首页、个人中心、入场停车管理、出场缴费管理、投诉建议管理、违规处罚管理、我的收藏管理。前台首页:首页、车位信息、论坛交流、系统公告、个人中心、后台管理、在线交流等功能。系统中管理员主要是为了安全有效地存储和管理各类信息,还可以对系统进行管理与更新维护等操作,并且对后台有相应的操作权限。

本系统采用的数据库是Mysql,使用SSM技术开发,在设计过程中,充分保证了系统代码的良好可读性、实用性、易扩展性、通用性、便于后期维护、操作方便以及页面简洁等特点。本系统的开发使获取停车场管理系统信息能够更加方便快捷,同时也使停车场管理系统信息变的更加系统化、有序化。系统界面较友好,易于操作。

关键词:停车场管理系统 ;java ;Mysql;ssm

Abstract

With the rapid development of science and technology, all walks of life are trying to integrate with modern advanced technology and improve their own advantages through scientific and technological means. Of course, the parking lot management system can not be excluded. With the continuous maturity of network technology, it has driven the parking management, payment management, complaint management, illegal punishment and so on. It has completely changed the traditional management methods in the past, It not only makes the service management more difficult, but also improves the management flexibility. This kind of personalized platform pays special attention to the interaction and coordination of management, stimulates the creativity and initiative of managers, and is very beneficial to the management of parking lot.

Parking management system, the main modules include view; administrator; home page, personal center, parking classification management, parking information management, user management, admission parking management, exit payment management, complaint and suggestion management, violation punishment management, forum communication, administrator management, system management. User rights; home page, personal center, admission parking management, exit payment management, complaint suggestion management, violation punishment management, my collection management. Front page: front page, parking information, forum communication, system announcement, personal center, background management, online communication and other functions. The administrator in the system is mainly for the safe and effective storage and management of all kinds of information, can also manage and update the system maintenance and other operations, and has the corresponding operation authority on the background.

The database used in this system is mysql, which is developed with SSM technology. In the design process, it fully ensures the good readability, practicability, extensibility, universality, convenient for later maintenance, convenient operation and simple page of the system code. The development of the system makes it more convenient to obtain the information of the parking management system, and also makes the information of the parking management system more systematic and orderly. The system interface is friendly and easy to operate.

Key words: parking management system; Java; MySQL; SSM

1 系统概述

1.1 概述

随着社会的快速发展,计算机的影响是全面且深入的。人们的生活水平不断提高,日常生活中用户对停车场管理系统方面的要求也在不断提高,需要的人数更是不断增加,使得停车场管理系统的开发成为必需而且紧迫的事情。停车场管理系统主要是借助计算机,通过对停车场管理系统所需的信息管理,增加用户选择,同时也方便对广大用户信息的及时查询、修改以及对用户信息的及时了解。停车场管理系统对用户带来了更多的便利, 该系统通过和数据库管理系统软件协作来满足用户的需求。

1.2课题意义

随着全球信息化的发展,人们的生活节奏越来越快,对信息的时效性越来越重视。以传统的宣传方式为载体的传统媒介早已不能满足用户对获取信息的方式、便捷性的需求。所以停车场管理系统渐渐成为用户关注的焦点。首先,停车场管理系统,网上获取信息的实时性、便捷性要远远高于传统媒介。系统一经上线,无论用户在世界的哪个角落,只要能够连接互联网,就能在第一时间获得想要的信息。

以往的停车场管理系统相关信息管理,都是工作人员手工统计。这种方式不但时效性低,而且需要查找和变更的时候很不方便。随着科学的进步,技术的成熟,计算机信息化也日新月异的发展,社会也已经深刻的认识,计算机功能非常的强大,计算机已经进入了人类社会发展的各个领域,并且发挥着十分重要的作用。

计算机技术在现代管理中的应用,使计算机成为用户应用现代技术的重要工具。能够有效的解决获取信息便捷化、全面化的问题,提高效率。

1.3 主要内容

停车场管理系统从功能、数据流程、可行性、运行环境等方面进行需求分析。对停车场管理系统的数据库、功能进行了详细设计。分析了主要界面设计和相关组件设计,对停车场管理系统的具体实现进行了介绍,从而达到对停车场管理系统的管理。

详细内容介绍,将在以下六章中详细阐述:

第一章、绪论,介绍了研究课题选择的背景及意义、研究现状,简要介绍了本文的章节内容。

第二章、引入技术知识,通过引入关键技术进行开发,向系统中涉及直观表达的技术知识。

第三章、重点分析了系统的分析,从系统强大的供需市场出发,对系统开发的可行性,系统流程以及系统性能和功能进行了探讨。

第四章、介绍了系统的详细设计方案,包括系统结构设计和数据库设计。

第五章、系统设计的实现,通过对系统功能设计的详细说明,论证了系统的结构。

第六章、系统的整体测试,评判系统是否可以上线运行。

采用java技术,从数据库中获取数据、向数据库中写入数据,实现系统直接对数据库进行各种操作,在网页中加入动态内容,从而实现停车场管理系统所需要的各种基本功能。

2 系统开发环境

2.1 JAVA简介

Java主要采用CORBA技术和安全模型,可以在互联网应用的数据保护。它还提供了对EJB(Enterprise JavaBeans)的全面支持,java servlet API,java(java server pages),和XML技术。JAVA语言是一种面向对象的语言,它通过提供最基本的方法来完成指定的任务,开发者只需要知道一些概念就能够编写出一些应用程序。Java程序相对较小,其代码能够在小机器上运行。Java是一种计算机编程语言,具有封装、继承和多态性三个主要特性,广泛应用于国家Web应用程序开发和移动应用程序开发。

Java语言和一般编译器以及直译的区别在于,Java首先将源代码转换为字节码,然后将其转换为JVM的可执行文件,JVM可以在各种不同的JVM上运行。因此,实现了它的跨平台特性。虽然这使得Java在早期非常缓慢,但是随着Java的开发,它已经得到了改进。

2.2 B/S架构

B/S结构的特点也非常多,例如在很多浏览器中都可以做出信号请求。并且可以适当的减轻用户的工作量,通过对客户端安装或者是配置少量的运行软件就能够逐步减少用户的工作量,这些功能的操作主要是由服务器来进行控制的,由于该软件的技术不断成熟,最主要的特点就是与浏览器相互配合为软件开发带来了极大的便利,不仅能够减少开发成本,还能够不断加强系统的软件功能,层层相互独立和展现层是该B/S结构完成相互连接的主要特性。

2.3 SSM三大框架

1.Spring的优势: 通过Spring的IOC特性,将对象之间的依赖关系交给了Spring控制,方便解耦,简化了开发。

2.Spring MVC的优势: SpringMVC是使用了MVC设计思想的轻量级web框架,对web层进行解耦,使我们的开发更简洁。

3.Mybatis的优势:

数据库的操作(sql)采用xml文件配置,解除了sql和代码的耦合,提供映射标签,支持对象和和数据库orm字段关系的映射,支持对象关系映射标签,支持对象关系的组建提供了xml标签,支持动态的sql。

2.4 访问数据库实现方法 (1)首先介绍一下web数据库搜索网络上的基本步骤:

第一步:检查消费者的数据,

第二步:你必须建立与数据库的连接;

第三步:搜索数据库;

第四步:数据的结构;

第五步:该用户 的结果被示出。

(2)系统,直到我MYSQL5.0 PHP集成开发环境,如使用WAMP服务器处于开机状态,并且更容易访问数据库的报告开发环境:

一个连接到MySQL数据库服务器Mysql_connect-;

语法:资源的mysql_connect(主机,用户 名,密码);

请选择数据库:mysql_select_db(数据库链接标识的名称);

关闭数据库:则mysql_close();

2.5 系统对MySQL数据库的两种连接方式 活动的MySQL/ MySQL库,或使用ODBC接口,MySQL数据库是一个双向链接。永久及非永久连接。

(1)永久连接:一个更永久的连接请求的最大优点是可以非常有效的客户站在密切的联系,当连接到MySQL服务器,就更好了。在起草该页面每一个孩子在这个过程中,而不是仅仅在任何时候,只有在到MySQL服务器请求连接的生命周期,一旦连接。此子过程是建立到服务器的单独连接可以是永久性的。

(2)非永久连接:他是短路。提交顺路到Web服务器,服务器处理请求并请求的页面,你要发送的浏览器客户端,然后连接断开。对于大多数网站,它经常通过有效高效率有关,但在大多数情况下,所使用的连接,但它是一个完整的时间,以避免出现任何问题,并可以增加的容量服务器承载。

3 需求分析

3.1技术可行性:技术背景

停车场管理系统是在Windows操作系统中进行开发运用的,而且目前PC机的各项性能已经可以胜任普通网站的web服务器。系统开发所使用的技术也都是自身所具有的,也是当下广泛应用的技术之一。

系统的开发环境和配置都是可以自行安装的,系统使用Java开发工具,使用比较成熟的Mysql数据库进行对系统前后台的数据交互,根据技术语言对数据库,结合需求进行修改维护,可以使得网站运行更具有稳定性和安全性,从而完成实现网站的开发。

(1)硬件可行性分析

系统管理及信息分析的设计对于所使用的计算机没有什么硬性的要求,计算机只要可以正常的使用进行代码的编写及页面设计就可行,主要是对于服务器有些要求,对于平台搭建完成要上传的服务器是有一定的要求的,服务器必须选择安全性比较高的,然后就是在打开网站必须顺畅,不能停顿太长时间;性价比高;安全性高。

(2)软件可行性分析

开发整个系统使用的是云计算,流量的可扩展性和基于流量的智能调整云计算的优点就是流量的可扩展性和基于流量的智能调整,保障了数据信息能够得到及时的备份,整个系统可以安全有效的运行。

因此,我们从两个方面进行了可行性研究,可以看出系统的开发没有问题。

3.2经济可行性

在停车场管理系统开发之前所做的市场调研及与其相关的其他管理系统,都是没有任何费用的。所有的调查研究都是通过开发者自己的努力,所有的工作也都是自己亲力亲为的。在碰到自己比较难以解决的问题时,大多数是通过指导老师和同学的帮助进行相关问题的解决。所以对于停车场管理系统 的开发在经济上是完全可行的,没有任何费用支出的。

使用比较成熟的技术,系统是基于Java的开发,采用Mysql数据库。所以系统在开发人力、财力方面的要求不高,具有经济可行性。

3.3操作可行性:

可操作性主要是对在停车场管理系统设计完成后,用户的使用体验度,以及管理员可以通过系统随时管理相关的数据信息,并且对于管理员、用户二个角色,都可以简单明了的进入到自己的系统界面,通过界面可以简单明了地操作功能模块,方便用户信息的操作需求和管理员管理数据信息。对于系统的操作,不需要专业人员都可以直接进行功能模块的操作管理,所以停车场管理系统的可操作性是完全可以的。本系统的操作使用的也是界面窗口进行登录,所以操作人员只要会简单的电脑操作就完全可以的。

3.4系统设计规则

本停车场管理系统采用Java技术,Mysql数据库开发,充分保证了系统稳定性、完整性。

停车场管理系统的设计与实现的设计思想如下:

操作简单方便、系统界面安全良好:简单明了的页面布局,方便查询停车场管理系统管理的相关信息。

2、即时可见:对停车场管理系统信息的处理将立马在对应地点可以查询到,从而实现“即时发布、即时见效”的系统功能。

3、功能的完善性:可以管理管理员;首页、个人中心、车位分类管理、车位信息管理、用户管理、入场停车管理、出场缴费管理、投诉建议管理、违规处罚管理、论坛交流、管理员管理、系统管理。

用户权限;首页、个人中心、入场停车管理、出场缴费管理、投诉建议管理、违规处罚管理、我的收藏管理。

前台首页:首页、车位信息、论坛交流、系统公告、个人中心、后台管理、在线交流等等信息。

3.5系统流程和逻辑

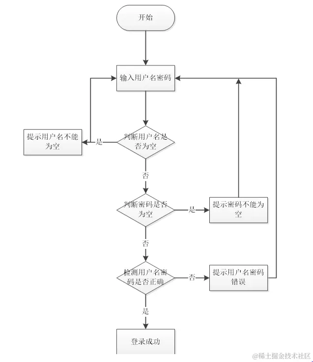
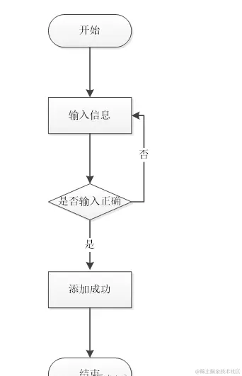
系统业务流程图,如图所示:

38.PNG

                                                    图3-1登录流程图

39.PNG

图3-2添加信息流程图

40.PNG

图3-3注册信息流程图

4系统概要设计

4.1 概述

停车场管理系统基于Web服务模式,是一个适用于Internet环境下的模型结构。只要用户能连上Internet,便可以在不受时间、地点的限制来使用这个系统。停车场管理系统工作原理图,如图4-1所示:

41.PNG 图4-1 系统工作原理图

4.2 系统结构

本系统架构网站系统,本系统的具体功能如下:

42.PNG

管理员;首页、个人中心、车位分类管理、车位信息管理、用户管理、入场停车管理、出场缴费管理、投诉建议管理、违规处罚管理、论坛交流、管理员管理、系统管理结构图,如图4-3所示:

43.PNG

图4-3 管理员功能结构图

用户权限;首页、个人中心、入场停车管理、出场缴费管理、投诉建议管理、违规处罚管理、我的收藏管理功能结构图,如图4-4所示:

44.PNG

图4-4 用户功能结构图

4.3. 数据库设计

4.3.1 数据库实体

用户信息:用户名、密码、姓名、性别、头像、手机、车牌号码结构图,如图4-6所示:

45.PNG

图4-6 用户信息实体结构图

车位信息:车位编号、车位名称、分类、图片、位置、车位状态、停车价格、车位详情实体属性图,如图4-7所示:

46.PNG

图4-7车位信息实体属性图

出场缴费信息:车位编号、车位名称、图片、停车价格、入场时间、出场时间、停车时长、总价格、用户名、手机、车牌号码、是否支付、审核回复、审核状态实体属性图如图4-8所示。

47.PNG

图4-8出场缴费信息实体属性图

4.4 数据表

将数据库概念设计的E-R图转换为关系数据库。在关系数据库中,数据关系由数据表组成,但是表的结构表现在表的字段上。

表4-1 allusers表

48.PNG

表4-2 yonghuxinxi表

49.PNG

表4-3:chuchangjiaofei表

50.PNG

表4-4:ruchangtingche表

51.PNG

表4-5:tousujianyi表

52.PNG

第5章 系统详细设计

5.1管理员功能模块

管理员登录,管理员通过输入用户、密码、角色等信息进行系统登录,如图5-1所示。

53.PNG 图5-1管理员登录界面图

管理员对个人中心进行操作填写原密码、新密码、确认密码并进行添加、删除、修改以及查看,如图5-2所示。

54.PNG 图5-2管理员个人中心界面图

用户管理,用户管理页面可以填写用户名、密码、姓名、性别、头像、手机、车牌号码等内容,并可根据需要对用户管理进行添加,修改或删除等操作,如图5-3所示。

55.PNG 图5-3用户管理界面图

车位信息,在车位信息页面可以填写车位编号、车位名称、分类、图片、位置、车位状态、停车价格、车位详情等等进行添加,修改,删除或查看详细内容等操作,如图5-4所示。

56.PNG 图5-4车位信息界面图

出场缴费管理,在出场缴费管理页面可以查看车位编号、车位名称、图片、停车价格、入场时间、出场时间、停车时长、总价格、用户名、手机、车牌号码、是否支付、审核回复、审核状态等内容,并可根据需要对出场缴费管理进行添加,修改,删除或详细内容等操作,如图5-5所示。

57.PNG 图5-5出场缴费管理界面图

违规处罚管理,在违规处罚管理页面可以查看标题名称、图片、违规内容、处罚内容、处罚金额、通知日期、用户名等内容,并可根据需要对违规处罚管理进行添加,修改,删除或详细内容等操作,如图5-6所示。

58.PNG 图5-6违规处罚管理界面图

系统管 ,通过新建操作可在在线交流/轮播图/系统公告对查看回复、加入新的图片、查看公告,还可以对以上传的图片进行修改操作,以及图片的删除操作如图5-7所示。

59.PNG

图5-7系统管界面图

5.2用户前后台功能模块

用户注册/登陆,通过填写用户名、密码、姓名、性别、头像、联系电话、车牌号等信息,输入完成后选择登录输入用户名、密码即可进入停车场管理系统,如图5-8所示。

60.PNG

图5-8用户注册/登陆界面图

用户前台首页浏览,通过内容列表可以获取网站首页、车位信息、论坛交流、系统公告、个人中心、后台管理、在线交流等信息操作内容,如图5-9所示。

61.PNG

图5-9用户前台浏览管理界面图

前台车位信息,通过内容列表可以获取车位编号、车位名称、分类、图片、位置、车位状态、停车价格、车位详情查看等操作,如图5-10所示。

62.PNG

图5-10前台车位信息界面图

论坛交流,通过内容列表可以进行评论、回复等操作,如图5-11所示。

63.PNG

图5-11论坛交流界面图

个人中心,通过内容列表可以获取用户名、密码、姓名、性别、头像、手机、车牌号码等信息可进行增、删、改或查看我的发布、我的收藏等操作,如图5-12所示。

64.PNG

图5-12个人中心界面图

用户登录, 用户通过输入用户名,密码,角色等信息进行系统登录,如图5-13所示。

65.PNG

图5-13用户登录界面图

用户后台,用户进入后台查看列表可以获取首页、个人中心、入场停车管理、出场缴费管理、投诉建议管理、违规处罚管理、我的收藏管理等操作,如图5-14所示。

66.PNG

图5-14用户后台界面图

个人中心,在个人中心页面通过填写原密码、新密码、确认密码等内容并可根据需要对个人中心信息进行查看,如图5-15所示。

67.PNG

图5-15个人中心界面图

个人信息,在个人信息页面可以编辑用户名、密码、姓名、性别、头像、手机、车牌号码等内容,并可根据需要对个人信息详细添加、修改、删除操作,如图5-16所示。

68.PNG

图5-16个人信息界面图

入场停车管理,在入场停车管理页面可以查看车位编号、车位名称、图片、位置、停车价格、车位状态、入场时间、入场备注、用户名、手机、车牌号码、审核回复、审核状态等内容,并可根据需要对入场停车管理查看详细内容等操作,如图5-17所示。

69.PNG

图5-17入场停车管理界面图

投诉建议管理,在投诉建议管理页面可以查看标题编号、图片、发布日期、用户名、手机、内容详情等内容,并可根据需要对投诉建议管理查看详细内容等操作,如图5-18所示。

70.PNG

图5-18投诉建议管理界面图

我的收藏管理,在收藏管理页面可以查看 收藏ID 表名 收藏名称、收藏图片等等内容,如图5-19所示。

71.PNG

图5-19我的收藏管理界面图

6 系统测试

6.1系统测试的目的

程序设计不能保证没有错误,这是一个开发过程,在错误或错误的过程中都是难以避免的。虽然这是不可避免的,但我们不能使这些错误始终存在于系统中,错误可能会造成无法估量的后果,如系统崩溃,安全信息泄露,系统无法正常启动等,为了避免这些问题我们需要测试程序,在测试过程中发现问题并纠正它们,从而使系统更长时间稳定成熟。

本章的作用是发现这些问题,并对其进行修改,虽然耗时费力,但对于长期使用而言是非常重要和必要系统的开发。

软件在设计后必须进行测试,调试过程中使用的方法是软件测试方法。在开发新软件时,系统测试是检查软件是否合格的关键步骤,以及是否符合设计目标的参考。测试主要是查看软件中数据的准确性,正确的操作与否,以及操作的结果,还有哪些方面需要改进。

停车场管理系统的实现,对于系统中功能模块的实现及操作都必须通过测试进行来评判系统是否可以准确的实现。在停车场管理系统正式上传使用之前必须做的一步就是系统测试,对于测试发现的错误及时修改处理,保证系统准确无误的供给用户使用。

6.2系统测试方法 在对停车场管理系统进行测试的时候在找到问题的情况下必须在第一时间找到解决问题的办法,不要存在侥幸的心理,这样才能让停车场管理系统开发的质量可以过关,并且开发的周期会大大缩短,还有就是在测试时,不要出现重复性的错误,遇到一个错误问题,要将整个停车场管理系统 开发所牵扯的该问题都必须一一解决,提高停车场管理系统平台的安全性、稳定性。

白盒测试与黑盒测试是测试中比较常用的两种方法。

①结构测试俗称白盒测试:这种测试是在对程序的处理过程与结构都有详尽谅解的前提下,顺从程序内部的逻辑而完成的系统测试,以确定系统中所有的通路都能够遵照设计要求正常工作,不出现任何偏差。

②功能测试又成黑盒测试:主要是针对程序功能能够按照设计正常实现的一种检测,在程序接口处进行,检测程序手法数据是否正常,与外部信息的交换是否完整。

6.3 测试结果 经过对一系列测试结果的有效分析,本平台开发系统符合用户的要求和需求。所有的基本功能相对齐全,操作起来简单方便,测试系统性能良好,作为大众化系统使用是比较值得推广宣传的。

点赞+收藏+关注 → 私信领取本源代码、数据库 ————————————————