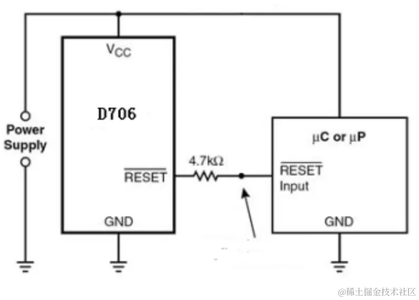
应用方案 | D706低功耗微处理器复位检测电路 青牛科技vxQNKJSY 2024-03-01 164 阅读1分钟 近年来,微处理器在IT业控制领域和智能化产品中得到了广泛的应用。在系统和产品的开发设计过程中,为了提高其抗干扰能力,使用uP监控是首选技术措施之一。监控芯片可为系统提供上电、掉电复位功能,也可提供其它功能,如后备电池管理,存储器保护、低电压告警或看门狗等。 二 基本参数 三 应用方案 A)、应用图 B)、测试RESET的温度特性如下 D706微处理器监控芯片具有功能多、功耗低的特点。且工作温度范围宽(-40℃~+80℃),性价比高,并可与MAXIM、AD等公司的uP监控产品兼容。