WGCLOUD运维平台功能介绍(完整精华版)

366 阅读3分钟

WGCLOUD是一款开源免费的运维监控软件,具有设计严谨,功能丰富,部署简单,上手学习容易,性能强悍,免费开源开放等特点

1、WGCLOUD可以监控各种主机,包括物理机、实体机、虚拟机、云主机等主机或者服务器

监控指标数据包括:操作系统信息,主机IP,主机名称,MAC地址,进程数量,启动时间,运行时间,吞吐量流量,系统版本,CPU型号,内存大小,内存使用率,cpu核数,cpu使用率,系统负载值,连接数量,磁盘空间,磁盘IO,网络流量速率,交换区内存信息,硬盘SMART等

cpu温度监控(某些操作系统不支持),硬盘监控,硬盘的通电时间、通电次数、硬盘温度监控(需要安装smartmontools工具)

2、WGCLOUD可以监控FTP或者SFTP的连通性

3、监控进程应用

监测进程的内存%,cpu%,线程数量,PID,吞吐量,进程所有者,连接数量,启动时间等指标

4、监控docker容器

5、监控日志文件,支持log,txt,out等类型,发现告警关键字符就会告警

6、文件防篡改保护监测(监测文件或文件夹,是否被篡改或删除)

7、监控端口,监控目标IP的端口是否可连通

8、自定义监控项(可以自定义指令或脚本,agent定期执行反馈结果,支持表达式告警)

9、数据监控

监控数据库和数据表,并对监控结果数据可视化,支持自定义书写sql语句,支持自定义监控间隔时间,支持表达式告警

10、监控服务接口(GET和POST)

支持监控间隔时间自定义

11、指令下发批量执行

通过server来给多个主机下发指令,指令支持同时下发多条,支持立即下发和定时下发,支持设置天数连续执行指令

12、强大灵活的告警机制

支持开关,阈值,时间段等配置,支持自定义主机告警配置,支持邮件、微信、钉钉、短信等,告警恢复后也会通知

13、巡检报告

系统会自动生成巡检日报、周报、月报,并支持导出excel

14、网络拓扑图

主机网络拓扑图,系统自动生成

15、资产管理

16、K8S监测、中间件Kafka监测、中间件Redis监测、Nginx日志检测

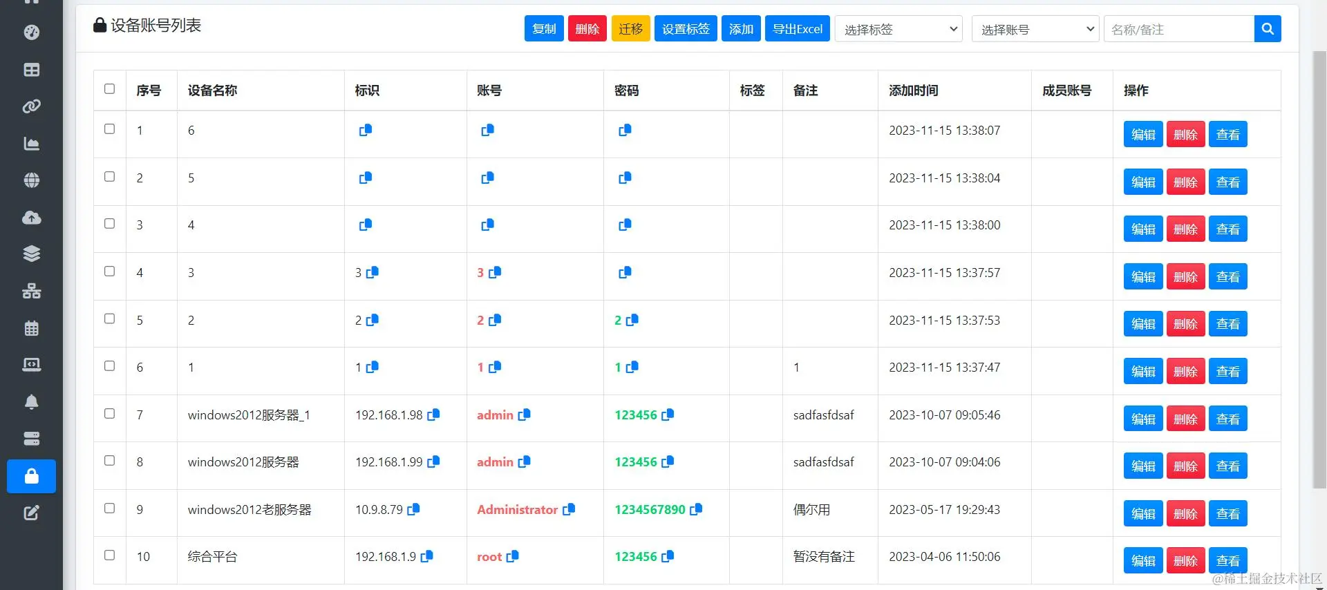
17、设备账号管理

18、PING监测

可以PING监测是否连通,比如链路,打印机,数通设备,路由器,交换机,摄像头等,支持自定义监控间隔时间

19、SNMP监测

可以用来监测交换机、防火墙等网络设备的流量、速率、cpu、内存、磁盘占用、电压、温度等指标,支持自定义监控间隔时间

20、大屏展板

21、主机异常进程监测

主要用于监测主机内存或cpu使用率过高的进程,支持结束进程

22、常用命令笔记

此模块主要用于记录常用的命令,也可以作为记事本使用