WordPress果果安全卫士插件

139 阅读2分钟

果果安全卫士是一款支持统计和防护2大功能的插件。统计功能支持全球IP(IPv4和IPv6)定位,可以定位到地级行政区。防护功能支持IP拦截、地区拦截、UserAgent拦截,同时支持限速拦截。

插件地址:www.ggdoc.cn/plugin/15.h…

统计IP功能:

  1. 网站开启了代理、网站使用了静态缓存,都可以使用插件统计IP。
  2. 支持全球IP(IPv4和IPv6)定位,可以获取到IP对应的地区。IP定位功能不依赖于第三方接口,放心使用。
  3. 支持设置搜索引擎蜘蛛IP,哪些IP为蜘蛛IP,插件设置那可以自由设置。
  4. 支持查看IP访问记录、IP统计、蜘蛛统计、浏览器统计、系统统计、URI统计、地区统计、来源统计、按天统计等功能。

本插件比第三方JS统计拥有如下几个优点:

  1. 统计数据存储在自己网站数据库里,不用担心网站数据泄露。
  2. 如果懂数据库查询命令,可以自行使用数据库命令生成各种统计报表。
  3. 本插件可以统计到国外IP位置,更能统计到蜘蛛IP、采集IP等JS统计无法统计到的IP。
  4. 更重要的是:夜晚不用担心用户访问网站,跳转到第三方非法网站链接,本插件安全无后门,请放心使用。

防护功能:

  1. 基本防护功能:支持蜘蛛IP优先放行、IP访问次数限制(一段时间内)、访问链接长度限制、拦截UserAgent为空。
  2. 白名单和黑名单功能:支持验证IP、验证地区、验证UserAgent、验证来源页面链接。白名单与黑名单功能区别:白名单是设置全部都通过验证,才算通过白名单验证。通过白名单验证的IP将会被放行,可以正常浏览网站。黑名单是只要有1个设置通过验证,就算通过黑名单验证。通过黑名单验证的IP将会被拦截,不可以浏览网站。
  3. IP被拦截后,可以设置自定义响应状态码。状态码为301和302,可以设置IP拦截后,跳转到指定链接。状态码为200和503,可以设置IP拦截后,显示自定义拦截信息。

插件截图


控制台控制台

安全检查安全检查

统计设置统计设置

访问记录访问记录

访问记录详情访问记录详情

IP统计IP统计

蜘蛛统计蜘蛛统计

浏览器统计浏览器统计

系统统计系统统计

URI统计URI统计

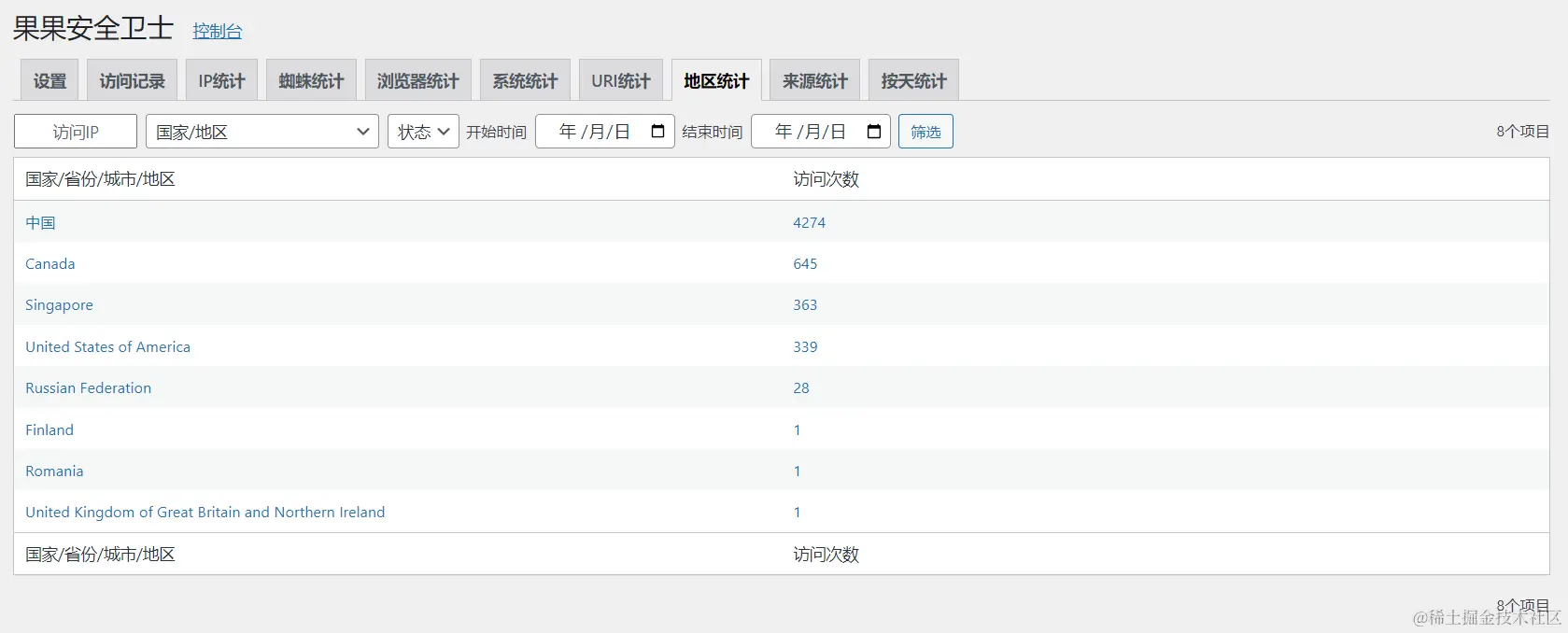
地区统计(国家/地区)地区统计(国家/地区)

地区统计(省份/地区)地区统计(省份/地区)

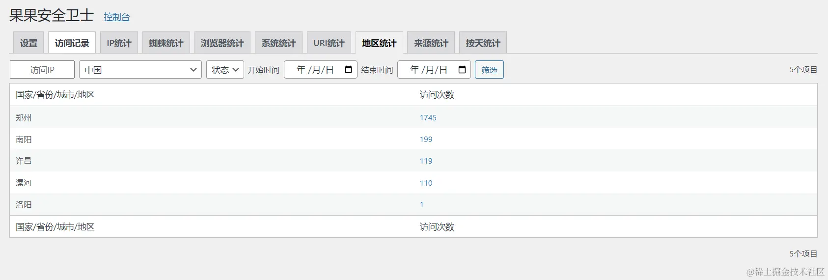
地区统计(城市/地区)地区统计(城市/地区)

来源统计来源统计

按天统计按天统计

防火墙设置防火墙设置

白名单设置白名单设置

黑名单设置黑名单设置

服务器信息服务器信息

数据库信息数据库信息

WordPress信息WordPress信息

PHP信息PHP信息

计划任务计划任务