JAVA药物不良反应(Adverse Drug Reaction,ADR)智能监测系统源码

90 阅读5分钟

药物不良反应(Adverse Drug Reaction,ADR)是指在使用合格药品时,在正常的用法和用量下出现的与用药目的无关的有害反应。这些反应往往因药物种类、使用方式、个体差异等因素而异,可能导致患者身体不适、病情恶化甚至死亡。 为保障患者用药安全,及时发现药物不良反应迹象,亟需一套智能化监测系统主动监测预警,辅助医务人员发现不良反应,提高药品安全水平,保障人民的身体健康。

ADR智能监测系统由系统管理、规则管理、监测报告三个大的功能模块组成。方便药师维护监测规则知识库,以及监测主题库,提高临床工作效率。

1704533760265.jpg

用户管理

能够实现对系统用户的统一管理,方便系统用户的添加、编辑、删除等,具体功能如下: 1、支持自定义添加、删除、编辑系统用户。 2、支持对用户姓名、部门、性别、电话、状态等信息进行编辑。

角色管理

能够实现系统的安全策略要求,对功能封装成角色,方便系统授权,按需分配功能,增加隔离效果,具体功能如下: 1、支持对角色自定义添加、删除、编辑。 2、支持对角色包含的权限自定义编辑。

不良反应主题管理.jpg

功能管理

系统预设的基础功能,有权限的用户可以支持对系统功能菜单信息,诸如名称进行编辑,一般不需要更改。

指标管理

系统支持每天自动从目标系统获取医院在用的所有检验指标,以供制作监测的规则,具体功能如下: 1、系统支持自动同步以及手工同步院内正在使用的检验指标。 2、支持自定义添加指标,并且可以定义指标类型。

指标规则管理

系统支持对已经获取的检验指标变更成为可审核的规则,用户可以自定义选择目标指标,针对检验指标的监测类型进行编辑,比如是区间类型的、大于等于、小于等于,差值型的,可以灵活制作,具体功能如下: 1、系统支持查询、新增指标规则。 2、支持对任意检验指标阈值进行编辑,形成监测指标规则。 3、差值型比较复杂,需要设置监测区间。

抗菌药送检记录.jpg

药品管理

系统支持每天自动从目标系统获取药品字典,便于用户查看、标记药品的属性,另一个可以关联检验指标,精准定位药品和指标之间的关联关系,可以从药品的视图查看有哪些主题,也可以从主题的视图,查看有哪些药品与之相关,具体功能描述如下: 1、系统支持自动同步以及手工同步院内正在使用的药品信息。 2、支持对药品基本信息进行编辑。 3、支持药品与监测主题进行关联。

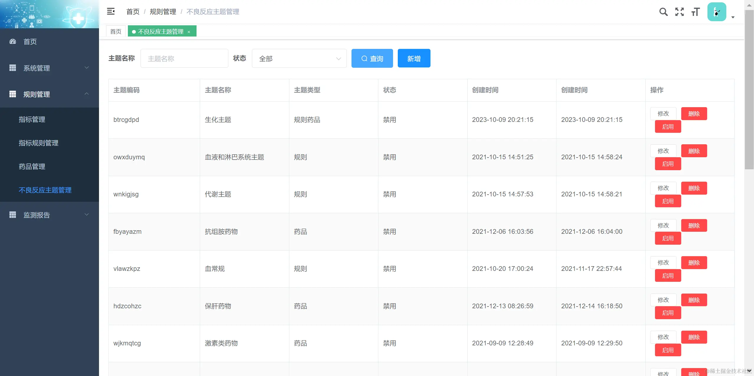
药品不良反应主题管理

系统支持对任意主题的新增、编辑、删除等,可以对临床已知不良反应归类,明确不良反应类型,比如肝功能相关、肾功能相关、淋巴相关等等,可以按照类别精准维护与之对应的指标和关联药品,实现精确审核,具体功能如下: 1、支持查询、任意新增不良反应监测主题。 2、支持主题名称、类型、关联监测检验指标、关联药品自定义编辑,主题类型支持药品为主和规则为主两种类型。 3、系统支持用药前后联合判断,精确定位ADR源头。

不良反应报告

系统每天自动监测的结果,以二维图表的方式呈现给用户,可以实现多维度的查询,以及对不良反应数据判定,比如是否为假阳性,并且可以详细看到患者的相关的数据,比如医嘱以及用药历程、检验指标以及趋势图,辅助药师快速决策,具体功能如下: 1、支持按照监测日期、病人ID、病人姓名、住院号、科室、监测主题、不良反应状态进行查询不良反应患者。 2、详情页能看到患者基本信息、监测结果、指标数据、医嘱数据。 3、支持对监测指标展示趋势图、服用药品历程图。

数据分析与信号识别引擎.png

监测任务管理

系统对每天监测的情况进行记录,用户可以方便查看当天任务的执行情况,如果发现失败,调整后,可以重复执行,提高系统可用性,具体功能如下: 1、支持按照监测日期、任务状态查询任务执行历史。 2、可以对历史任务手工重复执行。

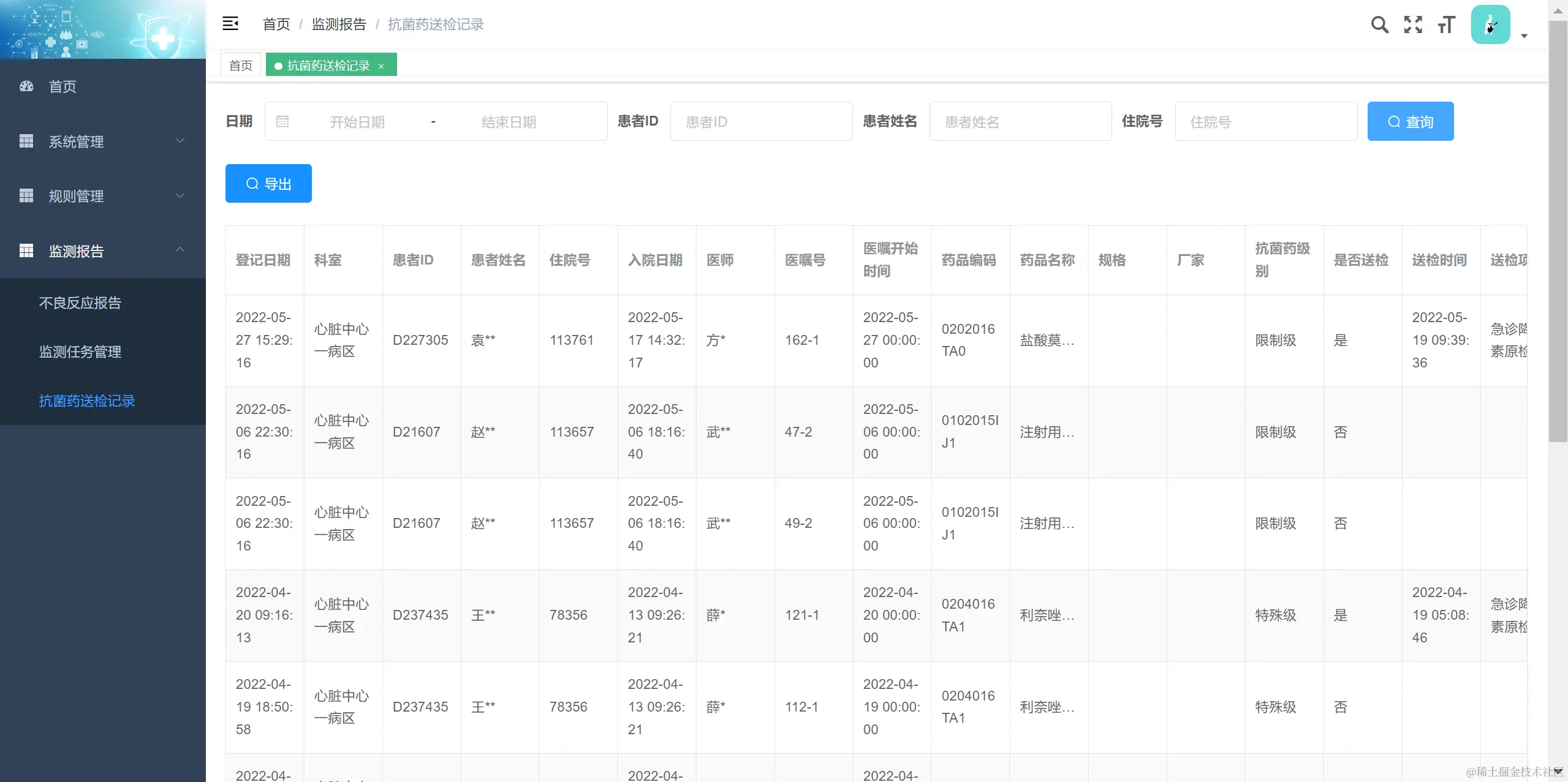
抗菌药送检记录

1、系统提供院内HIS系统送检判断接口和保存接口,记录抗菌药用药目的。 2、系统提供医嘱用药目的展示、送检展示,以及提供筛选。

系统开发环境

技术架构:B/S

开发语言:Java

开发工具:IntelliJ IDEA

前端框架:Vue

后端框架:SpringBoot

数 据 库:MySQL