纯css实现elementUI Table组件表头吸顶效果

1,948 阅读3分钟

回顾🤔️

去年我在掘金post了一篇文章《elementUI Table组件实现表头吸顶效果》,今年我在空闲的时间想了一下能不能只通过修改CSS来实现吸顶,所以有了这一篇文章。

回顾一下 element 表格吸顶遇到的一些难题,主要是当表格有fixed列的时候,fixed列其实也是一个表格,且是absolute定位的。如图所示,fixed节点和正常的表头的节点在同一个层级。现在要考虑的是如何不改变dom结构不添加js的情况下实现比较好效果的吸顶。

image.png

开始编码💪

环境:vue 2.6+
首先,表头还是要做样式的吸顶,也就是el-table_header-wrapper这个节点要做吸顶的样式。这个还是比较简单的。由于吸顶的高度我们想要动态指定,所有我们定义一个v-sticky-table-header的指令,指令的值是吸顶的高度值。另外,因为主要是对样式的调整,不想对表头的节点操作太多,所以吸顶高度的变量主要会用CSS变量实现。具体代码如下:

export default {
  bind(el, binding) {
    el.setAttribute('is-sticky', true)
    updateStickyTop(el, binding)
  },
  update(el, binding) {
    updateStickyTop(el, binding)
  }
}

const updateStickyTop = (el, binding) => {
  const { value, oldValue } = binding
  if (value === oldValue) return

  const top = Number(value)
  if (!isNaN(top)) {
    el.style.setProperty('--sticky-top', `${top}px`)
  }
}

当使用指令的时候,修改顶层节点,包括增加is-sticky属性以及style增加CSS变量--sticky-top,使用scss样式如下:

.el-table[is-sticky] {
  overflow: initial;
  --sticky-top: 0px;
  --stick-zIndex: 5;

  .el-table__header-wrapper{
    position: sticky;
    top: var(--sticky-top);
    z-index: var(--stick-zIndex);
  }
}
  1. 完成了简单表头的样式吸顶之后,开始考虑fixed列表格的吸顶。由于fixed节点其实也是一个比较完整的 headerTable + bodyTable 的组合,考虑一下让headerTable节点进行单独的吸顶。新增样式如下:(为了可以吸顶父节点overflow: visible;,子节点控制宽度overflow:hidden,headerTable节点sticky定位)
.el-table__fixed, .el-table__fixed-right{
  overflow: visible;
  .el-table__fixed-header-wrapper {
    position: sticky;
    top: var(--sticky-top);
    width: 100%;
    overflow: hidden;
    z-index: var(--stick-zIndex);
  }
  .el-table__fixed-body-wrapper {
    width: 100%;
    overflow: hidden;
  }
}

image.png

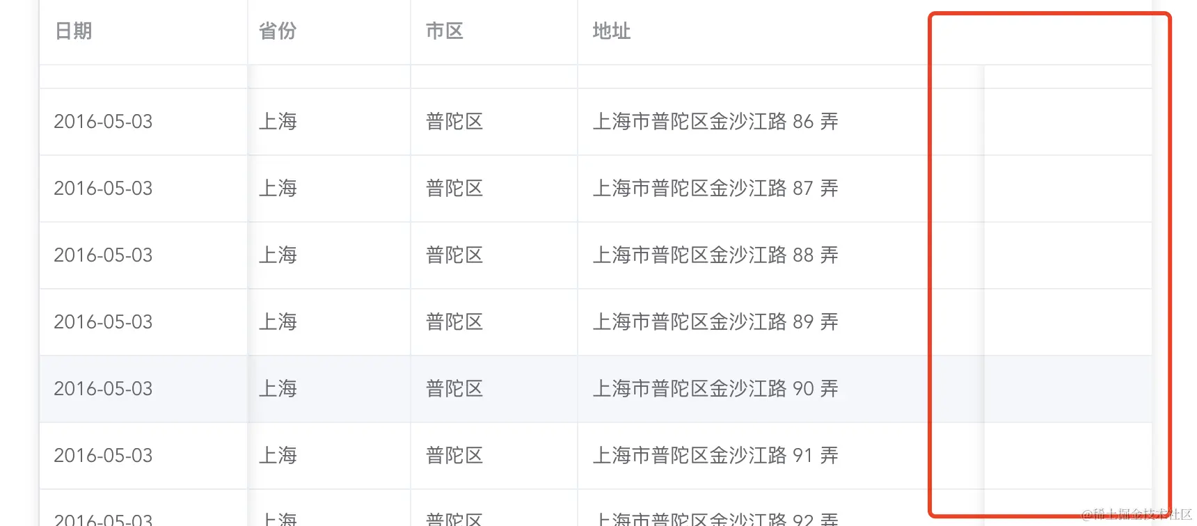
效果如下图,右侧fixed列可以看到表头和表体的内容都消失不见了,排查到原因是右侧这里的fixed列由于加了is-hidden样式所以内容看不见。去掉is-hidden里面visibility:hidden;的样式就能看到内容,但是显示的是日期也就是表格第一列的内容。

image.png

  1. 显示最后一列“邮编”的表头和内容。使用flex布局,优先显示右边的内容。
.el-table__fixed-right {
  .el-table__fixed-header-wrapper {
    display: flex;
    justify-content: flex-end;
  }
  .el-table__fixed-body-wrapper {
    display: flex;
    justify-content: flex-end;
  }
}

image.png 4. 调整fixed列box-shadow样式

.el-table__fixed {
  --box-shadow: 10px 0 10px -10px rgba(0, 0, 0, 0.12);
}

.el-table__fixed-right {
  --box-shadow: -10px 0 10px -10px rgba(0, 0, 0, 0.12);
}

.el-table__fixed, .el-table__fixed-right {
  box-shadow: var(--box-shadow);
}

最后呈现结果🤩

image.png

在线地址 🔗

源码地址:👇

v-sticky-table-header指令
table 样式

在线demo地址:👇

demo地址