SpringBoot+Vue药品ADR不良反应智能监测系统源码

59 阅读4分钟

药品不良反应(Adverse Drug Reaction,ADR)是指合格药品在正常用法用量下出现的与用药目的无关的有害反应,不包括超说明书用药、药品质量问题等导致的不良后果。

1704533223734.jpg

ADR智能监测系统开发环境

技术架构:B/S

开发语言:Java

开发工具:IDEA     前端框架:Vue     后端框架:SpringBoot     数 据 库:MySQL

QQ截图20240106154342.png

ADR智能监测系统功能描述

系统登录

用户输入正确的用户名和密码,即可登录系统。

系统主页

登录系统后,即可显示系统主页 。

系统管理

1 、用户管理

可以自定义新增、修改、删除系统用户。

2 、角色管理

可以自定义新增、修改、删除角色,严格按照权限管理,提高系统安全性,分配必要的权限给相应的用户。

3 、功能管理

可以对功能菜单进行修改、删除操作。

不良反应报告.jpg

规则管理

(1)指标管理

1.默认从系统自动同步监测指标字典,比如谷丙转氨酶、谷草转氨酶等,用户也可以自己新增监测指标。 2.支持手工同步检验字典信息。 3.支持编辑检验指标信息。

(2) 指标规则管理

用户可以新增要重点监测的检验、体征指标,也可以删除、编辑已有的指标。

1.用户可以编辑指标的监测阈值,大于、小于、范围之内、范围之外、差值类型。 2.差值类型比较复杂,监测区间,监测多久范围内的指标,差值范围落在设置的范围才会触发。

(3)药品管理

1.用户可以以药品维度查询、编辑监测主题。 2.系统支持维护药品基本信息。 3.支持界面手工同步药品信息。

点击“配置”,弹出主题选择,比如该药品与“肝主题”关联,如果系统触发“肝功能”规则,系统会主动分析,是否开立了该相关医嘱,提高系统监测准确性。

监测报告.jpg

不良反应主题管理

可以自定义新增、编辑、删除监测主题,比如“肝主题”、“肾主题”等。

1、定义主题后,主题内,进行监测指标的逻辑组合,监测指标的规则在指标规则管理中已定义,还可以增加关联药品,代表使用这些药品会疑似导致不良反应。规则之间,可以增加逻辑关系。

2、监测区间,判定医嘱开立时间和检验抽样时间的差值。

用户可以定义以药品为监测的维度,重点监测“抗过敏药品”,主动发现,“规则为主”和“药品为主”,双管齐下,全方面主动监测。

监测报告

1 、不良反应报告

系统每天自动运行,根据规则主动寻找潜在的不良反应患者,命中后,自动展示,可以根据日期、患者ID、姓名、住院号等条件检索。 药师可以对机器判断结果二次确定,是否为不良反应。

抗菌药送检记录.jpg

点击查看,弹出详情,“患者信息”页签,展示患者的基本信息。 还可以展示异常指标的住院期间趋势图,以及医嘱的使用周期。

  “监测结果”,展示符合规则的监测指标,命中的检查指标。

“指标数据”,展示患者住院期间的所有检验指标,异常自动标记。

“医嘱数据”,展示患者住院期间所有医嘱信息。

2 、监测任务管理

用户可以查看任务执行情况。

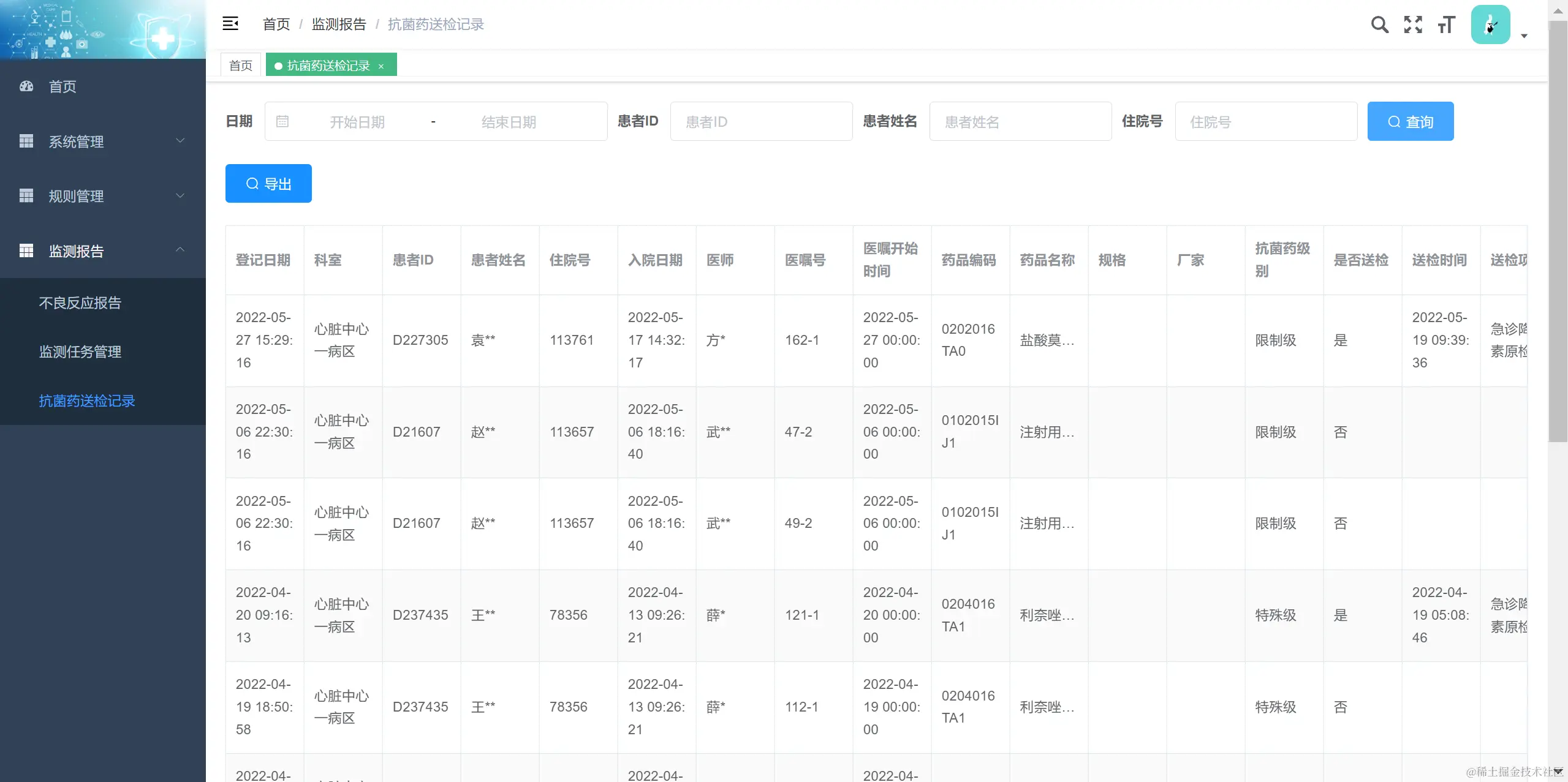
指标管理.jpg   3 、抗菌药送检记录

系统提供送检判断接口供第三方调用,判断医嘱是否已送检。

传统ADR监测存在一些问题:一是漏报率高,上报的数量远低于实际发生的ADR数量。二是自发呈报通常时间滞后,可能会延误ADR的及时处置。三是新的、严重的ADR上报比率低,对药品的上市后安全监测意义不大。四是报表填写不规范,上报的报表无法用于统计分析。这些问题导致传统的ADR监测具有信息采集不全面、问题处理不及时、数据统计不准确等缺陷,难以杜绝药品不良反应事件的持续、反复发生。

信息化智能监测,ADR监测的必然趋势

近年来,伴随着医改的深入,医院信息化建设发生巨大变化,逐步深化。在政策要求与实际需求的双轮驱动下,医院的数据利用意识全面觉醒,数字化改革与医院领域纵深融合,系统性、智能化的需求成为趋势。