Nodejs项目部署到华为云服务器并上线超详细教程

752 阅读3分钟

由于是第一次做Nodejs项目,发现网上关于Nodejs项目部署服务器的教程的质量参差不齐,对于初学者很不友好,看了一堆教程,最后还是不会,一头雾水,所以决定自己写一个详细教程,方便以后学习查看并记录。

废话不多说,正文正式开始;

第一步:首先要白嫖一个服务器(学习用,不想花钱)

首先要白嫖一个试用的云服务器,阿里、百度、华为、腾讯等等这些主流的云服务器厂商都是由试用产品的,各家试用期限各不相同,下面列举几家的试用产品地址:

阿里云:free.aliyun.com/?crowd=pers…

腾讯云:cloud.tencent.com/act/free

华为云:activity.huaweicloud.com/free_test/i…

我在这里使用的是华为云的云耀云服务器 HECS,试用期大约是一个月。

注意:如果是第一次使用服务器,不建议选择linux相关的系统的服务器,尽量选择windows server中文版系统,这样对于初学者会比较友好,可以很方便进行原有项目的迁移。

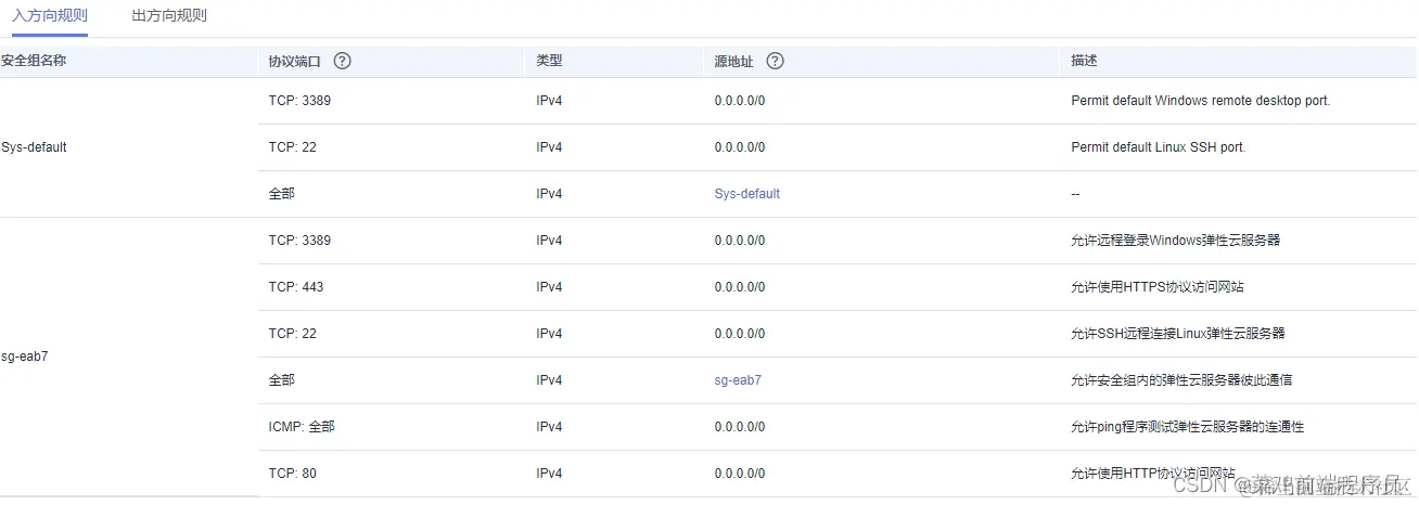
第二步:配置安全组规则

配置安全组规则是是否能正常访问你的项目的关键步骤,各家服务器叫法不一,这里以华为云为例。

  • 默认安全组 在这里插入图片描述 在这里插入图片描述

很明显这些规则没有8080端口(如果项目端口是默认的话),必须开放对应的端口,项目才能够正常访问和使用。

  • 添加新安全组入口方向规则 入口方向规则需要配置包括但不限于FTP访问等端口开放规则 入口方向规则需要配置包括但不限于FTP访问等端口开放规则,例如FTP访问常用的21等端口。

  • 添加新安全组出口方向规则 在这里插入图片描述

出口方向规则需要将对外访问常用ip以及端口进行开放处理,例如80端口等等。

注意:要快速批量选择添加规则,可以选择“快速添加规则”,想要ping服务器公网ip必选将ICMP规则添加后才能正常访问。

在这里插入图片描述 在这里插入图片描述

  • 到此为止,服务器部分常规配置就修改完毕

第三步:Nodejs项目部署华为云服务器前期准备工作

  • 重置云服务器密码(设置为常用密码) 在这里插入图片描述

  • 登录windows云服务器(推荐使用远程桌面连接(MSTSC方式)) 远程桌面连接(MSTSC方式):support.huaweicloud.com/usermanual-…

  • 安装git git下载地址:git.p2hp.com/

  • 安装Workbench

  • 安装Node.js:nodejs.cn/

  • pm2安装(pm2具有自动重启进程、监控运行情况、多进程管理等功能)

npm install -g pm2

第四步:Nodejs项目部署华为云服务器上线

  1. 本地Mstsc方式连接云服务器。
  2. 将本地Nodejs项目上传到gitee。
  3. 在云服务器通过git克隆Nodejs项目。
  4. 对克隆的Nodejs项目进行还原 npm i。
  5. 通过pm2启动Nodejs项目。
//node项目启动
pm2 start app.js
//项目监听
pm2 start app.js --watch -f

在这里插入图片描述 6. 通过Apifox搭建环境,通过弹性公网ip进行API接口测试访问。 在这里插入图片描述

到此Nodejs项目部署到华为云服务器并上线超详细教程就全部完成了,如果你看到这里,并成功运行,那么恭喜你,你以成功将你的项目上线。

本文原创,原创不易,如需转载,请联系作者授权。