Java框架-线程池

63 阅读11分钟

线程池概念

线程池: 简单理解,它就是一个管理线程的池子。

  • 它帮我们管理线程,避免增加创建线程和销毁线程的资源损耗。因为线程其实也是一个对象,创建一个对象,需要经过类加载过程,销毁一个对象,需要走GC垃圾回收流程,都是需要资源开销的。
  • 提高响应速度。 如果任务到达了,相对于从线程池拿线程,重新去创建一条线程执行,速度肯定慢很多。
  • 重复利用。 线程用完,再放回池子,可以达到重复利用的效果,节省资源。

线程池的创建

线程池可以通过ThreadPoolExecutor来创建,我们来看一下它的构造函数:

pubic ThreadPoolExecutor(
int corePoolSize, 
int maximumPoolSize,
long keepAliveTime,
TimeUnit unit,
BlockingQueue<Runnable> workQueue,
ThreadFactory threadFactory,
RejectedExecutionHandler handler) 

几个核心参数的作用:

  • corePoolSize: 线程池核心线程数最大值
  • maximumPoolSize: 线程池最大线程数大小
  • keepAliveTime: 线程池中非核心线程空闲的存活时间大小
  • unit: 线程空闲存活时间单位
  • workQueue: 存放任务的阻塞队列
  • threadFactory: 用于设置创建线程的工厂,可以给创建的线程设置有意义的名字,可方便排查问题。
  • handler: 线城池的饱和策略事件,主要有四种类型。

任务执行

线程池执行流程,即对应execute()方法:

1.jpg

  • 提交一个任务,线程池里存活的核心线程数小于线程数corePoolSize时,线程池会创建一个核心线程去处理提交的任务。
  • 如果线程池核心线程数已满,即线程数已经等于corePoolSize,一个新提交的任务,会被放进任务队列workQueue排队等待执行。
  • 当线程池里面存活的线程数已经等于corePoolSize了,并且任务队列workQueue也满,判断线程数是否达到maximumPoolSize,即最大线程数是否已满,如果没到达,创建一个非核心线程执行提交的任务。
  • 如果当前的线程数达到了maximumPoolSize,还有新的任务过来的话,直接采用拒绝策略处理。

四种拒绝策略

  • AbortPolicy(抛出一个异常,默认的)
  • DiscardPolicy(直接丢弃任务)
  • DiscardOldestPolicy(丢弃队列里最老的任务,将当前这个任务继续提交给线程池)
  • CallerRunsPolicy(交给线程池调用所在的线程进行处理)

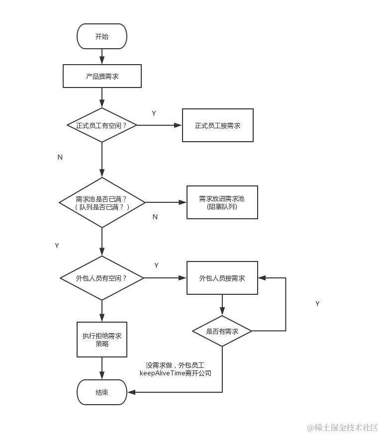
为了形象描述线程池执行,我打个比喻:

  • 核心线程比作公司正式员工
  • 非核心线程比作外包员工
  • 阻塞队列比作需求池
  • 提交任务比作提需求

2.png

  • 当产品提个需求,正式员工(核心线程)先接需求(执行任务)
  • 如果正式员工都有需求在做,即核心线程数已满),产品就把需求先放需求池(阻塞队列)。
  • 如果需求池(阻塞队列)也满了,但是这时候产品继续提需求,怎么办呢?那就请外包(非核心线程)来做。
  • 如果所有员工(最大线程数也满了)都有需求在做了,那就执行拒绝策略。
  • 如果外包员工把需求做完了,它经过一段(keepAliveTime)空闲时间,就离开公司了。

线程池异常处理

在使用线程池处理任务的时候,任务代码可能抛出RuntimeException,抛出异常后,线程池可能捕获它,也可能创建一个新的线程来代替异常的线程,我们可能无法感知任务出现了异常,因此我们需要考虑线程池异常情况。

当提交新任务时,异常如何处理?

我们先来看一段代码:

       ExecutorService threadPool = Executors.newFixedThreadPool(5);

        for (int i = 0; i < 5; i++) {

            threadPool.submit(() -> {

                System.out.println("current thread name" + Thread.currentThread().getName());

                Object object = null;

                System.out.print("result## "+object.toString());

            });

        }

显然,这段代码会有异常,我们再来看看执行结果

3.jpg

虽然没有结果输出,但是没有抛出异常,所以我们无法感知任务出现了异常,所以需要添加try/catch。如下图:

4.jpg

OK,线程的异常处理,我们可以直接try...catch捕获。

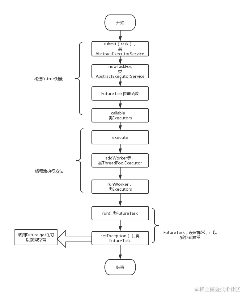
线程池exec.submit(runnable)的执行流程

通过debug上面有异常的submit方法(建议大家也去debug看一下,图上的每个方法内部是我打断点的地方),处理有异常submit方法的主要执行流程图:

5.png

 //构造feature对象
  /**
     * @throws RejectedExecutionException {@inheritDoc}
     * @throws NullPointerException       {@inheritDoc}
     */
    public Future<?> submit(Runnable task) {
        if (task == null) throw new NullPointerException();
        RunnableFuture<Void> ftask = newTaskFor(task, null);
        execute(ftask);
        return ftask;
    }

     protected <T> RunnableFuture<T> newTaskFor(Runnable runnable, T value) {
        return new FutureTask<T>(runnable, value);
    }

     public FutureTask(Runnable runnable, V result) {
        this.callable = Executors.callable(runnable, result);
        this.state = NEW;       // ensure visibility of callable

    }

       public static <T> Callable<T> callable(Runnable task, T result) {
        if (task == null)
            throw new NullPointerException();
        return new RunnableAdapter<T>(task, result);

    }

    //线程池执行

     public void execute(Runnable command) {
        if (command == null)
            throw new NullPointerException();
               int c = ctl.get();
        if (workerCountOf(c) < corePoolSize) {
            if (addWorker(command, true))
                return;
            c = ctl.get();
        }
        if (isRunning(c) && workQueue.offer(command)) {
            int recheck = ctl.get();
            if (! isRunning(recheck) && remove(command))
                reject(command);
            else if (workerCountOf(recheck) == 0)
                addWorker(null, false);
        }else if (!addWorker(command, false))
            reject(command);
    }

    //捕获异常

    public void run() {
        if (state != NEW ||
            !UNSAFE.compareAndSwapObject(this, runnerOffset,
                                         null, Thread.currentThread()))
            return;
        try {
            Callable<V> c = callable;
            if (c != null && state == NEW) {
                V result;
                boolean ran;
                try {
                    result = c.call();
                    ran = true;
                } catch (Throwable ex) {
                    result = null;
                    ran = false;
                    setException(ex);
                }
                if (ran)
                    set(result);
            }
        } finally {
            // runner must be non-null until state is settled to
            // prevent concurrent calls to run()
            runner = null;
            // state must be re-read after nulling runner to prevent
            // leaked interrupts
            int s = state;
            if (s >= INTERRUPTING)
                handlePossibleCancellationInterrupt(s);
        }

通过以上分析,submit执行的任务,可以通过Future对象的get方法接收抛出的异常,再进行处理。 我们再通过一个demo,看一下Future对象的get方法处理异常的姿势,如下图:

6.jpg

其他两种处理线程池异常方案

除了以上1.在任务代码try/catch捕获异常,2.通过Future对象的get方法接收抛出的异常,再处理两种方案外,还有以上两种方案:

3.为工作者线程设置UncaughtExceptionHandler,在uncaughtException方法中处理异常

我们直接看这样实现的正确姿势:

ExecutorService threadPool = Executors.newFixedThreadPool(1, r -> {
            Thread t = new Thread(r);
            t.setUncaughtExceptionHandler(
                    (t1, e) -> {
                        System.out.println(t1.getName() + "线程抛出的异常"+e);
                    });
            return t;
           });
        threadPool.execute(()->{
            Object object = null;
            System.out.print("result## " + object.toString());
        });

运行结果:

7.jpg

4.重写ThreadPoolExecutor的afterExecute方法,处理传递的异常引用

这是jdk文档的一个demo:

class ExtendedExecutor extends ThreadPoolExecutor {
    // 这可是jdk文档里面给的例子。。
    protected void afterExecute(Runnable r, Throwable t) {
        super.afterExecute(r, t);
        if (t == null && r instanceof Future<?>) {
            try {
                Object result = ((Future<?>) r).get();
            } catch (CancellationException ce) {
                t = ce;
            } catch (ExecutionException ee) {
                t = ee.getCause();
            } catch (InterruptedException ie) {
                Thread.currentThread().interrupt(); // ignore/reset
            }
        }
        if (t != null)
            System.out.println(t);
    }
}}

因此,被问到线程池异常处理,如何回答?

8.jpg

线程池的工作队列

线程池都有哪几种工作队列?

  • ArrayBlockingQueue
  • LinkedBlockingQueue
  • DelayQueue
  • PriorityBlockingQueue
  • SynchronousQueue

ArrayBlockingQueue

ArrayBlockingQueue(有界队列)是一个用数组实现的有界阻塞队列,按FIFO排序量。

LinkedBlockingQueue

LinkedBlockingQueue(可设置容量队列)基于链表结构的阻塞队列,按FIFO排序任务,容量可以选择进行设置,不设置的话,将是一个无边界的阻塞队列,最大长度为Integer.MAX_VALUE,吞吐量通常要高于ArrayBlockingQuene;newFixedThreadPool线程池使用了这个队列

DelayQueue

DelayQueue(延迟队列)是一个任务定时周期的延迟执行的队列。根据指定的执行时间从小到大排序,否则根据插入到队列的先后排序。newScheduledThreadPool线程池使用了这个队列。

PriorityBlockingQueue

PriorityBlockingQueue(优先级队列)是具有优先级的无界阻塞队列;

SynchronousQueue

SynchronousQueue(同步队列)一个不存储元素的阻塞队列,每个插入操作必须等到另一个线程调用移除操作,否则插入操作一直处于阻塞状态,吞吐量通常要高于LinkedBlockingQuene,newCachedThreadPool线程池使用了这个队列。

几种常用的线程池

  • newFixedThreadPool (固定数目线程的线程池)
  • newCachedThreadPool(可缓存线程的线程池)
  • newSingleThreadExecutor(单线程的线程池)
  • newScheduledThreadPool(定时及周期执行的线程池)

newFixedThreadPool

  public static ExecutorService newFixedThreadPool(int nThreads, ThreadFactory threadFactory) {
        return new ThreadPoolExecutor(nThreads, nThreads,
                                      0L, TimeUnit.MILLISECONDS,
                                      new LinkedBlockingQueue<Runnable>(),
                                      threadFactory);
    }

线程池特点:

  • 核心线程数和最大线程数大小一样
  • 没有所谓的非空闲时间,即keepAliveTime为0
  • 阻塞队列为无界队列LinkedBlockingQueue

工作机制:

9.png

  • 提交任务
  • 如果线程数少于核心线程,创建核心线程执行任务
  • 如果线程数等于核心线程,把任务添加到LinkedBlockingQueue阻塞队列
  • 如果线程执行完任务,去阻塞队列取任务,继续执行。

实例代码

   ExecutorService executor = Executors.newFixedThreadPool(10);
                    for (int i = 0; i < Integer.MAX_VALUE; i++) {
                        executor.execute(()->{
                            try {
                                Thread.sleep(10000);
                            } catch (InterruptedException e) {
                                //do nothing
                            }
            });

IDE指定JVM参数:-Xmx8m -Xms8m :

1702861715894.png run以上代码,会抛出OOM:

10.jpg

因此,使用无界队列的线程池会导致内存飙升吗?

答案 :会的,newFixedThreadPool使用了无界的阻塞队列LinkedBlockingQueue,如果线程获取一个任务后,任务的执行时间比较长(比如,上面demo设置了10秒),会导致队列的任务越积越多,导致机器内存使用不停飙升, 最终导致OOM。

使用场景

FixedThreadPool 适用于处理CPU密集型的任务,确保CPU在长期被工作线程使用的情况下,尽可能的少的分配线程,即适用执行长期的任务。

newCachedThreadPool

   public static ExecutorService newCachedThreadPool(ThreadFactory threadFactory) {
        return new ThreadPoolExecutor(0, Integer.MAX_VALUE,
                                      60L, TimeUnit.SECONDS,
                                      new SynchronousQueue<Runnable>(),
                                      threadFactory);
    }

线程池特点:

  • 核心线程数为0
  • 最大线程数为Integer.MAX_VALUE
  • 阻塞队列是SynchronousQueue
  • 非核心线程空闲存活时间为60秒

当提交任务的速度大于处理任务的速度时,每次提交一个任务,就必然会创建一个线程。极端情况下会创建过多的线程,耗尽 CPU 和内存资源。由于空闲 60 秒的线程会被终止,长时间保持空闲的 CachedThreadPool 不会占用任何资源。

工作机制

11.jpg

  • 提交任务
  • 因为没有核心线程,所以任务直接加到SynchronousQueue队列。
  • 判断是否有空闲线程,如果有,就去取出任务执行。
  • 如果没有空闲线程,就新建一个线程执行。
  • 执行完任务的线程,还可以存活60秒,如果在这期间,接到任务,可以继续活下去;否则,被销毁。

实例代码

  ExecutorService executor = Executors.newCachedThreadPool();
        for (int i = 0; i < 5; i++) {
            executor.execute(() -> {
                System.out.println(Thread.currentThread().getName()+"正在执行");
            });
        }

运行结果:

12.jpg

使用场景

用于并发执行大量短期的小任务。

newSingleThreadExecutor

  public static ExecutorService newSingleThreadExecutor(ThreadFactory threadFactory) {
        return new FinalizableDelegatedExecutorService
            (new ThreadPoolExecutor(1, 1,
                                    0L, TimeUnit.MILLISECONDS,
                                    new LinkedBlockingQueue<Runnable>(),
                                    threadFactory));
    }

线程池特点

  • 核心线程数为1
  • 最大线程数也为1
  • 阻塞队列是LinkedBlockingQueue
  • keepAliveTime为0

工作机制

13.png

  • 提交任务
  • 线程池是否有一条线程在,如果没有,新建线程执行任务
  • 如果有,讲任务加到阻塞队列
  • 当前的唯一线程,从队列取任务,执行完一个,再继续取,一个人(一条线程)夜以继日地干活。

实例代码

  ExecutorService executor = Executors.newSingleThreadExecutor();
                for (int i = 0; i < 5; i++) {
                    executor.execute(() -> {
                        System.out.println(Thread.currentThread().getName()+"正在执行");
                    });
        }

运行结果:

1702862501900.png

使用场景

适用于串行执行任务的场景,一个任务一个任务地执行。

newScheduledThreadPool

    public ScheduledThreadPoolExecutor(int corePoolSize) {

        super(corePoolSize, Integer.MAX_VALUE, 0, NANOSECONDS,

              new DelayedWorkQueue());

    }

线程池特点

  • 最大线程数为Integer.MAX_VALUE
  • 阻塞队列是DelayedWorkQueue
  • keepAliveTime为0
  • scheduleAtFixedRate() :按某种速率周期执行
  • scheduleWithFixedDelay():在某个延迟后执行

工作机制

  • 添加一个任务
  • 线程池中的线程从 DelayQueue 中取任务
  • 线程从 DelayQueue 中获取 time 大于等于当前时间的task
  • 执行完后修改这个 task 的 time 为下次被执行的时间
  • 这个 task 放回DelayQueue队列中

实例代码

    /**
    创建一个给定初始延迟的间隔性的任务,之后的下次执行时间是上一次任务从执行到结束所需要的时间+* 给定的间隔时间
    */
    ScheduledExecutorService scheduledExecutorService = Executors.newScheduledThreadPool(1);
        scheduledExecutorService.scheduleWithFixedDelay(()->{
            System.out.println("current Time" + System.currentTimeMillis());
            System.out.println(Thread.currentThread().getName()+"正在执行");                       
        }, 1, 3, TimeUnit.SECONDS);

运行结果:

1702862687655.png

   /**
    创建一个给定初始延迟的间隔性的任务,之后的每次任务执行时间为 初始延迟 + N * delay(间隔)
    */
    ScheduledExecutorService scheduledExecutorService = Executors.newScheduledThreadPool(1);
            scheduledExecutorService.scheduleAtFixedRate(()->{
            System.out.println("current Time" + System.currentTimeMillis());
            System.out.println(Thread.currentThread().getName()+"正在执行");
        }, 1, 3, TimeUnit.SECONDS);;

使用场景

周期性执行任务的场景,需要限制线程数量的场景

线程池状态

线程池有这几个状态:RUNNING,SHUTDOWN,STOP,TIDYING,TERMINATED。

   //线程池状态
   private static final int RUNNING    = -1 << COUNT_BITS;
   private static final int SHUTDOWN   =  0 << COUNT_BITS;
   private static final int STOP       =  1 << COUNT_BITS;
   private static final int TIDYING    =  2 << COUNT_BITS;
   private static final int TERMINATED =  3 << COUNT_BITS;

线程池各个状态切换图:

14.jpg

RUNNING

  • 该状态的线程池会接收新任务,并处理阻塞队列中的任务;
  • 调用线程池的shutdown()方法,可以切换到SHUTDOWN状态;
  • 调用线程池的shutdownNow()方法,可以切换到STOP状态;

SHUTDOWN

  • 该状态的线程池不会接收新任务,但会处理阻塞队列中的任务;
  • 队列为空,并且线程池中执行的任务也为空,进入TIDYING状态;

STOP

  • 该状态的线程不会接收新任务,也不会处理阻塞队列中的任务,而且会中断正在运行的任务;
  • 线程池中执行的任务为空,进入TIDYING状态;

TIDYING

  • 该状态表明所有的任务已经运行终止,记录的任务数量为0。
  • terminated()执行完毕,进入TERMINATED状态

TERMINATED

  • 该状态表示线程池彻底终止