基于springboot就业信息管理系统

147 阅读9分钟

🍅点赞+收藏+关注 → 私信领取本源代码、数据库🍅 本人在Java毕业设计领域有多年的经验,陆续会更新更多优质的Java实战项目希望你能有所收获,少走一些弯路。🍅关注我不迷路🍅

摘 要

随着信息化时代的到来,管理系统都趋向于智能化、系统化,就业信息管理系统也不例外,但目前国内仍都使用人工管理,市场规模越来越大,同时信息量也越来越庞大,人工管理显然已无法应对时代的变化,而就业信息管理系统能很好地解决这一问题,轻松应对就业信息管理的工作,既能提高人力物力财力,又能加快工作的效率,取代人工管理是必然趋势。 本就业信息管理系统以springboot作为框架,b/s模式以及MySql作为后台运行的数据库,同时使用Tomcat用为系统的服务器。本系统主要包括首页,个人中心,学生管理,导师管理,企业管理,招聘信息管理,应聘信息管理,面试邀请管理,就业指导管理,交流论坛,系统管理等功能,通过这些功能的实现基本能够满足就业信息管理管理的操作。 本文着重阐述了就业信息管理系统的分析、设计与实现,首先介绍开发系统和环境配置、数据库的设计,接着说明功能模块的详细实现,最后进行了总结。

一、绪论

1.背景及意义

科学技术日新月异的如今,计算机在生活各个领域都占有重要的作用,尤其在信息管理方面,在这样的大背景下,学习计算机知识不仅仅是为了掌握一种技能,更重要的是能够让它真正地使用到实践中去,以创新的视角去不断方便人们的生活,推动对新知识的学习,培养自学能力,锻炼动手实践的本领。现代的就业信息管理系统,也应该摆脱人工管理的模式,使用计算机技术来进行信息管理工作。所以本次系统设计的就业信息管理管理结合了文字、图像,并能实现就业信息管理的功能,这也是一般就业信息管理系统的重要的要素。就业信息管理系统经过几年的实践和总结正在往更深入的方向发展。由此,人们要改善系统功能迫在眉睫。随着科学技术的飞速发展,就业信息管理系统也要不断完善其工作流程的繁杂性、多样化、管理复杂、收缴费用与设备维护繁琐等存在的问题。所以要通过计算机胜任就业信息管理的工作,使就业信息管理系统更加准确、方便及快捷。 因此,开发出一套高效率、低差错的就业信息管理系统是十分必要。本系统主要目的是全面实现就业信息管理数字化,管理员对于不同用户的所有信息能够全部掌握,而用户能够对就业信息管理信息能够有一个直观的了解。

2.系统研究现状

现如今,就业信息管理的服务并不很完善,就是尽管实行了就业信息管理,但系统进行的管理力量远远不够,所以有很多就业信息管理工作只停留在传统的服务状态。同时,因资金有限再加上也缺少专业水平的工作人员,所以就业信息管理的管理手段较为落后,也就很难提高就业信息的管理效率,同时也就不能很好的为用户提供更为完善的服务。现在市场管理都是通过手动来进行记录及操作,不但麻烦琐碎,还经常出现错误,给广大用户带来很不便,同时也需要大量的人力、物力和财力,极大的浪费了就业信息管理的资源。就业信息管理系统是就业信息管理行业的一个重要组成部分,随着就业信息管理行业的快速发展,人们慢慢地来希望就业信息管理系统能够提供更为合理及完善的就业信息管理服务。现在,好的就业信息管理也成为广大用户们选择就业信息管理系统的关键。

3.技术栈

1.PNG

4.系统实现的功能

本次设计任务是要设计一个就业信息管理系统,通过这个系统能够满足就业信息管理功能。系统的主要功能包括:首页,个人中心,学生管理,导师管理,企业管理,招聘信息管理,应聘信息管理,面试邀请管理,就业指导管理,交流论坛,系统管理等。 管理员可以根据系统给定的账号进行登录,登录后可以进入就业信息管理系统对所有模块进行管理。包括查看和修改自己的个人信息以及登录密码。 该系统为每一个学生,企业和导师都分配了一个账号,他们通过账号的登录可以在系统中查看就业信息及对个人信息进行修改等功能。

二、系统功能的具体实现

1.前台功能模块

就业信息管理系统,进入到系统首页,可以查看首页,招聘信息,交流论坛,公告资讯,个人中心,后台管理等内容进行操作

2.PNG

学生注册;在学生注册页面中输入学生账号,密码,确认密码,学生姓名,学生电话等内容进行注册操作

3.PNG

招聘信息;在招聘信息页面中可以查看招聘编号,发布时间,岗位,岗位要求,薪资,企业账号,企业名称等内容

4.PNG

个人中心;在个人中心页面中输入学生账号,密码,学生姓名,性别,学生电话,图片等内容进行更新信息,并可以根据需要对我的发布进行详细的操作

5.PNG

2.后台功能模块

后台登录,通过填写注册时输入的用户名、密码、选择角色等信息进行登录操作

6.PNG

3.管理员功能

管理员登录进入就业信息管理系统可以查看首页,个人中心,学生管理,导师管理,企业管理,招聘信息管理,应聘信息管理,面试邀请管理,就业指导管理,交流论坛,系统管理等功能进行详细操作

7.PNG

学生管理;在学生管理页面中可以查看索引,学生账号,学生姓名,性别,电话,头像等内容,并进行详情,修改和删除等操作

8.PNG

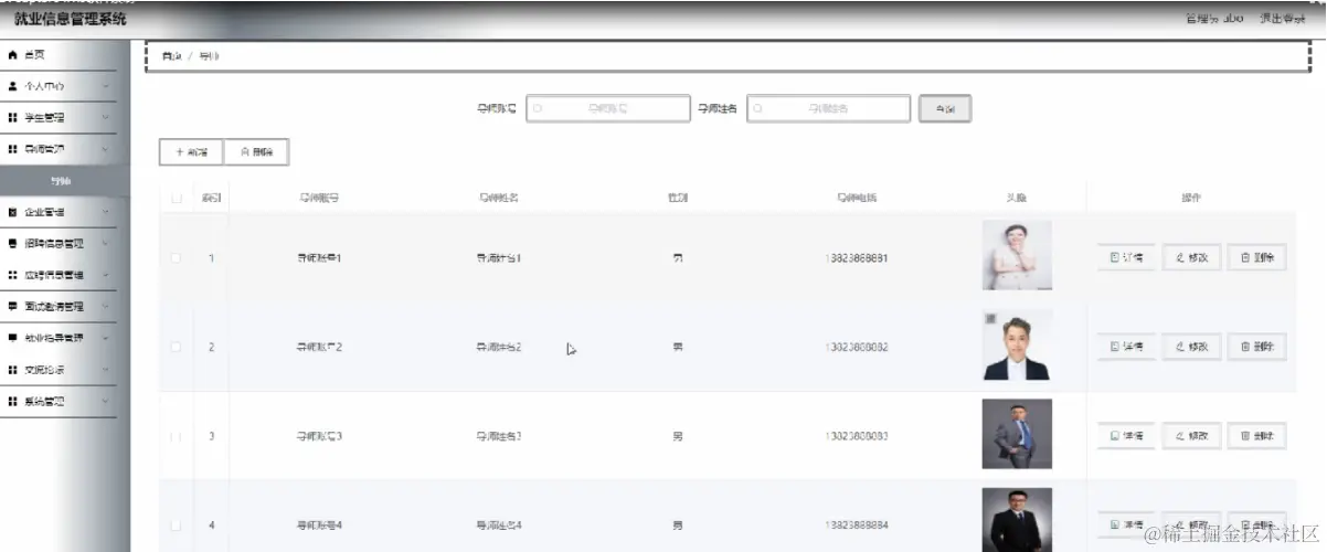
导师管理;在导师管理页面中可以查看索引,导师账号,导师姓名,性别,导师电话,头像等内容,并进行详情,修改和删除等操作

9.PNG

企业管理;在企业管理页面中可以查看索引,企业账号,企业名称,企业封面,企业电话,地址等内容,并进行详情,修改或删除等操作

10.PNG

招聘信息管理;在招聘信息管理页面中可以查看索引,照片编号,招聘标题,招聘封面,发布时间,岗位,薪资,企业账号,企业名称等内容,并进行详情,修改和删除等操作

11.PNG

应聘信息管理;在应聘信息管理页面中可以查看索引,应聘编号,招聘标题,应聘时间,岗位,学历,企业账号,企业名称,学生账号,学生姓名,审核回复,审核状态等内容,并进行详情,修改和删除等操作

12.PNG

面试邀请管理;在面试邀请管理页面中可以查看索引,面试编号,面试标题,面试时间,招聘标题,岗位,企业账号,企业名称,学生账号,学生姓名,审核回复,审核状态等内容,并进行详情,修改和删除等操作

13.PNG

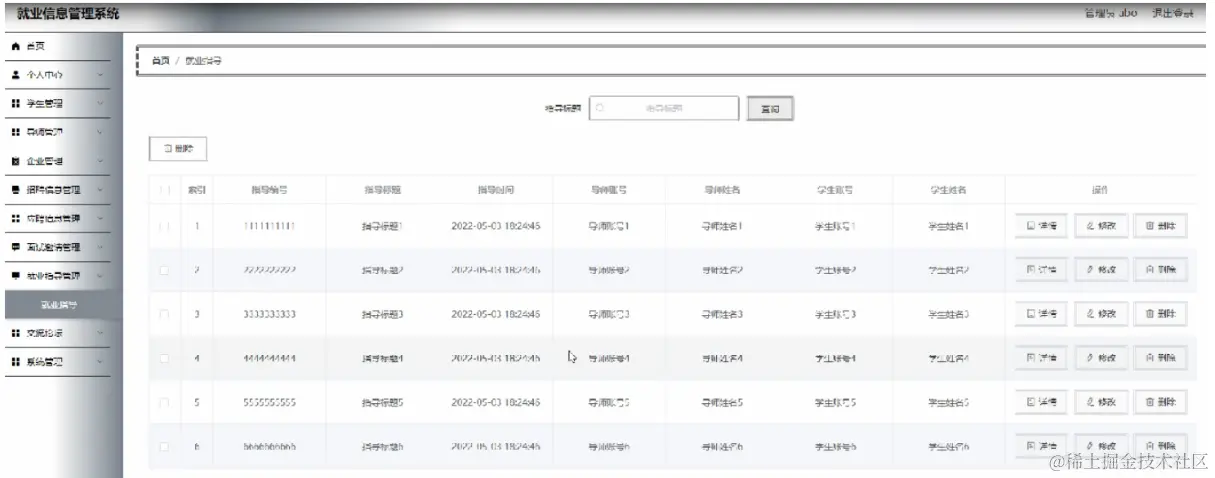
就业指导管理;在就业指导管理页面中可以查看索引,指导编号,指导标题,指导时间,导师账号,导师姓名,学生账号,学生姓名等内容,并进行详情,修改和删除等操作

14.PNG

交流论坛;在交流论坛页面中可以查看索引,帖子标题,用户名,状态等内容,并进行详情,修改,查看评论和删除等操作

15.PNG

4.学生功能

学生登录进入就业信息管理系统可以查看首页,个人中心,应聘信息管理,面试邀请管理,就业指导管理等功能进行详细操作

16.PNG

应聘信息管理;在应聘信息管理页面中可以查看索引,应聘编号,招聘标题,应聘时间,岗位,学历,企业账号,企业名称,学生账号,学生姓名,审核回复,审核状态等内容,并进行详情,修改或删除等操作

17.PNG

5.企业功能

企业登录进入就业信息管理系统可以查看首页,个人中心,学生管理,招聘信息管理,应聘信息管理,面试邀请管理等功能进行详细操作

18.PNG

招聘信息管理;在招聘信息管理页面中可以查看索引,招聘编号,招聘标题,招聘封面,发布时间,岗位,薪资,企业账号,企业名称等内容,并进行详情,修改或删除等操作

19.PNG

6.导师功能

导师登录进入就业信息管理系统可以查看首页,个人中心,学生管理,企业管理,招聘信息管理,就业指导管理等功能进行详细操作

20.PNG