NPS内网穿透

275 阅读1分钟

1.搭建公网server端

根据环境下载对应的server端,下载地址:github.com/ehang-io/np…
默认使用的是CentOS7.6服务包linux_amd64_server.tar.gz ,记住别下错

上传软件到公网环境的服务器上,我是在home中建了一个nps的文件夹, 解压缩 tar -zxvf linux_amd64_server.tar.gz,对解压后的文件赋权限 chmod -R 777 *

tar -zxvf linux_amd64_server.tar.gz
chmod -R 777 * 

image.png 安装启动之前先修改conf/nps.conf文件 image.png 在当前目录下 启动

./nps install //输入安装命令 
nps start //启动nps服务 
nps restart //重启nps服务

浏览器打开IP+8080端口,即可看到nps管理界面,用户名和密码默认是admin/123,请及时修改。

image.png

2.修改配置文件

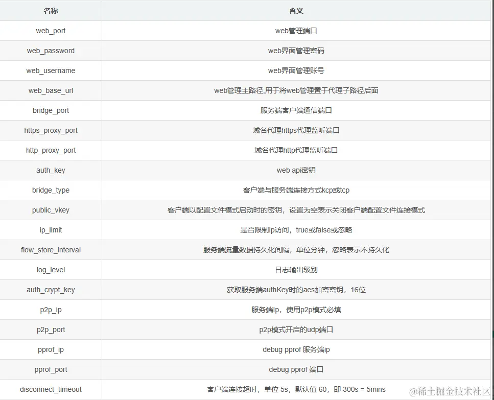
如果需要修改登录用户名,密码网页的呢牢固端口等信息,可以修改/tec/nps下的nps.conf文件,相关的参数信息可以看表格 image.png

3.新增客户端

image.png

image.png

image.png

注意拷贝的时候不需要前面的点和斜杠./ ,只拷贝后面的

npc -server=公网ip:8024 -vkey=etgzhg9c4wctuyte -type=tcp

4.本地电脑连接客户端

根据本地电脑系统,下载对用的client软件
使用windows电脑举例,下载windows_amd64_client.tar.gz

解压缩 进入下载到的文件夹 cmd输入

npc -server=公网ip:8024 -vkey=etgzhg9c4wctuyte -type=tcp

mac,我下载文件darwin_amd64_client.tar.gz 解压后进入目录终端执行

npc -server=公网ip:8024 -vkey=etgzhg9c4wctuyte -type=tcp

出现下图说明连接成功

image.png

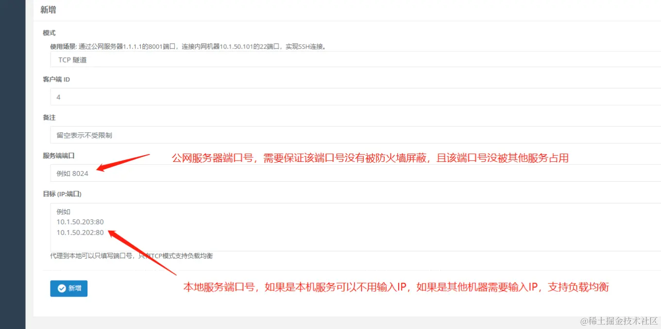
6.新建隧道

点击右侧新建隧道

image.png

image.png

此时访问公网ip加上 隧道添加的端口就能访问本机地址了

image.png blog.csdn.net/weixin_3919…